欢迎来到知嘟嘟! 联系电话:13095918853 卖家免费入驻,海量在线求购! 卖家免费入驻,海量在线求购!
知嘟嘟
我要发布
联系电话:13095918853
知嘟嘟经纪人
收藏
专利号: 2019105781109
申请人: 浙江海洋大学
专利类型:发明专利
专利状态:已下证
专利领域: 输送;包装;贮存;搬运薄的或细丝状材料
更新日期:2024-01-05
缴费截止日期: 暂无
价格&联系人
年费信息
委托购买

摘要:

权利要求书:

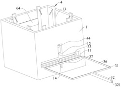
1.一种快递包裹开箱封箱装置,其特征在于,包括:

箱体,所述箱体的两相对侧边开设有开箱槽,所述开箱槽向上延伸有触动槽,所述箱体的各内侧壁开设有封箱槽;

承托组件,所述承托组件设置在箱体内壁位于开箱槽的位置上方,以托住快递包裹,开箱组件,所述开箱组件包括:底座、推杆、刀架、横向切刀和两个纵向切刀,所述底座滑动连接于开箱槽内,所述底座开设有适于快递包裹内物体落下的下料孔,所述底座的厚度小于开箱槽的厚度,所述刀架通过连接块固定在底座滑动方向的一侧侧壁,所述横向切刀固定在刀架的上端面,所述纵向切刀设置在横向切刀的两侧,且所述纵向切刀平行于刀架另外两相对侧壁,所述横向切刀与纵向切刀相互围合形成C字形,所述推杆固定在底座位于横向切刀相对的侧壁上,所述横向切刀适于先沿着承托组件的一侧内壁滑动以在快递包裹的底部一侧边沿划开一口子,所述纵向切刀适于后沿着承托组件另外两相对内侧壁滑动以插入快递包裹所划开的口子两侧,所述推杆适于推动底座以带动横向切刀和纵向切刀在快递包裹的底部切开方形开口,顶紧组件,所述顶紧组件分别与封箱槽对应,每个所述顶紧组件包括:顶紧杆、滑动杆和顶紧弹簧,所述滑动杆滑动连接于封箱槽内,所述滑动杆的上端通过顶紧弹簧与顶紧杆的一端固定,所述顶紧杆的另一端抵在快递包裹的侧壁,所述箱体的内侧壁设置有与各滑动杆固定的触动环体,抬起所述推杆以触发触动环体,以使滑动杆通过触动环体同步驱动各顶紧杆移动至快递包裹上方,所述顶紧弹簧回弹驱动顶紧杆顶紧快递包裹的箱盖,再人工封胶以完成封箱。

2.如权利要求1所述的一种快递包裹开箱封箱装置,其特征在于,

所述承托组件包括:横向支撑杆和设置在横向支撑杆两端的纵向支撑杆,所述纵向支撑杆和横向支撑杆分别与箱体的内侧壁固定,所述纵向支撑杆的中部开设有与触动槽对应的缺口。

3.如权利要求2所述的一种快递包裹开箱封箱装置,其特征在于,

所述横向支撑杆和纵向支撑杆的上端面分别设置有防滑条。

4.如权利要求3所述的一种快递包裹开箱封箱装置,其特征在于,

所述滑动杆位于与顶紧杆连接的一端开设有斜槽,所述顶紧杆的上端设置有适于插入斜槽滑动的导向块,所述顶紧弹簧套设在导向块外。

5.如权利要求4所述的一种快递包裹开箱封箱装置,其特征在于,

所述箱体位于触动槽相对的内侧壁中部开设有拍箱槽,所述拍箱槽内滑动连接有拍箱杆,所述拍箱槽的内侧开设有沉孔,所述拍箱杆位于箱体内部的一端设置有拍箱板,所述拍箱板与沉孔之间设置有拍箱弹簧。

6.如权利要求5所述的一种快递包裹开箱封箱装置,其特征在于,

所述开箱槽位于触动槽下方开设有复位槽,所述复位槽内设置有复位弹簧和复位块,所述复位块适于推杆滑动至复位槽的位置处时插入推杆,另一开箱槽的底部设置有挡块,所述推杆推动刀架抵在挡块上,以使推杆绕着挡块在触动槽内转动以触发触动环体。

7.如权利要求6所述的一种快递包裹开箱封箱装置,其特征在于,

所述推杆的底部开设有T形槽,所述复位块上设置有适于滑入T形槽内的滑动块。

8.如权利要求1所述的一种快递包裹开箱封箱装置,其特征在于,

所述纵向切刀的截面为弧形,以使快递包裹底部切开后沿着纵向切刀的内圈滑动。

我要求购
我不想找了,帮我找吧
您有专利需要变现?
我要出售
智能匹配需求,快速出售