欢迎来到知嘟嘟! 联系电话:13336804447 卖家免费入驻,海量在线求购! 卖家免费入驻,海量在线求购!
知嘟嘟
我要发布
联系电话:13336804447
知嘟嘟经纪人
收藏
专利号: 2019105659022
申请人: 朱幕松
专利类型:发明专利
专利状态:已下证
专利领域: 织物等的处理;洗涤;其他类不包括的柔性材料
更新日期:2024-12-11
缴费截止日期: 暂无
价格&联系人
年费信息
委托购买

摘要:

权利要求书:

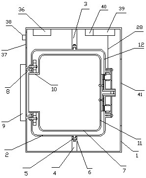
1.一种低噪音滚筒式洗衣机,由洗衣机壳体、圆水桶、圆滚筒、密封铜套轴承、支撑滑轮和永磁电机组成,其特征在于:所述低噪音滚筒式洗衣机设置洗衣机壳体(1),洗衣机壳体内设置圆水桶(2),洗衣机壳体内上端中部设置上左减震器和上右减震器(3),洗衣机壳体内下端中部设置下左减震器和下右减震器(4),所述圆水桶中部设置4个等分的连接耳(5),

4个等分的连接耳分别与所述4个减震器的连接轴(6)连接,4个减震器的外端连接洗衣机壳体内上下4个角落,圆水桶悬挂在洗衣机壳体中间,所述圆水桶内设置圆滚筒(7),所述圆滚筒、圆水桶和洗衣机壳体的前端中央均设置洗涤物入口,洗衣机壳体的入口设置大圆门,圆水桶的入口设置小圆门,大圆门与小圆门之间设置橡胶密封圈(8),所述橡胶密封圈的截面图形为上S形和下S形,橡胶密封圈前端是大圆圈,大圆圈与大圆门(9)连接,橡胶密封圈后端是小圆圈,小圆圈与小圆门连接,圆滚筒的入口设有桶形圈(10),圆滚筒后端设有筒底(11),桶形圈与圆滚筒是不锈钢制品,二者一体化制造成型,桶形圈外圆与所述小圆圈内圆保持一定的均匀间隔;所述永磁电机由滚筒转子和水桶定子组成,圆滚筒后端安装滚筒转子,圆水桶后端安装水桶定子,所述圆水桶后端设有桶底(12),桶底中心设置连接套(13),连接套内圆紧配合安装密封铜套轴承(14),密封铜套轴承内圆设有后端盖(15),后端盖前端设有钢珠(16),密封铜套轴承内圆设有滚筒轴(17),滚筒轴前端连接导磁盘(18),滚筒轴与导磁盘同心,滚筒轴后端紧靠钢珠,导磁盘前端安装在圆滚筒的筒底,导磁盘与筒底同心,导磁盘与筒底由4个铆钉(19)紧固连接,导磁盘右端设有永磁环(20),永磁环由80块扇形永磁体排列组成,扇形永磁体是用钕铁硼材料制造成型的强磁体,所述扇形永磁体的极性是轴向的,相邻的永磁体极性互为相反,交替排列组成永磁环,永磁环吸附在导磁盘右端面的外圆周,用AB胶粘接固定,永磁环与导磁盘组成滚筒转子;所述圆水桶由前半圆水桶与后半圆水桶拼装组成,前半圆水桶与后半圆水桶均为塑料制品,所述后半圆水桶设有连接圈(21),连接圈与连接套同心,后半圆水桶与连接套、连接圈用高强度塑料一体化注塑成型,后半圆水桶的桶底后端设有定子槽,定子槽与连接套同心,定子槽的槽底的厚度小于桶底的厚度;所述水桶定子设有连接环(22),连接环前端焊接卷筒形铁芯(23),卷筒形铁芯由硅钢带叠卷成型,在卷筒形铁芯前端加工多个线圈槽,每个线圈槽前端中间均设有槽口(24),卷筒形铁芯前端装进定子槽,与定子槽吻合,连接环安装在连接圈后端,由4个定子螺丝钉(25)紧固,永磁环的环形面与卷筒形铁芯的环形面大小相同,永磁环后面与卷筒形铁芯前面对齐,永磁环与卷筒形铁芯之间设有磁场气隙,定子槽的槽底厚度位于磁场气隙中,为了提高永磁电机的效率,定子和转子之间的磁场间隙要尽量小,因此在不影响后半圆水桶的机械强度前提下槽底厚度要尽量薄;在卷筒形铁芯的线圈槽内绕制多个单线圈,多个单线圈分别组成三相电枢线圈(26),每一相电枢线圈均由多个单线圈串联组成,相邻之间的单线圈绕制方向互为相反,单线圈用多股漆包线绕制,三相电枢线圈之间的电角度为120度,三相电枢线圈连接为Y形式的电路输出,在所述卷筒形铁芯的三个槽口内分别设置三个霍尔传感器(27),三个霍尔传感器的间隔位置均相差60度的电角度,三相输出线和三个霍尔传感器的输出线合并为一股输出电缆(28),由连接环、卷筒形铁芯、三相电枢线圈、三个霍尔传感器组成水桶定子,所述连接圈上端设置出线孔,输出电缆从出线孔穿出;所述低噪音滚筒式洗衣机设置4个稳定圆滚筒的支撑滑轮,所述小圆门上方分别设置左轴孔和右轴孔,左、右轴孔分别安装上连接轴(29),小圆门下方分别设置左轴孔和右轴孔,左、右轴孔分别安装下连接轴(30),上下4个连接轴规格相同,所述连接轴的中部均设有定位台(31),定位台前端均设有外卡簧(32),定位台后端均设有紧固螺帽(33),所述连接轴上均设有轴承(34),轴承的外圆均安装橡胶轮(35),4个橡胶轮均与圆滚筒前端的桶形圈圆周吻合,4个橡胶轮在等分于桶形圈圆周的位置上支撑着圆滚筒前端,使圆滚筒前端的中心稳定,所述滚筒轴支撑着圆滚筒后端,使圆滚筒后端的中心稳定;所述洗衣机壳体内前上端设置电脑盒(36),洗衣机壳体外前上端设置操作面板(37)和旋钮(38),洗衣机壳体内后上端设置永磁电机的控制器(39)和电源盒(40),所述电机输出线连接控制器的输出和输入端,控制器的电源端连接电源盒,操作面板和旋钮连接电脑盒,电脑盒输出线连接控制器的输入端,所述洗衣机壳体后端设置维修窗口和后盖板(41)。

2.根据权利要求1所述的低噪音滚筒式洗衣机,其特征在于:所述低噪音滚筒式洗衣机采用轴向磁路的低速无刷永磁电机直接驱动圆滚筒,所述永磁电机的滚筒转子与水桶定子之间处于互相封闭的隔离状态,密封铜套轴承的后端密封,不会漏水侵蚀水桶定子,密封铜套轴承的前端不需要水封件密封,圆滚筒转动时,滚筒轴与密封铜套轴承之间是水润滑状态,滚筒轴后端钢珠的作用在于克服滚筒转子与水桶定子之间磁力产生的轴向推力,使滚筒转子与水桶定子之间保持一定的磁场间隙;所述低噪音滚筒式洗衣机的4个橡胶轮吻合在等分于桶形圈圆周的位置上,支撑着圆滚筒的前端,使圆滚筒前端的中心稳定,滚筒轴支撑着圆滚筒的后端,使圆滚筒后端的中心稳定,圆滚筒在高速转动时,圆滚筒内的衣服因分布不均匀产生的偏心力作用在圆滚筒前端的4个橡胶轮上和后端的滚筒轴上,因为橡胶轮和滚筒轴的支撑强度高,所以圆滚筒前端和后端的中心位置不会因偏心力发生变化,偏心力产生的振动不会增大,而且偏心力产生的振动基本上消耗在4个减震器上,因此低噪音滚筒式洗衣机产生的不平衡振动小,噪音也随着减小;所述永磁电机是通过调整电机的直流电压来控制永磁电机的转速,洗衣时,圆滚筒转速很低,永磁电机用低电压供电,衣物脱水甩干时,永磁电机从低电压逐渐过渡到高电压供电,圆滚筒转速从低转速逐渐过渡到高转速。