欢迎来到知嘟嘟! 联系电话:13095918853 卖家免费入驻,海量在线求购! 卖家免费入驻,海量在线求购!
知嘟嘟
我要发布
联系电话:13095918853
知嘟嘟经纪人
收藏
专利号: 2019105646874
申请人: 中山市恒辉自动化科技有限公司
专利类型:发明专利
专利状态:已下证
专利领域: 给水;排水
更新日期:2025-04-21
缴费截止日期: 暂无
价格&联系人
年费信息
委托购买

摘要:

权利要求书:

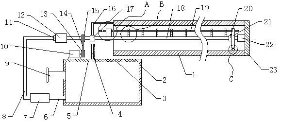
1.一种垃圾填埋场渗沥液导排管疏通装置,包括花管,其特征在于:所述花管右端面安装封盖,所述封盖左端面中部位置安装限位筒,所述限位筒内安装布液管,所述布液管左端外表面套设滚动轴承一,所述滚动轴承一设置在花管左侧,且滚动轴承一外表面固定支杆,所述支杆另一端与花管固定连接,所述花管左下侧设置废液池,所述废液池上端面中部位置安装盖板,所述盖板上端面右侧安装过滤网,所述过滤网左侧设置挡板,所述挡板与盖板固定连接,所述盖板上端面左侧安装驱动电机,所述驱动电机输出端安装皮带轮一,所述布液管左端外表面套设皮带轮二,所述皮带轮二设置在滚动轴承一左侧,且皮带轮二通过传动皮带与皮带轮一相连接,所述废液池左端面下侧安装连接管,所述连接管另一端连接水泵进水端,所述水泵出水端安装输液管,所述输液管另一端外表面套设动密封,所述布液管左端外表面固定圆筒,所述动密封安装在圆筒左端面中部位置,所述布液管环形侧面上安装喷液组件,且布液管右端外表面安装支撑组件。

2.根据权利要求1所述的一种垃圾填埋场渗沥液导排管疏通装置,其特征在于:所述喷液组件包括固定块,所述固定块固定在布液管环形侧面上,且固定块设置在花管与滚动轴承一之间,所述固定块右端面开设通孔,所述通孔内设有连杆,所述连杆左端外表面加工有外螺纹,所述连杆左端外表面通过外螺纹啮合螺母一和螺母二,所述螺母一设置在固定块左侧,所述螺母二设置在固定块右侧,所述连杆外表面等距安装多个喷管,所述喷管通过转轴与连杆活动连接,所述喷管一端安装波纹管,所述波纹管另一端安装管头,所述管头固定在布液管环形侧面上。

3.根据权利要求1所述的一种垃圾填埋场渗沥液导排管疏通装置,其特征在于:所述支撑组件包括圆盘,所述圆盘套设在布液管右端外表面,且圆盘左端面中间位置固定套筒,所述套筒套设在布液管上,且套筒环形侧面上开设螺纹孔,所述螺纹孔内通过螺纹啮合夹紧螺栓,所述圆盘环形侧面等距安装三个U型框一,所述U型框一内设有限位块,所述限位块下端面固定圆杆,所述圆杆另一端贯穿U型框一并安装U型框二,所述U型框二内安装滚轮,所述圆盘左端面边缘处开设限位孔,所述限位孔内设有连杆。

4.根据权利要求1所述的一种垃圾填埋场渗沥液导排管疏通装置,其特征在于:所述圆筒内部右侧固定限位环,所述限位环左侧设有拦截网,所述拦截网与限位环固定连接,所述圆筒环形侧面上开设通口,所述通口外侧设有堵板,所述堵板通过螺丝与圆筒固定连接。

5.根据权利要求1所述的一种垃圾填埋场渗沥液导排管疏通装置,其特征在于:所述废液池左端面安装溢流管,所述溢流管设置在连接管上侧,且溢流管左端外表面固定法兰。

6.根据权利要求1所述的一种垃圾填埋场渗沥液导排管疏通装置,其特征在于:所述支杆安装有三根,三根所述支杆呈环形等距固定在滚动轴承一环形侧面上,且三组支杆另一端均与花管固定连接。

7.根据权利要求1所述的一种垃圾填埋场渗沥液导排管疏通装置,其特征在于:所述布液管右端外表面套设滚动轴承二,所述滚动轴承二设置限位筒内。

8.根据权利要求1所述的一种垃圾填埋场渗沥液导排管疏通装置,其特征在于:所述挡板右端面通过胶水粘贴有海绵垫。

9.根据权利要求3所述的一种垃圾填埋场渗沥液导排管疏通装置,其特征在于:所述U型框一内下端面中部位置开设圆孔,所述圆杆穿过圆孔延伸至U型框一外侧。