欢迎来到知嘟嘟! 联系电话:13336804447 卖家免费入驻,海量在线求购! 卖家免费入驻,海量在线求购!
知嘟嘟
我要发布
联系电话:13336804447
知嘟嘟经纪人
收藏
专利号: 2019105629525
申请人: 安徽聪贤机械有限公司
专利类型:发明专利
专利状态:已下证
专利领域: 卷扬;提升;牵引
更新日期:2025-02-07
缴费截止日期: 暂无
价格&联系人
年费信息
委托购买

摘要:

权利要求书:

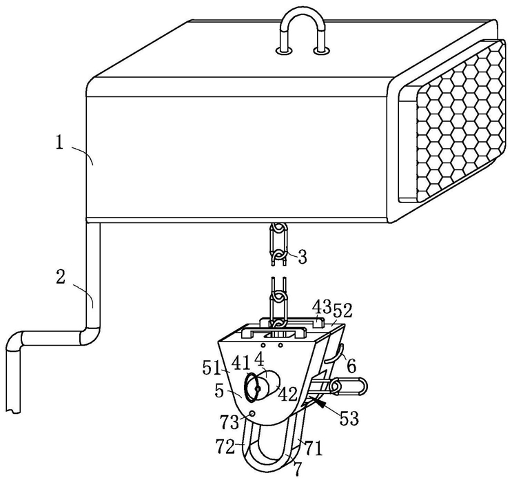
1.一种链式电动葫芦,其特征在于:包括电动葫芦本体(1)、电源线(2)、传动链(3)、高度调节结构(4)、支撑结构(5)、限位结构(7)和三个导向结构(8),所述电动葫芦本体(1)的侧壁设有电性连接的所述电源线(2);用于传动的所述传动链(3)的一端卷收于所述电动葫芦本体(1)的内部,所述传动链(3)的另外一端通过所述高度调节结构(4)固定于所述支撑结构(5),所述高度调节结构(4)与所述支撑结构(5)之间可拆卸连接;所述支撑结构(5)的内部设有三个用于对所述传动链(3)进行导向的所述导向结构(8);所述支撑结构(5)的底端设有用于固定吊带的所述限位结构(7),所述限位结构(7)与所述支撑结构(5)之间可拆卸连接;

所述支撑结构(5)包括盖板(51)、支撑套(52)和通孔(53),所述传动链(3)贯穿于所述支撑套(52),所述盖板(51)与所述支撑套(52)之间通过螺栓连接,所述支撑套(52)的内部设有L形结构的所述通孔(53),所述传动链(3)贯穿于所述通孔(53);

所述限位结构(7)包括挂钩(71)、限位杆(72)、转轴(73)、第三复位弹簧(74)、滑杆(75)、活塞(76)、存储套(77)和存储室(78),所述转轴(73)贯穿连接于所述限位杆(72)和所述盖板(51),所述限位杆(72)通过所述转轴(73)与所述支撑套(52)之间转动连接,所述支撑套(52)上设有滑动连接的所述挂钩(71),所述挂钩(71)与所述转轴(73)之间的所述支撑套(52)上设有所述存储套(77),所述存储套(77)的内部设有U形结构的所述存储室(78),两个所述滑杆(75)分别设于所述存储室(78)的两端,所述滑杆(75)与所述存储套(77)之间滑动连接,所述滑杆(75)的底端设有用于对所述存储室(78)进行密封的所述活塞(76),一个所述滑杆(75)固定于所述挂钩(71),另外一个所述滑杆(75)与所述限位杆(72)抵触,所述第三复位弹簧(74)的一端与所述限位杆(72)抵触,所述第三复位弹簧(74)的另一端与所述支撑套(52)抵触。

2.根据权利要求1所述的一种链式电动葫芦,其特征在于:所述导向结构(8)包括导向轴(81)和导向套(82),所述导向轴(81)设于所述支撑套(52)和所述盖板(51)之间,所述导向轴(81)与所述支撑套(52)之间转动连接,所述导向轴(81)贯穿连接于所述导向套(82),直径从两端至中间逐渐减小的所述导向套(82)通过所述导向轴(81)与所述支撑套(52)之间转动连接。

3.根据权利要求1所述的一种链式电动葫芦,其特征在于:所述高度调节结构(4)包括拉环(41)、套筒(42)、限位框(43)、驱动杆(44)、定位杆(45)、连接杆(46)、第一复位弹簧(47)、限位块(48)和第二复位弹簧(49),所述套筒(42)固定于所述盖板(51),所述定位杆(45)贯穿连接于所述盖板(51)从所述传动链(3)延伸至所述支撑套(52),所述定位杆(45)截面的端部为三角形,所述驱动杆(44)固定于所述定位杆(45),所述驱动杆(44)贯穿于所述盖板(51)及其所述套筒(42),所述驱动杆(44)与所述套筒(42)之间滑动连接,所述拉环(41)与所述驱动杆(44)之间滑动连接,所述第二复位弹簧(49)的一端抵触所述支撑套(52),所述第二复位弹簧(49)的另外一端抵触所述盖板(51),所述驱动杆(44)贯穿于所述第二复位弹簧(49),所述盖板(51)和所述支撑套(52)的内部分别设有所述限位块(48),所述限位块(48)的截面的端部为三角形,所述连接杆(46)的一端固定于所述挂钩(71),所述连接杆(46)的另外一端固定于所述限位块(48),U形结构的所述限位框(43)固定于所述限位块(48),所述限位块(48)上设有所述第一复位弹簧(47),两个所述第一复位弹簧(47)背离所述限位块(48)的一端分别与所述盖板(51)和所述支撑套(52)抵触。

4.根据权利要求1所述的一种链式电动葫芦,其特征在于:所述支撑套(52)的侧壁设有弧形结构的挂杆(6)。