欢迎来到知嘟嘟! 联系电话:13336804447 卖家免费入驻,海量在线求购! 卖家免费入驻,海量在线求购!
知嘟嘟
我要发布
联系电话:13336804447
知嘟嘟经纪人
收藏
专利号: 2019105499540
申请人: 贵州师范学院
专利类型:发明专利
专利状态:已下证
专利领域: 其他类目不包含的电技术
更新日期:2024-02-23
缴费截止日期: 暂无
价格&联系人
年费信息
委托购买

摘要:

权利要求书:

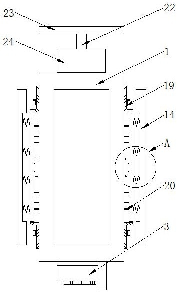
1.一种物联网智能监控报警设备防撞机构,包括防撞筒(1)、电动伸缩杆(2)和监控报警机构(3),所述防撞筒(1)内腔的顶部与电动伸缩杆(2)的顶部固定连接,其特征在于:所述电动伸缩杆(2)的底端固定连接有安装板(4),并且安装板(4)的底部与监控报警机构(3)的顶部固定连接,所述监控报警机构(3)的底部贯穿防撞筒(1)并延伸至防撞筒(1)的底部,所述防撞筒(1)的两侧均通过焊锡固定连接有安装箱(5),并且安装箱(5)内腔的顶部和底部均开设有卡槽(6),所述安装箱(5)的一侧贯穿有卡箱(7),并且卡箱(7)内腔的两侧之间固定连接有隔板(8),所述隔板(8)的顶部和底部均通过第一弹簧(9)固定连接有卡块(10),所述卡块(10)远离隔板(8)的一端依次贯穿卡箱(7)和安装箱(5)并延伸至卡槽的内壁,所述安装箱(5)的顶部和底部均贯穿有压杆(11),并且压杆(11)延伸至安装箱(5)内腔的表面与卡槽(6)的内壁滑动连接,所述卡箱(7)的一侧通过焊锡固定连接有固定板(12),并且固定板(12)的一侧通过第二弹簧(13)固定连接有防撞板(14),所述安装板(4)的底部且位于监控报警机构(3)的两侧均固定连接有防护板(15),并且防护板(15)的一侧与监控报警机构(3)的一侧之间固定连接有橡胶垫(16),所述防撞筒(1)内腔的两侧均开设有滑槽(17),两个所述防护板(15)的另一侧均固定连接有滚轮(18),所述滚轮(18)的表面与滑槽(17)的内壁滑动连接,所述防撞筒(1)的两侧且位于固定板(12)的顶部和底部均通过螺钉固定连接有加强筋(19),所述防撞筒(1)的两侧且位于加强筋(19)的底部与安装箱(5)的顶部之间固定连接有弹性塑胶板(20),所述防撞筒(1)的顶部固定连接有连接杆(21),并且连接杆(21)的顶端通过法兰盘固定连接有固定杆(22),并且固定杆(22)的顶端固定连接有安装座(23),所述固定杆(22)的表面滑动连接有防护套(24),并且防护套(24)的底部与防撞筒(1)的顶部接触,所述防撞筒(1)的底部和安装箱(5)的一侧分别开设有与监控报警机构(3)和卡箱(7)相配合使用的开口。