欢迎来到知嘟嘟! 联系电话:13336804447 卖家免费入驻,海量在线求购! 卖家免费入驻,海量在线求购!
知嘟嘟
我要发布
联系电话:13336804447
知嘟嘟经纪人
收藏
专利号: 2019104949475
申请人: 重庆理工大学
专利类型:发明专利
专利状态:已下证
专利领域: 测量;测试
更新日期:2024-01-05
缴费截止日期: 暂无
价格&联系人
年费信息
委托购买

摘要:

权利要求书:

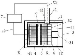
1.一种BGA板电迁移测试装置,包括BGA板夹持构件和电源,其特征在于:所述夹持件包括定位壳体(1),该定位壳体(1)具有中空腔室(11),侧壁设有与中空腔室(11)连通的空心管(2),定位壳体(1)的一端设有开口,另一端设有端盖(3),所述中空腔室(11)内侧壁沿轴向设有多个与BGA板(9)周沿的定位缺口相适配的定位凸条(12);

所述中空腔室(11)内设有位于BGA板(9)正面的第一定位套(4)和位于BGA板(9)背面的第二定位套(5),所述第一定位套(4)和第二定位套(5)上设有多个与BGA板(9)上的焊盘位置相对应的探针孔,第一定位套(4)的探针孔(43)内设有第一探针(41),第二定位套(5)的探针孔内设有第二探针(51);

所述第一探针(41)一端抵接于BGA板(9)正面,另一端与导电片(8)相抵接,所述导电片(8)上固定有第一连接线(42),所述第一连接线(42)通过开口引出与电源电性连接;所述第二探针(51)一端抵接于BGA板(9)背面,一端与铜片(6)相抵接,所述铜片(6)与第二连接线(52)一端连接,该第二连接线(52)另一端穿过空心管(2)与电源(7)电性连接。

2.根据权利要求1所述的BGA板电迁移测试装置,其特征在于:所述端盖(3)朝向中空腔室(11)的一端设有抵压柱(31),用于压紧铜片(6),保证铜片(6)与第二探针(51)紧密接触。

3.根据权利要求1或2所述的BGA板电迁移测试装置,其特征在于:所述空心管(2)与定位壳体(1)连接的一端设有外螺纹,所述定位壳体(1)侧壁上设有安装通孔,该安装通孔内设有与空心管(2)对应配合的内螺纹。

4.根据权利要求1或2所述的BGA板电迁移测试装置,其特征在于:所述铜片(6)包括第一铜片(61)和第二铜片(62),所述第一铜片(61)固定于空心管(2)的端部,所述第二铜片(62)呈L形,一直角边与第一铜片(61)接触,另一直角边与第二探针(51)接触。

5.根据权利要求1或2所述的BGA板电迁移测试装置,其特征在于:所述中空腔室(11)内侧壁沿轴向设有多条滑槽,供定位凸条(12)选择性地轴向滑动设于滑槽内,所述滑槽为燕尾槽。

6.根据权利要求1或2所述的BGA板电迁移测试装置,其特征在于:所述第一探针(41)和第二探针(51)均为圆头铜探针。

7.根据权利要求1或2 BGA板电迁移测试装置,其特征在于:还包括反应腔,所述反应腔用于放置BGA板夹持构件,用于为BGA板提供不同的测试环境。