欢迎来到知嘟嘟! 联系电话:13336804447 卖家免费入驻,海量在线求购! 卖家免费入驻,海量在线求购!
知嘟嘟
我要发布
联系电话:13336804447
知嘟嘟经纪人
收藏
专利号: 2019104596609
申请人: 浙江师范大学
专利类型:发明专利
专利状态:已下证
专利领域: 发电、变电或配电
更新日期:2024-02-23
缴费截止日期: 暂无
价格&联系人
年费信息
委托购买

摘要:

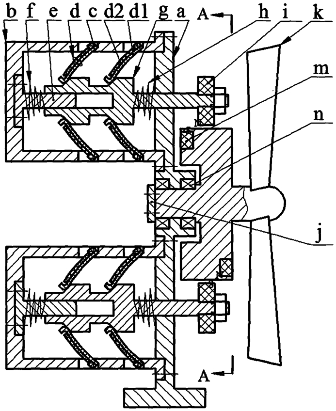
权利要求书:

1.一种风致回转式压电俘能器,其特征在于:箱体的箱底上安装有导销、至少两个相对的箱壁上设有带倾斜的安装面的安装孔,箱壁端部安装在支座的立板上;激励器的体块的左右两端分别设有同轴的导孔和导柱、上下两侧都设有一组凸轮,凸轮表面由依次相连的底面、斜面和顶面构成,同一凸轮的底面和顶面间的距离为升程;激励器的导孔套在导销上、导柱套在支座的导孔内,导柱端部装有受激磁铁;导销和导柱上分别套有用于限制激励器位置的左弹簧和右弹簧;压电振子装在箱体的安装面上,压电振子为由基板和压电片粘接而成的悬臂梁型预弯结构,基板预弯半径小于压电片预弯半径,基板靠近激励器安装,压电振子自由端的基板的翻边处顶靠在凸轮的表面上,基板的翻边的凸起侧与凸轮表面接触;转换器的盘体两端分别设有与其同轴的左半轴和右半轴,右半轴端部设有叶片,左半轴装在支座的立板上;盘体左右两端的外缘处都均布地安装有数量相等的激励磁铁;激励磁铁与各受激磁铁之间为吸引力,激励磁铁与各受激磁铁之间作用力为零时受激磁铁距离盘体两端激励磁铁的轴向距离相等,压电振子自由端与凸轮的斜面的中点接触,压电振子预压缩量为其许用变形量的一半,压电振子的许用变形量大于凸轮的升程;左弹簧被压死时压电振子不与凸轮的顶面脱离,右弹簧被压死时压电振子不与凸轮的底面脱离。