欢迎来到知嘟嘟! 联系电话:13336804447 卖家免费入驻,海量在线求购! 卖家免费入驻,海量在线求购!
知嘟嘟
我要发布
联系电话:13336804447
知嘟嘟经纪人
收藏
专利号: 2019104556033
申请人: 浙江师范大学
专利类型:发明专利
专利状态:已下证
专利领域: 发电、变电或配电
更新日期:2024-02-23
缴费截止日期: 暂无
价格&联系人
年费信息
委托购买

摘要:

权利要求书:

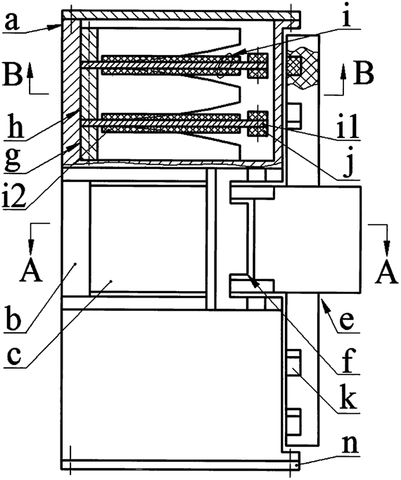
1.一种用于河流监测系统的压电俘能器,其特征在于:框架的主梁两端都设有副梁,副梁外侧都设有空腔,空腔的侧壁端部装有端盖;两个侧框的侧横梁和至少一个中框的中横梁安装在空腔内靠近副梁的侧壁上,压电振子的一端压接在侧横梁和中横梁之间、另一端安装有副磁铁,压电振子由基板和压电片粘接而成;侧横梁两端设有侧耳板,中横梁两端设有中耳板,侧耳板的一侧和中耳板的两侧都设有限形面,限形面为圆弧面,限形面和侧横梁及中横梁上与基板相接触的表面相切;同一侧框上两个侧耳板的间距与同一中框上两个中耳板的间距相等且比压电片宽、比基板窄;耦合器的钝体两端都设有侧耳,两个侧耳经横板连接,横板上装有板簧,板簧的另一端固定在主梁上;钝体两端的外侧都设有侧臂,侧臂上靠近侧耳的一侧嵌有主磁铁,主磁铁和压电振子的数量相等,两个侧臂上的主磁铁对称安装且都与钝体轴线形成相同的夹角,主副磁铁相吸;挡板的弧形板两端都设有连接耳和豁口,同一挡板的两个连接耳分别装在两个副梁上,两个挡板的弧形板经钝体和横板之间的缝隙穿过后相互顶靠在一起,钝体的侧耳置于挡板的豁口内,弧形板的凸面靠近钝体安装;

非工作时,压电振子为平直状态且与钝体的轴线垂直;两个挡板安装后其弧形板总宽度与钝体直径之比为1~3,钝体外表面与弧形板凸面的最小间距与钝体直径之比为0~3;工作时,主磁铁将通过副磁铁迫使压电振子的基板贴合在限形面上,此时压电片长度方向上各点的压应力相等且小于其许用值。