欢迎来到知嘟嘟! 联系电话:13095918853 卖家免费入驻,海量在线求购! 卖家免费入驻,海量在线求购!
知嘟嘟
我要发布
联系电话:13095918853
知嘟嘟经纪人
收藏
专利号: 2019104438662
申请人: 嘉兴瑞知环保科技有限公司
专利类型:发明专利
专利状态:已下证
专利领域: 运动;游戏;娱乐活动
更新日期:2025-03-24
缴费截止日期: 暂无
价格&联系人
年费信息
委托购买

摘要:

权利要求书:

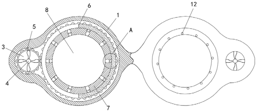
1.一种海洋探测用防雾泳镜,包括壳体(1)和头带(2),其特征在于,所述壳体(1)内设有贯穿的通孔(3),所述通孔(3)的侧壁上转动连接有风扇(4),所述风扇(4)外固定连接有第一齿圈(5),所述第一齿圈(5)与通孔(3)的侧壁转动连接,所述壳体(1)的内侧壁上转动连接有第二齿圈(6),所述第一齿圈(5)与第二齿圈(6)啮合连接,所述第二齿圈(6)由磁性材料制成,所述第二齿圈(6)内侧壁上转动连接有散热环(7),所述散热环(7)与壳体(1)固定连接,所述散热环(7)的内圈侧壁上固定连接有镜片(8),所述散热环(7)内设有散热机构。

2.根据权利要求1所述的海洋探测用防雾泳镜,其特征在于,所述散热机构包括多个等距阵列设置在散热环(7)内的散热腔(9),所述散热腔(9)贯穿散热环(7)设置,所述散热腔(9)的侧壁上密封滑动连接有磁性滑块(11),所述第二齿圈(6)由两个磁性半环组成,且两个所述半环的磁极相反。

3.根据权利要求2所述的海洋探测用防雾泳镜,其特征在于,所述散热腔(9)内设有导热棒(12),所述导热棒(12)依次贯穿散热环(7)和壳体(1)并延伸至壳体(1)外设置。

4.根据权利要求2所述的海洋探测用防雾泳镜,其特征在于,所述散热腔(9)的侧壁上设有用于对磁性滑块(11)限位的限位凸起(13)。

5.根据权利要求1所述的海洋探测用防雾泳镜,其特征在于,所述散热机构包括两个相对设置在散热环(7)内的换热腔(14),所述换热腔(14)内密封滑动连接有磁性密封块(15),所述磁性密封块(15)将换热腔(14)分为水腔(16)和气腔(17),所述水腔(16)通过水孔(18)与壳体(1)外部连通,所述水腔(16)靠近镜片(8)的侧壁内嵌设有金属网板(20),所述气腔(17)通过气孔(19)与壳体(1)的内部连通,所述第二齿圈(6)的其中一段由磁性材料制成,所述磁性材料的长度小于两个换热腔(14)间的距离。