欢迎来到知嘟嘟! 联系电话:13336804447 卖家免费入驻,海量在线求购! 卖家免费入驻,海量在线求购!
知嘟嘟
我要发布
联系电话:13336804447
知嘟嘟经纪人
收藏
专利号: 2019104151357
申请人: 浙江工贸职业技术学院
专利类型:发明专利
专利状态:已下证
专利领域: 书写或绘图器具;办公用品
更新日期:2023-08-24
缴费截止日期: 暂无
价格&联系人
年费信息
委托购买

摘要:

权利要求书:

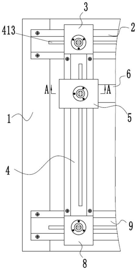
1.一种数学教学用辅助绘图装置,包括展示装置和直角坐标系辅助绘图装置,所述直角坐标系辅助绘图装置包括第一导向杆(2)、第二导向杆(8)、第一滑块(3)、第二滑块(9),所述第一滑块(3)和所述第二滑块(9)之间设置有连杆(4),所述连杆(4)上滑动连接有第三滑块(5),所述第三滑块(5)的上设置有第一直尺(6),其特征在于,所述连杆(4)具有滑杆部(41),所述滑杆部(41)的两侧分别设有一滑槽(411),两个滑槽(411)均沿所述连杆(4)的长度方向延伸,所述第三滑块(5)包括:滑块本体(51),所述滑块本体(51)架设在所述滑杆部(41)上,所述滑杆部(41)可在所述滑块本体(51)的背侧的中部的第二背槽(511)内上下滑移,所述滑块本体(51)上还对称设有一对侧凹槽(512),一对侧凹槽(512)分别位于所述滑杆部(41)的两侧,且一对侧凹槽(512)均与所述第二背槽(511)相连通;

滚珠保持架(52),所述滚珠保持架(52)固定在所述滑块本体(51)上,所述滚珠保持架(52)上设有若干对限位孔(521),若干对限位孔(521)沿所述连杆(4)的长度方向间隔设置,且每对限位孔(521)均对称设置在所述滑杆部(41)的两侧;

若干对滚珠(53),若干对滚珠(53)分别容置在相应的限位孔(521)内,并且每个滚珠(53)均可在相应的限位孔(521)内自由滚动,每对滚珠(53)均对称设置在所述滑杆部(41)的两侧,且每个滚珠(53)的一侧均抵触在相应的滑槽(411)的槽壁上;

一对皮带轮机构,一对皮带轮机构分别设置在一对侧凹槽(512)内,每个皮带轮机构均包括一对带轮(54)和套设于一对带轮(54)上的皮带(55),一对带轮(54)沿所述连杆(4)的长度方向布置,每个滚珠(53)的另一侧均抵触在相应的皮带(55)上。

2.根据权利要求1所述的数学教学用辅助绘图装置,其特征在于,所述滑块本体(51)上设有锁定机构(7),所述锁定机构(7)用于锁定所述第三滑块(5)在所述连杆(4)上的位置。

3.根据权利要求2所述的数学教学用辅助绘图装置,其特征在于,所述锁定机构(7)包括:

锁定件(71),所述锁定件(71)的下部的下压盘部(712)容置于所述连杆(4)的背侧的第一背槽(412)内,所述锁定件(71)的位于所述下压盘部(712)上方的上转杆部(711)依次穿过所述连杆(4)的滑移孔(413)、所述滑块本体(51)的通孔(513)向外延伸;

上旋钮(72),所述上旋钮(72)固定在所述上转杆部(711)的外端;

扣盖(75),所述扣盖(75)用于将所述上旋钮(72)固定在所述滑块本体(51)上,所述上旋钮(72)可在所述扣盖(75)内沿所述上转杆部(711)的轴线自由转动;

其中,通过操作所述上旋钮(72),可驱使所述锁定件(71)的下压盘部(712)的侧平面(7121)紧紧地抵触在所述第一背槽(412)的一内侧壁上,进而使得所述第三滑块(5)被锁定在所述连杆(4)上。

4.根据权利要求3所述的数学教学用辅助绘图装置,其特征在于,所述锁定机构(7)还包括摩擦带(73),所述摩擦带(73)固定在所述第一背槽(412)的一内侧壁上,所述下压盘部(712)的侧平面(7121)可紧紧地抵压在所述摩擦带(73)上。

5.根据权利要求4所述的数学教学用辅助绘图装置,其特征在于,所述锁定机构(7)还包括保险锁扣(74),所述保险锁扣(74)安装在所述上转杆部(711)上,所述保险锁扣(74)用于防止所述锁定件(71)锁定后松动。

6.根据权利要求5所述的数学教学用辅助绘图装置,其特征在于,所述保险锁扣(74)具有依次连接的第一圆弧部(741)、第二圆弧部(742)、第一折弯部(743)、第三圆弧部(744)、第二折弯部(745)和第四圆弧部(746),所述第二圆弧部(742)、所述第三圆弧部(744)和所述第四圆弧部(746)位于同一圆周上,所述第二圆弧部(742)、所述第三圆弧部(744)和所述第四圆弧部(746)相互配合使所述保险锁扣(74)套设在所述上转杆部(711)上,所述第一折弯部(743)和所述第二折弯部(745)的外端均抵撑在所述第一背槽(412)的内侧壁上,以使所述保险锁扣(74)不会相对所述连杆(4)产生转动,所述第一圆弧部(741)所在的圆与所述第二圆弧部(742)所在的圆外相切,所述下压盘部(712)上设有一直杆部(713),所述直杆部(713)可卡合在所述第一圆弧部(741)内。

7.根据权利要求1所述的数学教学用辅助绘图装置,其特征在于,所述连杆(4)的滑杆部(41)的两侧分别设有固定板部(42)。

8.根据权利要求1至7中任一项所述的数学教学用辅助绘图装置,其特征在于,所述第一滑块(3)和所述第二滑块(9)均与所述第三滑块(5)结构相似,所述第一导向杆(2)和所述第二导向杆(8)均与所述连杆(4)结构相似。

我要求购
我不想找了,帮我找吧
您有专利需要变现?
我要出售
智能匹配需求,快速出售