欢迎来到知嘟嘟! 联系电话:13336804447 卖家免费入驻,海量在线求购! 卖家免费入驻,海量在线求购!
知嘟嘟
我要发布
联系电话:13336804447
知嘟嘟经纪人
收藏
专利号: 2019104086146
申请人: 新昌县凌智机械有限公司
专利类型:发明专利
专利状态:已下证
专利领域: 道路、铁路或桥梁的建筑
更新日期:2026-04-02
缴费截止日期: 暂无
价格&联系人
年费信息
委托购买

摘要:

权利要求书:

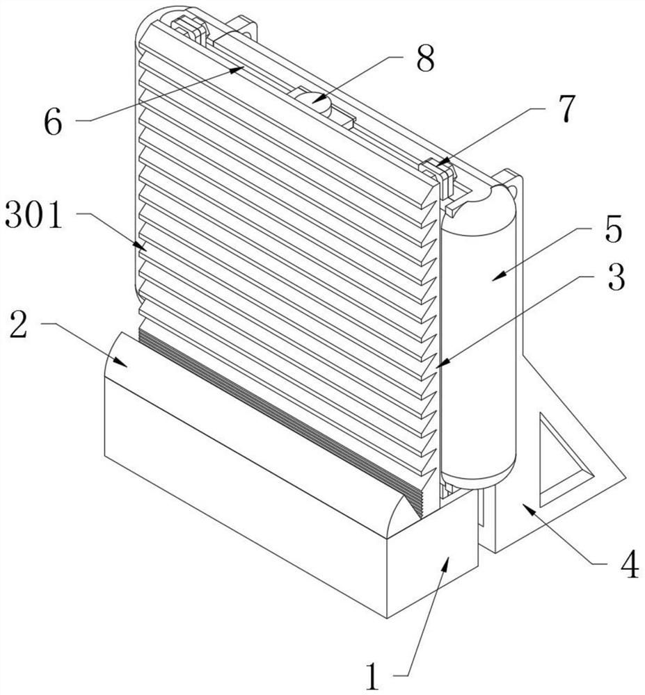
1.交通工程施工防风抑尘吸附式挡板结构,用于对交通工程施工防风抑尘吸附式挡板结构进行技术革新,其特征在于,包括:基座(1)、集尘槽(101)、楔体(102)、封尘罩(2)、抑尘板(3)、抑尘槽(301)、支护架(4)、侧护体(5)、挡风板(6)、连接耳(7)、转轴(8)、导流板(9)、固定柱(10)、风管(12)、出风道(13)、静电产生槽(14)、活动柱(15)、导流扇(16)、出风口(17)、弹簧(18)、变径柱(19)和变径孔(1901);所述基座(1)的顶部平面中部横向焊接有竖直的抑尘板(3),且抑尘板(3)的背部又紧靠安装有挡风板(6);所述抑尘板(3)前侧壁下方的基座(1)中开设有集尘槽(101);所述挡风板(6)的左端和右端侧壁处包套有半柱状的侧护体(5);所述挡风板(6)的背部平面的左右两端竖直安装有支护架(4),其支护架(4)的下端与基座(1)的下端相平齐;所述挡风板(6)由两部分对称的结构构成,且挡风板(6)的上端和下端通过两个对称的连接耳(7)使用螺栓固定;所述侧护体(5)的内包套有竖直间隔排列的呈一百八十度设置的风管(12),其风管(12)的前端与挡风板(6)左右侧壁中部相对,而风管(12)的后端则与处于挡风板(6)的后侧;所述挡风板(6)中部横向开设有与风管(12)相对应的静电产生槽(14);所述挡风板(6)中部竖直开设有与静电产生槽(14)相对应的出风道(13)。

2.根据权利要求1所述的交通工程施工防风抑尘吸附式挡板结构,其特征在于,所述抑尘板(3)的前侧壁上开设有向下的倒勾式抑尘槽(301)。

3.根据权利要求1所述的交通工程施工防风抑尘吸附式挡板结构,其特征在于,所述集尘槽(101)的后侧壁上设置有楔体(102),其楔体(102)的长边与集尘槽(101)底部相接触,而集尘槽(101)的顶部平面前端边沿上遮盖有六十度的封尘罩(2)。

4.根据权利要求1所述的交通工程施工防风抑尘吸附式挡板结构,其特征在于,所述挡风板(6)的背部侧壁中部固定安装有固定柱(10),且以所述固定柱(10)为中心螺旋安装有十二组所述导流板(9),其导流板(9)与挡风板(6)呈一体成型结构。

5.根据权利要求1所述的交通工程施工防风抑尘吸附式挡板结构,其特征在于,所述侧护体(5)的覆盖区域恰好为挡风板(6)宽度的两倍,且导流板(9)的宽度则与挡风板(6)的宽度相一致,并且侧护体(5)中的风管(12)的进风口恰好正对导流板(9)所在位置。

6.根据权利要求1所述的交通工程施工防风抑尘吸附式挡板结构,其特征在于,所述静电产生槽(14)中间隔内嵌有活动柱(15),且活动柱(15)之间通过四个弹簧(18)相连接。

7.根据权利要求1所述的交通工程施工防风抑尘吸附式挡板结构,其特征在于,所述活动柱(15)内设置有变径柱(19),且变径柱(19)中开设有瓶颈状的变径孔(1901),其变径孔(1901)的宽口位置对应风管(12)位置。

8.根据权利要求1所述的交通工程施工防风抑尘吸附式挡板结构,其特征在于,所述出风道(13)中通过转轴(8)转动连接有导流扇(16),其导流扇(16)向下螺旋安装分别对应每层的静电产生槽(14),并且出风道(13)下端的转轴(8)两侧分别开设有出风口(17)。