欢迎来到知嘟嘟! 联系电话:13336804447 卖家免费入驻,海量在线求购! 卖家免费入驻,海量在线求购!
知嘟嘟
我要发布
联系电话:13336804447
知嘟嘟经纪人
收藏
专利号: 2019103737012
申请人: 杭州富阳泳富机械有限公司
专利类型:发明专利
专利状态:已下证
专利领域: 一般车辆
更新日期:2025-09-29
缴费截止日期: 暂无
价格&联系人
年费信息
委托购买

摘要:

权利要求书:

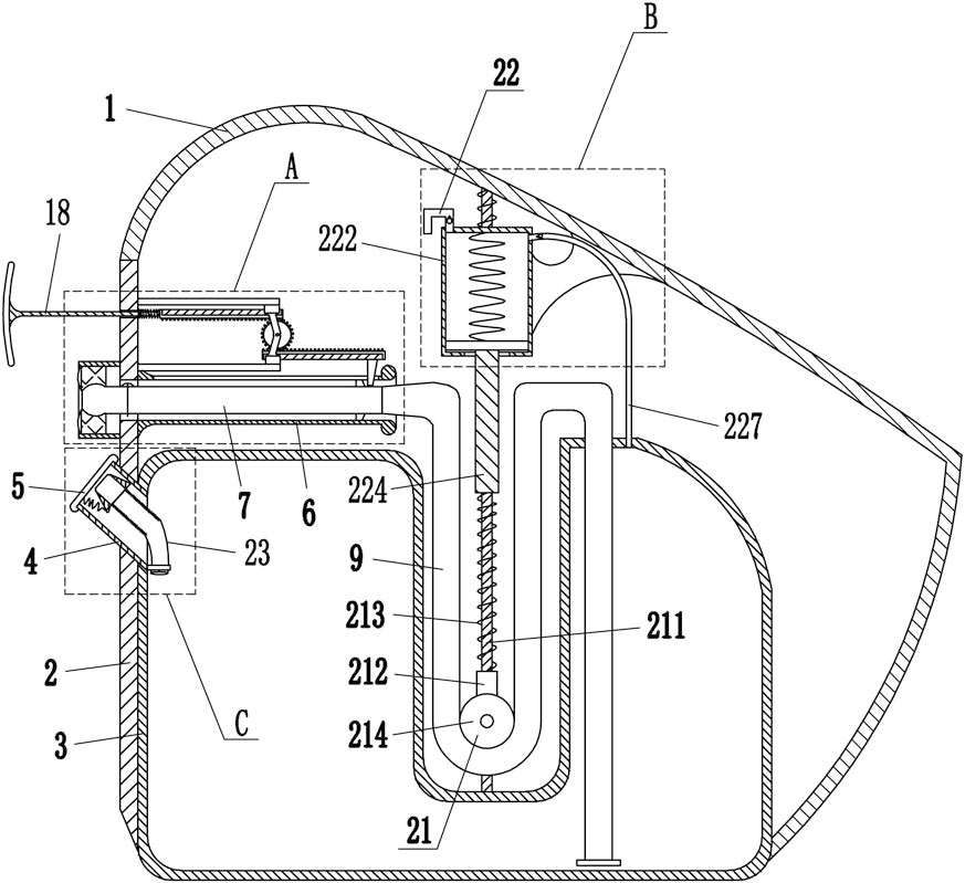
1.一种汽车驾驶员饮水器,包括有安装架(1)、竖板(2)、水箱(3)、进水管(4)、盖子(5)、导管(6)、硬管(7)、阀门(8)和软管(9),安装架(1)底部左侧连接有竖板(2),水箱(3)安装于竖板(2)右侧,水箱(3)右侧与安装架(1)连接,竖板(2)左侧中部倾斜式连接有用于添加水的进水管(4),进水管(4)与水箱(3)相通,进水管(4)上设有盖子(5),竖板(2)右侧上部连接有导管(6),导管(6)内放置有用于使水流动的硬管(7),硬管(7)穿过竖板(2)上部,硬管(7)内设有可将水箱(3)密封的阀门(8),硬管(7)右端连接有用于使水流动的软管(9),软管(9)穿过水箱(3)顶部右侧,其特征在于:还包括有安装板(10)、滑块(11)、滑轨(12)、齿条(13)、连接板(14)、齿轮(15)、推块(16)、推杆(18)、第一弹簧(19)、限位环(20)和推动机构(21),竖板(2)右侧上部连接有两个安装板(10),两个安装板(10)均位于导管(6)上方,两个安装板(10)内侧固接有起导向作用的滑块(11),两个滑块(11)上均滑动式设有滑轨(12),两个滑轨(12)后侧均栓接有齿条(13),两个滑块(11)之间连接有连接板(14),连接板(14)后侧转动式安装有齿轮(15),两个齿条(13)都与齿轮(15)啮合,下方的齿条(13)底部右侧连接有形状为梯形的推块(16),导管(6)顶部开有起导向作用的开口(17),推块(16)穿过开口(17),硬管(7)右部连接有限位环(20),形状为T形的推杆(18)连接在上方齿条(13)的左端,推杆(18)穿过竖板(2)上部,推杆(18)上绕有第一弹簧(19),第一弹簧(19)一端与竖板(2)连接,第一弹簧(19)另一端与上方的齿条(13)连接,安装架(1)内侧顶部设有可使软管(9)恢复原状的推动机构(21);推动机构(21)包括有滑杆(211)、滑套(212)、第二弹簧(213)和压轮(214),安装架(1)内侧顶部栓接有起导向作用的滑杆(211),滑杆(211)底端与水箱(3)顶部连接,滑杆(211)上套有滑套(212)和第二弹簧(213),第二弹簧(213)位于滑套(212)上方,第二弹簧(213)一端与滑套(212)顶部连接,第二弹簧(213)另一端与安装架(1)连接,滑套(212)前侧转动式安装有用于推动软管(9)的压轮(214),压轮(214)与软管(9)接触;还包括有加压机构(22),加压机构(22)包括有连板(221)、压缩缸(222)、活塞(223)、移动杆(224)、第三弹簧(225)、进气管(226)、出气管(227)和单向阀(228),安装架(1)内侧顶部栓接有连板(221),连板(221)位于滑杆(211)右侧,连板(221)左侧栓接有压缩缸(222),压缩缸(222)内放置有活塞(223),移动杆(224)固接于活塞(223)底部中间,移动杆(224)穿过压缩缸(222)底部中间,压缩缸(222)内顶部与活塞(223)顶部之间连接有第三弹簧(225),形状为n形的进气管(226)连接在压缩缸(222)顶部左侧,压缩缸(222)与水箱(3)通过出气管(227)连通,出气管(227)和进气管(226)内均设有用于使空气单向流动的单向阀(228);还包括有波纹管(23)、锥形套(24)和拉线(25),水箱(3)内左侧上部连接有用于使水流动的波纹管(23),波纹管(23)位于进水管(4)内,波纹管(23)顶端连接有锥形套(24),锥形套(24)上连接有拉线(25),拉线(25)与盖子(5)连接。

2.如权利要求1所述的一种汽车驾驶员饮水器,其特征在于:还包括有安装套(26)、海绵环(27)和橡胶板(28),竖板(2)左侧上部固接有形状为圆形的安装套(26),安装套(26)内侧连接有用于吸水的海绵环(27),硬管(7)与海绵环(27)内壁接触,安装套(26)内侧右部的上下两侧均固接有橡胶板(28),两个橡胶板(28)都与海绵环(27)左侧连接。