欢迎来到知嘟嘟! 联系电话:13095918853 卖家免费入驻,海量在线求购! 卖家免费入驻,海量在线求购!
知嘟嘟
我要发布
联系电话:13095918853
知嘟嘟经纪人
收藏
专利号: 2019103540146
申请人: 河海大学
专利类型:发明专利
专利状态:已下证
专利领域: 水利工程;基础;疏浚
更新日期:2024-08-20
缴费截止日期: 暂无
价格&联系人
年费信息
委托购买

摘要:

权利要求书:

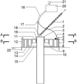
1.一种适用于中等水深的新型注浆式重力锚桩基础,其特征在于,包括重力室和钢管桩,所述的重力室位于海床泥面上,重力室的底面上设有桩盘,所述的钢管桩贯穿整个重力室和桩盘,并插入海床深处,其中,位于重力室内部的钢管桩上设有若干排沿钢管桩周向分布的剪力键,重力室的底部设有环形裙板,所述的裙板插入海床内,重力室内设有注浆内管,所述的注浆内管与压浆机连接。

2.根据权利要求1所述的一种适用于中等水深的新型注浆式重力锚桩基础,其特征在于,所述的桩盘与钢管桩之间设有加强板。

3.根据权利要求1所述的一种适用于中等水深的新型注浆式重力锚桩基础,其特征在于,所述的重力室包括顶板、侧壁和底板,所述的底板位于海床泥面上,其上表面设有桩盘,底部设有裙板。

4.根据权利要求1所述的一种适用于中等水深的新型注浆式重力锚桩基础,其特征在于,所述的钢管桩穿过顶板、桩盘和底板。

5.根据权利要求1所述的一种适用于中等水深的新型注浆式重力锚桩基础,其特征在于,所述的重力室内部沿周向布置有厚立板,所述的厚立板间隔90°布置,厚立板之间分布有若干薄立板。

6.根据权利要求1所述的一种适用于中等水深的新型注浆式重力锚桩基础,其特征在于,所述的注浆内管沿重力室的侧壁、底板与桩盘布置。

7.根据权利要求1所述的一种适用于中等水深的新型注浆式重力锚桩基础,其特征在于,所述的注浆内管通过注浆软管、转换盘、输浆管与压浆机连接,所述的压浆机上连接有压力表。

8.根据权利要求1所述的一种适用于中等水深的新型注浆式重力锚桩基础,其特征在于,所述重力室的顶板的上表面沿周向分布有泄压阀、连接栓和吊环,所述的连接栓连接注浆内管和注浆软管。

9.根据权利要求1所述的一种适用于中等水深的新型注浆式重力锚桩基础,其特征在于,所述钢管桩的顶部设有桩帽,桩帽的顶部设有系泊环,所述系泊环连接系泊缆。