欢迎来到知嘟嘟! 联系电话:13336804447 卖家免费入驻,海量在线求购! 卖家免费入驻,海量在线求购!
知嘟嘟
我要发布
联系电话:13336804447
知嘟嘟经纪人
收藏
专利号: 2019103459553
申请人: 温州职业技术学院
专利类型:发明专利
专利状态:已下证
专利领域: 鞋类
更新日期:2024-10-25
缴费截止日期: 暂无
价格&联系人
年费信息
委托购买

摘要:

权利要求书:

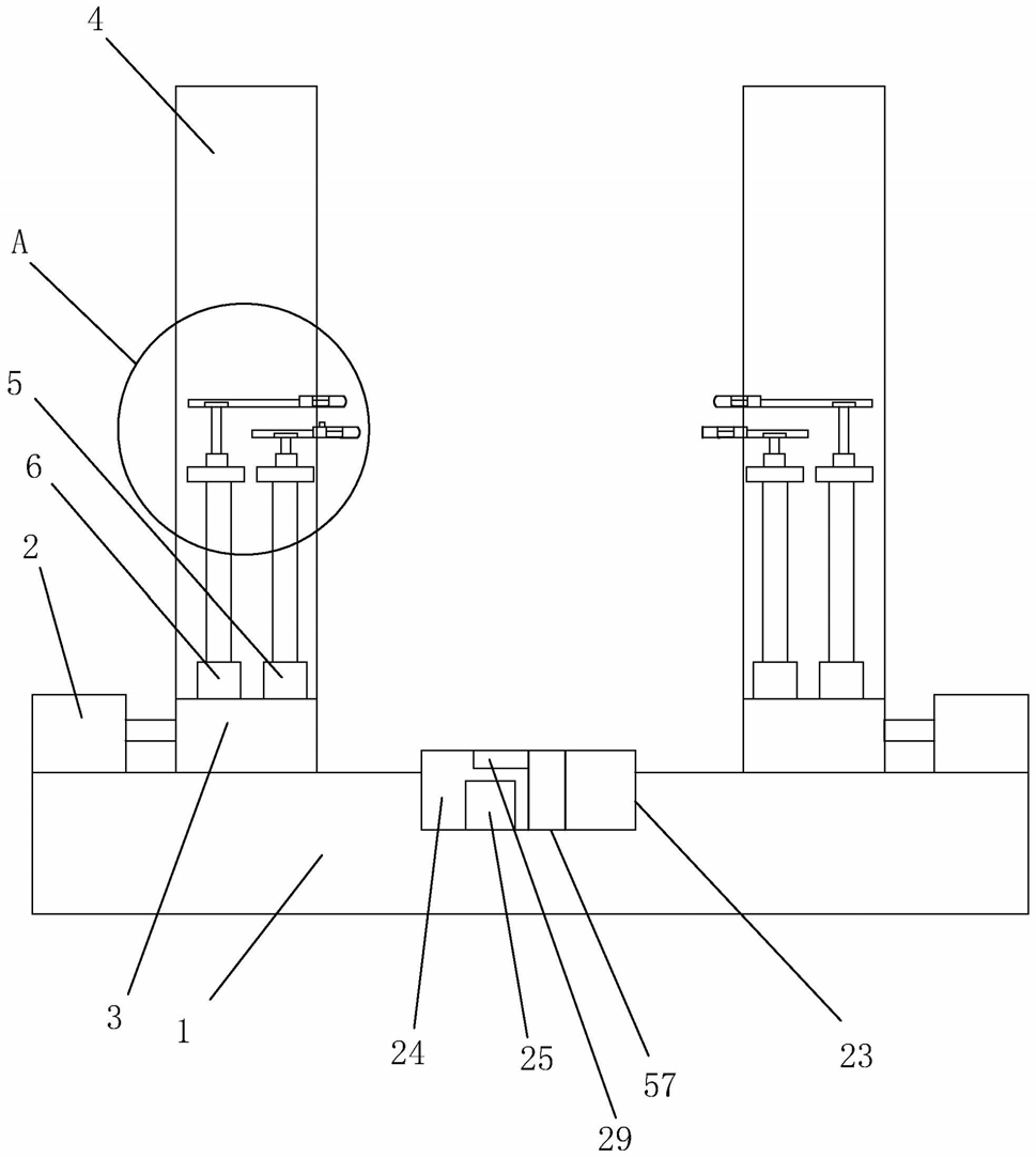
1.一种用于鞋类生产制作的高效率折边机装置,包括底架(1),其特征在于:所述底架(1)的两侧分别固定连接有水平气缸(2),所述水平气缸(2)连接有推动板(3),所述推动板(3)固定连接有竖直板(4),所述竖直板(4)的底部分别设置有第一抬升气缸(5)和第二抬升气缸(6),所述第一抬升气缸(5)连接有第一抬升板(7),所述第一抬升板(7)上设置有第一驱动电机(8),所述第一驱动电机(8)的出轴套接有第一驱动齿轮(9),所述第一驱动齿轮(9)啮合有第一齿轮条(10),所述第一齿轮条(10)一体连接有第一贴合板(11),所述第一贴合板(11)的一端设置有倒角,所述第二贴合板(18)的一侧设置有位置传感器(12),所述第一贴合板(11)内设置有与外界连通的空腔,所述空腔内设置有粘结剂盒(13),所述粘结剂盒(13)的开口通过空腔与外界连通,所述粘结剂盒(13)的开口处设置有封闭粘结剂盒(13)开口的封闭件,所述第二抬升气缸(6)连接有第二抬升板(14),所述第二抬升板(14)上设置有第二驱动电机(15),所述第二驱动电机(15)的出轴套接有第二驱动齿轮(16),所述第二驱动齿轮(16)啮合有第二齿轮条(17),所述第二齿轮条(17)一体连接有第二贴合板(18),所述第二贴合板(18)的一端设置有倒角。

2.根据权利要求1所述的一种用于鞋类生产制作的高效率折边机装置,其特征在于:所述封闭件包括与第一贴合板(11)连接的橡胶带(19),所述橡胶带(19)一体连接有封闭盖(20),所述封闭盖(20)与粘结剂盒(13)的开口存在挤压作用,所述封闭盖(20)的一侧一体连接有固定块(21)。

3.根据权利要求1所述的一种用于鞋类生产制作的高效率折边机装置,其特征在于:所述第一贴合板(11)的顶部设置有与空腔连通的取出槽(22),所述取出槽(22)可用于放置和取出粘结剂盒(13)。

4.根据权利要求1所述的一种用于鞋类生产制作的高效率折边机装置,其特征在于:所述底架(1)设置有滑动槽(23),所述底架(1)设置有处于滑动槽(23)内的滑动板(24),所述滑动板(24)连接有与底架(1)固定连接的滑动气缸(25)。

5.根据权利要求4所述的一种用于鞋类生产制作的高效率折边机装置,其特征在于:所述底架(1)的一侧设置有转动轮(26),所述转动轮(26)连接有多个转动板(27),所述滑动板(24)设置有用于放置模具的配合槽(29)。