欢迎来到知嘟嘟! 联系电话:13336804447 卖家免费入驻,海量在线求购! 卖家免费入驻,海量在线求购!
知嘟嘟
我要发布
联系电话:13336804447
知嘟嘟经纪人
收藏
专利号: 2019103342802
申请人: 陕西师范大学
专利类型:发明专利
专利状态:已下证
专利领域: 水、废水、污水或污泥的处理
更新日期:2024-01-05
缴费截止日期: 暂无
价格&联系人
年费信息
委托购买

摘要:

权利要求书:

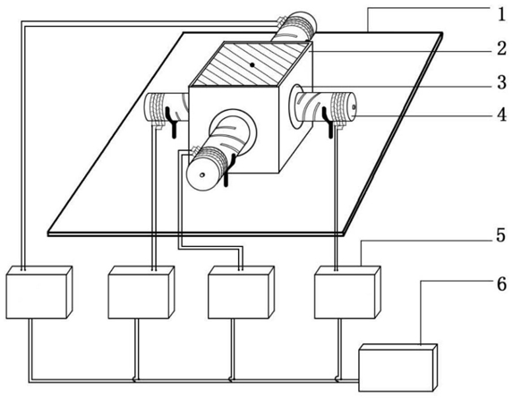
1.一种小型涡旋声束发生器,包括底座和固定在底座上的盛液槽,其特征在于:在盛液槽外设置有涡旋超声波发生装置,所述涡旋超声波发生装置包括激励信号源和设置在盛液槽外壁上的n个低频螺旋开槽换能器,n≥3,n个低频螺旋开槽换能器在盛液槽外壁上均匀分布且相邻的两个低频螺旋开槽换能器之间的相位差△θ=360°/n,使各个低频螺旋开槽换能器产生的纵向声束在液体介质中形成相互叠加的涡旋声束;

所述盛液槽为正多边形槽,且边数为偶数,所述低频螺旋开槽换能器均匀分布在正多边形槽侧壁中心位置,相对设置的两个低频螺旋开槽换能器的水平距离为c/2的整数倍,c为声波速度;便于相对方向的超声波在液体介质中相互叠加从而形成驻波,具有正交相位的不同方向的驻波在液体介质中就会形成涡旋声束;

低频螺旋开槽换能器的振动频率f=20~80kHz。

2.根据权利要求1所述的小型涡旋声束发生器,其特征在于:所述低频螺旋开槽换能器包括依次设置的前盖板、压电陶瓷堆以及后盖板,所述压电陶瓷堆的正负极引线通过放大器与激励信号源的信号输出端连接;所述前盖板是在等径直管的侧壁上开设有至少2条可放大纵向振幅的螺旋通槽,使前盖板形成弹簧结构。

3.根据权利要求2所述的小型涡旋声束发生器,其特征在于:所述螺旋通槽的起点在等径直管的同一圆周上均匀分布。

4.根据权利要求3所述的小型涡旋声束发生器,其特征在于:所述螺旋通槽的螺旋升角为20°~60°,螺距与等径直管的长度比值为0.5~0.95。

5.根据权利要求2所述的小型涡旋声束发生器,其特征在于:所述前盖板的纵振动输出端通过辐射板与盛液槽外壁耦合接触。

6.一种利用权利要求1所述的小型涡旋声束发生器实现的涡旋声束粒子操控方法,其特征在于包括以下步骤:激励信号源按照相位差△θ=360°/n的激励信号分别对固定在盛液槽外壁上的n个低频螺旋开槽换能器作用,使n个低频螺旋开槽换能器产生n条向盛液槽中心辐射且相位差为360°/n的纵向声束,n条纵向声束相互叠加在盛液槽中形成涡旋声束,涡旋声束携带轨道角动量,使盛液槽中的微粒在涡旋声束的作用下旋转和聚集;通过改变激励信号的幅度,改变微粒的转动力矩;通过改变激励信号的相位差,改变微粒的转动方向,从而实现不同大小粒子的操控。

7.根据权利要求6所述的涡旋声束粒子操控方法,其特征在于,所述n个低频螺旋开槽换能器是通过在等径直管的侧壁上开设有至少2条可放大纵向振幅的螺旋通槽,使前盖板形成弹簧结构,压电陶瓷堆受到激励后应变和应力叠加作用在前盖板上,使激励产生的纵向声束的振幅放大后向盛液槽的中心辐射,在盛液槽中形成涡旋声束。