欢迎来到知嘟嘟! 联系电话:13095918853 卖家免费入驻,海量在线求购! 卖家免费入驻,海量在线求购!
知嘟嘟
我要发布
联系电话:13095918853
知嘟嘟经纪人
收藏
专利号: 201910317622X
申请人: 常州大学
专利类型:发明专利
专利状态:已下证
专利领域: 无轨陆用车辆
更新日期:2025-10-18
缴费截止日期: 暂无
价格&联系人
年费信息
委托购买

摘要:

权利要求书:

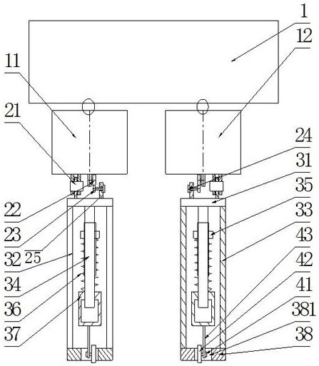
1.一种压力控制运动模式切换的机器人小腿足,包括机器人主体(1),机械大腿A(11),机械大腿B(12),分别固定装设于机械大腿A(11)与机械大腿B(12)上的两组小腿足驱动机构,采用铰接方式分别装设于所述机械大腿A(11)、机械大腿B(12)上的两组漫步足小腿机构,分别装设于两组漫步足小腿机构上的两组滚动足小腿机构,其特征在于:所述两组小腿足驱动机构结构完全相同,均包括分别固定装设于所述机械大腿A(11)与机械大腿B(12)上的齿轮轴A(22)、与所述齿轮轴A(22)啮合传动的齿轮B(23)、以及固定装设于所述漫步足小腿机构上的步进电机A(24);所述齿轮B(23)固定装设于所述步进电机A(24)的输出轴上,所述步进电机A(24)装设在凸台支架(25)上,其输出轴穿过设于凸台支架(25)上的滚动轴承,所述凸台支架(25)固定装设于所述漫步足小腿机构上;所述机械大腿A(11)与机械大腿B(12)的下端与所述漫步足小腿机构的上端均采用销钉(21)铰接装设;

所述两组漫步足小腿机构结构完全相同,均包括连接板(31),固定装设于所述连接板(31)下端面且相互平行的小腿杆A(32)和小腿杆(33),装设于所述小腿杆A(32)和小腿杆(33)下端的脚底板(38),固定装设于所述连接板(31)下端面且位于所述小腿杆A(32)和小腿杆(33)之间的螺纹滑动杆(34),装设于所述螺纹滑动杆(34)上高度可调节的调节螺母(35)和滑动套筒(37),装设于所述螺纹滑动杆(34)上并且其两端分别与所述调节螺母(35)和滑动套筒(37)连接的抗压缩螺旋弹簧(36);

所述两组滚动足小腿机构结构完全相同,均包括滚轮支架(43)、采用电机支柱装设于所述滚轮支架(43)上的步进电机B(41)、装设于所述步进电机B(41)输出轴上的滚轮(42),所述步进电机B(41)装设于所述滚轮支架(43)上,其输出轴穿过设于所述滚轮支架(43)上的滚动轴承,所述滚轮支架(43)上端固定装设于所述滑动套筒(37)的下端,所述脚底板(38)中部开设有可自由通过滚轮(42)的滚轮通孔(381)。

2.如权利要求1所述的一种压力控制运动模式切换的机器人小腿足,其特征在于,所述螺纹滑动杆(34)的上部设有与所述调节螺母(35)相配合的外螺纹,其下部为光杆,所述光杆可自由穿过装设于所述滑动套筒(37)上部的直线轴承。

3.如权利要求2所述的一种压力控制运动模式切换的机器人小腿足,其特征在于,所述抗压缩螺旋弹簧(36)为载荷能力大的金属螺旋弹簧。

4.如权利要求1所述的一种压力控制运动模式切换的机器人小腿足,其特征在于,所述抗压缩螺旋弹簧(36)承受机器人主体不同的重量,可使其抗压缩螺旋弹簧(36)发生不同程度的压缩变形。

5.如权利要求4所述的一种压力控制运动模式切换的机器人小腿足,其特征在于,所述抗压缩螺旋弹簧(36)承受机器人主体全部重量的80%以上时,所述滚轮(42)的最低端不高于所述滚轮通孔(381)的最低端;所述抗压缩螺旋弹簧(36)承受近百分之一百的机器人重量时,单个所述脚底板(38)接触地面。

6.如权利要求5所述的一种压力控制运动模式切换的机器人小腿足,其特征在于,所述抗压缩螺旋弹簧(36)承受机器人本体全部重量的60%以下时,所述滚轮(42)的中心线不低于所述滚轮通孔(381)的最低端。

7.如权利要求1‑6任一项所述的一种压力控制运动模式切换的机器人小腿足,其特征在于,所述脚底板(38)为两层复合平面板组成,其下层的平面板为摩擦系数高的非金属材料薄板,其上层的平面板为高强度铝合金平板。