欢迎来到知嘟嘟! 联系电话:13336804447 卖家免费入驻,海量在线求购! 卖家免费入驻,海量在线求购!
知嘟嘟
我要发布
联系电话:13336804447
知嘟嘟经纪人
收藏
专利号: 2019102831708
申请人: 常熟理工学院
专利类型:发明专利
专利状态:已下证
专利领域: 一般车辆
更新日期:2024-02-26
缴费截止日期: 暂无
价格&联系人
年费信息
委托购买

摘要:

权利要求书:

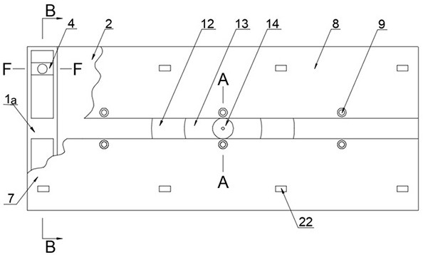
1.一种可预防坠落物砸毁汽车顶蓬的装置,其特征在于,包括气动伸缩组件、顶蓬左板、顶蓬右板和控制器,所述气动伸缩组件与汽车钢结构顶部固定连接,所述气动伸缩组件的伸缩方向呈上下方向设置,所述气动伸缩组件的伸缩杆顶部分别与所述顶蓬左板的中部右侧的下表面以及所述顶蓬右板的中部左侧的下表面铰接,所述汽车钢结构顶部设有前横向滑槽和后横向滑槽,所述前横向滑槽内设有前左滑动支撑和前右滑动支撑,所述后横向滑槽设有后左滑动支撑和后右滑动支撑,所述前左滑动支撑的顶部与所述顶蓬左板的前端中部的下表面铰接,所述前右滑动支撑的顶部与所述顶蓬右板的前端中部的下表面铰接,所述后左滑动支撑的顶部与所述顶蓬左板的后端中部的下表面铰接,所述后右滑动支撑的顶部与所述顶蓬右板的后端中部的下表面铰接,所述顶蓬左板和所述顶蓬右板的表面设有感应上下方向加速度的第一加速度传感器,所述第一加速度传感器与所述控制器连接,所述控制器用于控制所述气动伸缩组件伸缩。

2.根据权利要求1所述的可预防坠落物砸毁汽车顶蓬的装置,其特征在于,所述顶蓬左板的上表面右边缘和顶蓬右板的上表面左边缘设有若干延时触发柱,所述延时触发柱包括触发柱外筒、触发柱内筒和弹簧,所述触发柱外筒与所述顶蓬左板或顶蓬右板固定连接,所述触发柱外筒的顶部开口内缩,所述触发柱内筒的底边设有外凸缘,所述触发柱外筒卡套于所述触发柱内筒外,所述弹簧设置在所述触发柱内筒内,弹簧顶部与所述触发柱内筒的筒顶内壁固定连接,弹簧底部与所述顶蓬左板或顶蓬右板固定连接。

3.根据权利要求2所述的可预防坠落物砸毁汽车顶蓬的装置,其特征在于,所述触发柱内筒的筒顶上设有感应上下方向加速度的第二加速度传感器,所述第二加速度传感器与所述控制器连接。

4.根据权利要求1所述的可预防坠落物砸毁汽车顶蓬的装置,其特征在于,所述顶蓬左板与所述汽车钢结构顶部之间连接左回位拉簧,所述左回位拉簧与所述顶蓬左板的连接点位于所述顶蓬左板与所述前左滑动支撑的铰接点的右方。

5.根据权利要求1所述的可预防坠落物砸毁汽车顶蓬的装置,其特征在于,所述顶蓬右板与所述汽车钢结构顶部之间连接右回位拉簧,所述右回位拉簧与所述顶蓬右板的连接点位于所述顶蓬右板与所述前右滑动支撑的铰接点的左方。

6.根据权利要求1所述的可预防坠落物砸毁汽车顶蓬的装置,其特征在于,所述前横向滑槽和所述后横向滑槽为燕尾槽。

7.根据权利要求1所述的可预防坠落物砸毁汽车顶蓬的装置,其特征在于,包括高压储气罐和空气压缩机,所述高压储气罐的出口通过启动气阀与所述气动伸缩组件的进气口连接,所述气动伸缩组件的出气口连接放气回位阀,所述空气压缩机的出口通过充气阀与所述高压储气罐的进气口连接,所述控制器与所述空气压缩机、所述启动气阀、所述放气回位阀和所述充气阀连接。