欢迎来到知嘟嘟! 联系电话:13336804447 卖家免费入驻,海量在线求购! 卖家免费入驻,海量在线求购!
知嘟嘟
我要发布
联系电话:13336804447
知嘟嘟经纪人
收藏
专利号: 2019102651654
申请人: 广州科技职业技术学院
专利类型:发明专利
专利状态:已下证
专利领域: 无轨陆用车辆
更新日期:2024-02-23
缴费截止日期: 暂无
价格&联系人
年费信息
委托购买

摘要:

权利要求书:

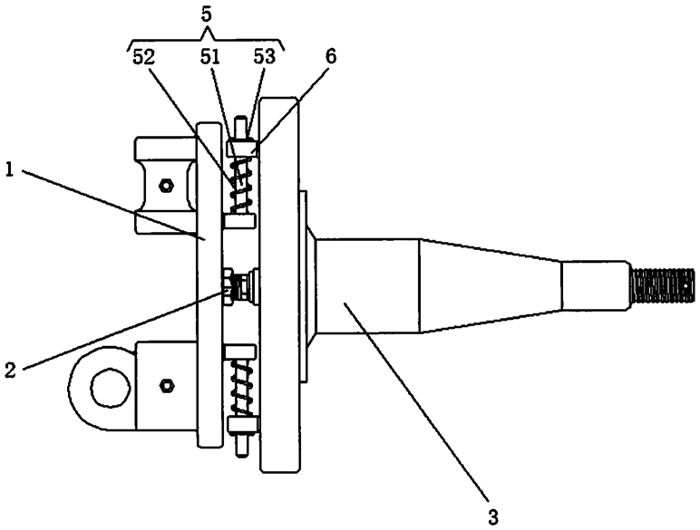
1.一种可应对冲击荷载的汽车转向节,包括转向臂(1)、滑扣机构(2)、转向节轴头(3)、滑槽(4)、减压装置(5)和卡块(6),其特征在于:所述转向臂(1)一侧的中部通过滑扣机构(2)与转向节轴头(3)内腔中开设的滑槽(4)活动卡接,所述转向臂(1)一侧的四个拐角均固定安装有减压装置(5),且转向臂(1)的一侧通过四组减压装置(5)与转向节轴头(3)一侧中固定连接的四组卡块(6)活动连接。2.根据权利要求1所述的一种可应对冲击荷载的汽车转向节,其特征在于:所述滑扣机构(2)包括螺纹连杆(21)和卡扣(22),所述螺纹连杆(21)的一端与转向臂(1)一侧的中部螺纹连接,所述螺纹连杆(21)的另一端活动套接有卡扣(22),且卡扣(22)的一端与转向节轴头(3)内腔中开设的滑槽(4)卡接。3.根据权利要求2所述的一种可应对冲击荷载的汽车转向节,其特征在于:所述螺纹连杆(21)外表面的中部设为正六边形结构。4.根据权利要求1所述的一种可应对冲击荷载的汽车转向节,其特征在于:所述减压装置(5)包括L型连杆(51)、减压弹簧(52)和压板(53),所述L型连杆(51)的一端与转向臂(1)一侧的顶部固定连接,所述L型连杆(51)外表面的顶部且位于卡块(6)的底端活动套接有减压弹簧(52),所述L型连杆(51)的顶端贯穿并延伸至卡块(6)的顶部且通过螺栓将压板(53)与卡块(6)的顶端螺纹连接。5.根据权利要求4所述的一种可应对冲击荷载的汽车转向节,其特征在于:所述压板(53)包括通孔(531)和定位销(532),所述压板(53)正面的中部开设有通孔(531),且压板(53)正面且位于通孔(531)的周围环形阵列排布有四组定位销(532)。6.根据权利要求5所述的一种可应对冲击荷载的汽车转向节,其特征在于:所述卡块(6)包括U型孔(61)和定位螺纹孔(62),所述卡块(6)正面的中部开设有U型孔(61),且U型孔(61)的周围开设有四组定位螺纹孔(62),同时定位螺纹孔(62)与定位销(532)的位置关系相互对应。