欢迎来到知嘟嘟! 联系电话:13336804447 卖家免费入驻,海量在线求购! 卖家免费入驻,海量在线求购!
知嘟嘟
我要发布
联系电话:13336804447
知嘟嘟经纪人
收藏
专利号: 2019102066434
申请人: 东北林业大学
专利类型:发明专利
专利状态:已下证
专利领域: 一般车辆
更新日期:2024-02-23
缴费截止日期: 暂无
价格&联系人
年费信息
委托购买

摘要:

权利要求书:

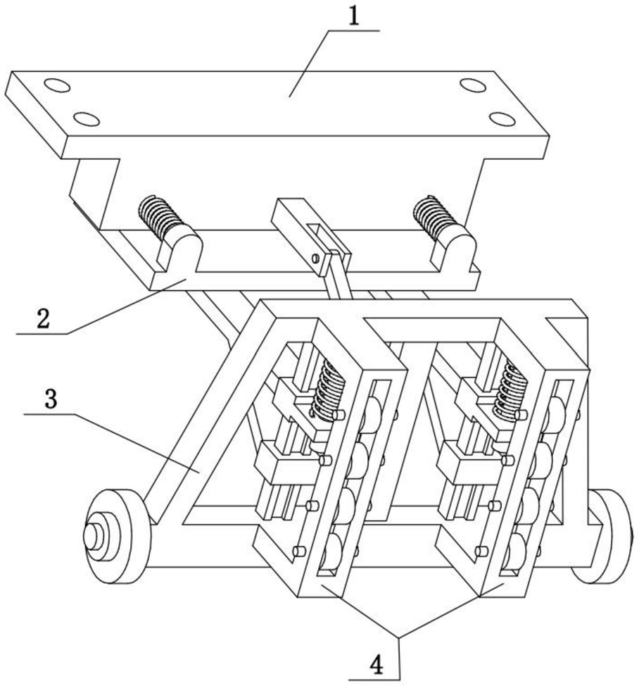
1.货车防追尾装置,包括固定座(1)、主架体(2)、防撞组件(3)和滑轮件(4),其特征在于:所述主架体(2)可以在固定座(1)上前后滑动,防撞组件(3)可以在主架体(2)的前端竖直滑动,滑轮件(4)左右设置有两个,两个滑轮件(4)均设置在防撞组件(3)上。

2.根据权利要求1所述的货车防追尾装置,其特征在于:所述防撞组件(3)相对固定座(1)向后移动的同时,还会相对固定座(1)向下移动。

3.根据权利要求2所述的货车防追尾装置,其特征在于:所述两个滑轮件(4)均与主架体(2)的前端滑动连接。

4.根据权利要求3所述的货车防追尾装置,其特征在于:所述固定座(1)包括固定块(1-

1)、铰接柱(1-2)和铰接槽(1-3),固定块(1-1)的前端中间位置固定连接有铰接柱(1-2),铰接柱(1-2)的前端设置有铰接槽(1-3);

所述主架体(2)包括平板(2-1)、后凸座(2-2)、滑轨杆(2-3)、前凸座(2-4)、前凸板(2-

7)、上滑套(2-8)和前伸板(2-9),平板(2-1)上端面后端的左右两端均固定连接有后凸座(2-2),平板(2-1)上端面前端的左右两端均固定连接有前凸座(2-4),位于左端的后凸座(2-2)与位于左端的前凸座(2-4)之间固定连接有滑轨杆(2-3),位于右端的后凸座(2-2)与位于右端的前凸座(2-4)之间固定连接有滑轨杆(2-3),两个滑轨杆(2-3)上均套接有压缩弹簧I,平板(2-1)下端的左右两端均固定连接有前伸板(2-9),两个前伸板(2-9)的前端举办固定连接有上滑套(2-8),两个上滑套(2-8)的掐前端均固定连接有前凸板(2-7),固定块(1-1)的左右两端分别滑动连接在两个滑轨杆(2-3)上,两个压缩弹簧I均位于固定块(1-1)的前端;

所述防撞组件(3)包括下梁杆(3-1)、工形杆(3-2)、中间竖杆(3-3)、斜连杆(3-4)、上梁杆(3-5)和两侧梁杆(3-6),下梁杆(3-1)的上端中间位置固定连接有中间竖杆(3-3),下梁杆(3-1)上端的左右两端均固定连接有工形杆(3-2),两个工形杆(3-2)的上端固定连接有上梁杆(3-5),中间竖杆(3-3)的上端固定连接在上梁杆(3-5)上,下梁杆(3-1)和上梁杆(3-

5)的左端之间固定连接有两侧梁杆(3-6),下梁杆(3-1)和上梁杆(3-5)的右端之间固定连接有两侧梁杆(3-6),斜连杆(3-4)的一端铰接连接在中间竖杆(3-3)的后端中间位置,斜连杆(3-4)的另一端铰接连接在铰接柱(1-2)上的铰接槽(1-3)位置,两个上滑套(2-8)分别滑动连接在两个工形杆(3-2)上;

所述滑轮件(4)包括弹簧套杆(4-5)和上连板(4-6),上梁杆(3-5)的左右两端均固定连接有上连板(4-6),两个上连板(4-6)的下端均固定连接有弹簧套杆(4-5),两个弹簧套杆(4-5)分别滑动连接在两个前凸板(2-7)上,两个弹簧套杆(4-5)上均套接连接有压缩弹簧II,两个压缩弹簧II分别位于两个前凸板(2-7)的上端。

5.根据权利要求4所述的货车防追尾装置,其特征在于:所述固定座(1)还包括固定板(1-4),固定块(1-1)的上端固定连接有固定板(1-4),固定板(1-4)上设置有多个螺钉插孔。

6.根据权利要求4所述的货车防追尾装置,其特征在于:所述主架体2还包括斜筋板(2-

5)和下滑套(2-6),两个前伸板(2-9)的下端均固定连接有斜筋板(2-5),两个斜筋板(2-5)的前端均固定连接有下滑套(2-6),两个下滑套(2-6)分别位于两个上滑套(2-8)的下端。

7.根据权利要求4所述的货车防追尾装置,其特征在于:所述防撞组件(3)还包括轮子(3-7),下梁杆(3-1)的左右两端均转动连接有轮子(3-7)。

8.根据权利要求4所述的货车防追尾装置,其特征在于:所述滑轮件(4)还包括撞击杆(4-1)、转轮槽(4-2)、转轮(4-3)和下连板(4-4),下梁杆(3-1)的左右两端均固定连接有下连板(4-4),位于左端的下连板(4-4)与位于左端的上连板(4-6)之间固定连接有撞击杆(4-

1),位于右端的下连板(4-4)与位于右端的上连板(4-6)之间固定连接有撞击杆(4-1),两个撞击杆(4-1)上均设置有转轮槽(4-2),两个转轮槽(4-2)上均通过销轴转动连接有多个转轮(4-3)。

9.根据权利要求6所述的货车防追尾装置,其特征在于:所述两个下滑套(2-6)分别滑动连接在两个工形杆(3-2)上。

10.根据权利要求9所述的货车防追尾装置,其特征在于:所述工形杆(3-2)的横截面为“工”字形。