欢迎来到知嘟嘟! 联系电话:13336804447 卖家免费入驻,海量在线求购! 卖家免费入驻,海量在线求购!
知嘟嘟
我要发布
联系电话:13336804447
知嘟嘟经纪人
收藏
专利号: 2019101033787
申请人: 中国地质大学(武汉)
专利类型:发明专利
专利状态:已下证
专利领域: 机床;其他类目中不包括的金属加工
更新日期:2024-02-23
缴费截止日期: 暂无
价格&联系人
年费信息
委托购买

摘要:

权利要求书:

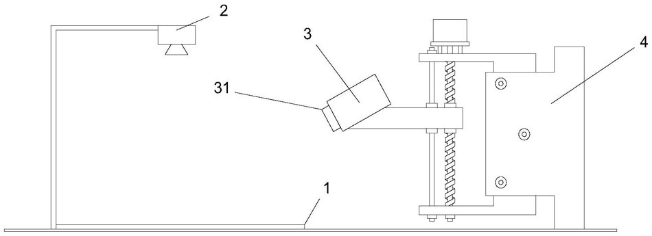
1.一种基于视觉伺服与卡尔曼滤波补偿的二维激光雕刻机,其特征在于,包含:

加工平台,用于固定被雕刻器件;

拍摄装置,用于拍摄所述被雕刻器件,拍摄装置具有摄像头,镜头上装有紫外滤光片,只有紫外光才能被摄像头识别;

激光器,用于发出紫外激光照射被雕刻器件,从而雕刻所述被雕刻器件,所述激光器具有对焦器;

激光器移动控制架,用于固定安装所述激光器,并移动所述激光器,从而调整所述激光器的照射位置;

控制组件,分别电性连接拍摄装置和激光器,用于对拍摄装置实时回传的图像中目标位置进行提取,并按照动态时延信息对坐标信息进行卡尔曼滤波,从而得到进行时延补偿后激光器在被雕刻器件上的照射点对应的实时位置,并根据对焦器与所述实时位置之间的距离,调整对焦器的焦距。

2.根据权利要求1所述的基于视觉伺服与卡尔曼滤波补偿的二维激光雕刻机,其特征在于,所述摄像头位于被雕刻器件的上方,固定角度进行拍摄。

3.根据权利要求1所述的基于视觉伺服与卡尔曼滤波补偿的二维激光雕刻机,其特征在于,所述激光器移动控制架具有水平移动装置和竖直移动装置,以分别在水平方向和竖直方向上移动激光器,从而调整所述激光器的照射位置。

4.根据权利要求1所述的基于视觉伺服与卡尔曼滤波补偿的二维激光雕刻机,其特征在于,所述激光器移动控制架具有水平丝杆、竖直丝杆以及一个激光器固定架,水平丝杆的两端分别穿过两侧固定壁上的固定孔而水平设置,水平丝杆穿过激光器固定架以将固定架固定在水平丝杆上,水平丝杆的一端穿过固定孔后连接第二电机的转动轴,第二电机用于在转动时带动水平丝杆在固定孔内旋进或旋出,从而带动激光器固定架在水平方向上移动;

激光器固定架的中间部分在竖直方向是中空的,上、下方均具有固定壁,竖直丝杆位于中空的部分,上、下端分别穿过上、下方的具有固定壁的固定孔,竖直丝杆在所述中空部分对应处上固定一滑台,滑台上固定所述激光器,水平丝杆的一端穿过固定孔后连接第一电机的转动轴,第一电机用于在转动时带动竖直丝杆在固定孔内旋进或旋出,从而带动激光器固定架在竖直方向上移动。

5.根据权利要求4所述的基于视觉伺服与卡尔曼滤波补偿的二维激光雕刻机,其特征在于,第一电机和第二电机分别连接电机驱动器,电机驱动器连接所述控制组件,以在控制组件的控制下,控制所述第一电机和第二电机的工作状态。

6.根据权利要求1所述的基于视觉伺服与卡尔曼滤波补偿的二维激光雕刻机,其特征在于,激光器的照射方向为:朝向被雕刻器件进行照射,且与竖直向下方向成一锐角a。

7.根据权利要求1所述的基于视觉伺服与卡尔曼滤波补偿的二维激光雕刻机,其特征在于,对焦器与所述实时位置之间的距离ΔL通过下述公式计算得出:其中,公式中参数定义如下:在地面坐标系中,激光对焦器的空间位置坐标为(x1,y1,z1),其中y1为基于视觉伺服的二维激光雕刻机结构所确定的定值,x1,y1分别随着水平、竖直方向的丝杆运动而改变,激光投影点的空间位置坐标为(x2,y2,z2),y2的值由拍摄装置识别所述实时位置获取,且激光器朝向被雕刻器件进行照射,且与竖直向下方向成一锐角a。

8.根据权利要求5所述的基于视觉伺服与卡尔曼滤波补偿的二维激光雕刻机,其特征在于,进行卡尔曼滤波时延补偿具体包括:S1、利用拍摄装置采集任意一组数据后,控制拍摄装置自身输出一脉冲给控制组件作为一组数据获取结束的标志,控制组件记录此时的时刻ti;

S2、控制组件在获得该组数据后,对数据进行解析,在控制组件自身完成对于该组数据的解析后,会根据解析后的数据进入定时器中断修改控制量,记录进入定时器的时间tn;其中,控制组件会按照固定的控制周期T'控制电机驱动器;

S3、计算时延:Δt=tn-ti;

S4、计算Δt/T'后进行取整处理得到补偿步数N;

S5、利用补偿步数N进行卡尔曼滤波时延期间观测量的拟合估计,进而对当前时刻状态量进行补偿估计。

9.根据权利要求8所述的基于视觉伺服与卡尔曼滤波补偿的二维激光雕刻机,其特征在于,取整处理为下述取整方式中的任意一种:四舍五入、去掉小数位保留整数、向上取整以及向下取整。