欢迎来到知嘟嘟! 联系电话:13336804447 卖家免费入驻,海量在线求购! 卖家免费入驻,海量在线求购!
知嘟嘟
我要发布
联系电话:13336804447
知嘟嘟经纪人
收藏
专利号: 2018220243071
申请人: 浙江浦江梅花锁业集团有限公司
专利类型:实用新型
专利状态:已下证
专利领域: 锁;钥匙;门窗零件;保险箱
更新日期:2023-08-24
缴费截止日期: 暂无
价格&联系人
年费信息
委托购买

摘要:

权利要求书:

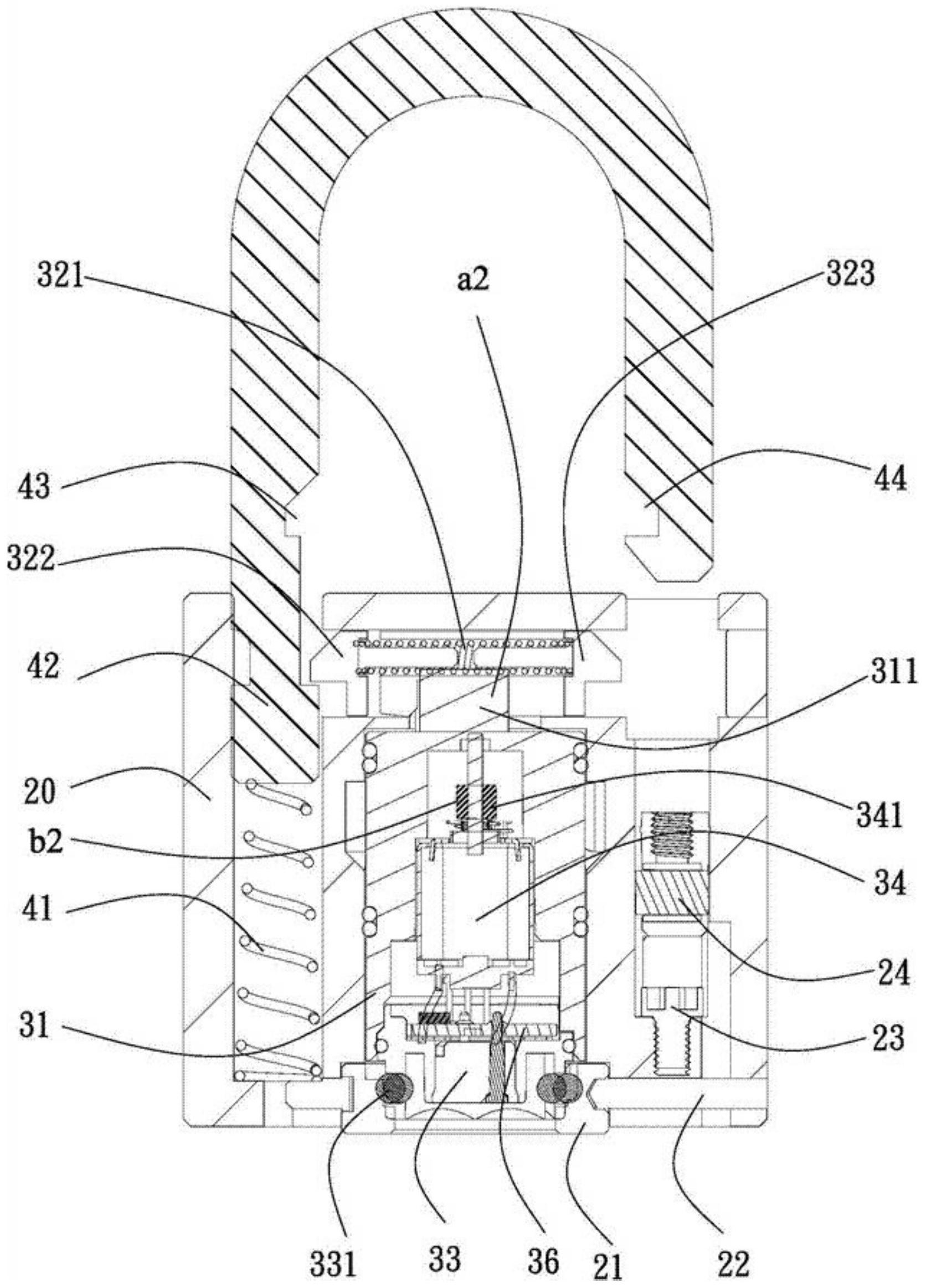
1.一种可隐藏备用钥匙接口的电子锁芯总成,其特征在于,包括:旋转手柄、与该旋转手柄转动连接的空转锁芯、与该旋转手柄转动连接的旋盖,该空转锁芯端部设有备用钥匙接口,所述旋转手柄端面设有与该备用钥匙接口对应的窗口,所述旋盖用于覆盖所述窗口,所述旋盖内设有电路板,所述空转锁芯包括电机、离合器,该离合器在所述电机工作时接合所述旋转手柄与锁具的解锁帽,在所述电机不工作时断离所述旋转手柄与所述解锁帽,该解锁帽与所述电机的定子转动连接,所述旋转手柄与所述电机的定子连接固定,所述电路板设有验证模块,该电路板连接有信息采集模块,所述验证模块用于将来自于所述信息采集模块的开锁信息与设定信息进行比较,验证通过则驱动所述电机工作一定时间。

2.根据权利要求1所述的可隐藏备用钥匙接口的电子锁芯总成,其特征在于,所述旋转手柄中部开设有用于和锁具的锁体转动连接轴向固定的连接凹槽。

3.根据权利要求1所述的可隐藏备用钥匙接口的电子锁芯总成,其特征在于,所述旋盖可沿所述旋转手柄轴向方向从限制旋转位置移动到自由旋转位置,所述旋盖与所述旋转手柄之间具有用于保持该旋盖处于所述限制旋转位置的保持弹簧,所述旋盖设有限位部,所述旋转手柄设有与该限位部配合的配合部,该限位部和该配合部在所述旋盖处于所述限制旋转位置时,相互配合。

4.根据权利要求3所述的可隐藏备用钥匙接口的电子锁芯总成,其特征在于,所述旋盖和所述旋转手柄通过平行于所述旋转手柄转动轴线的连接轴转动连接。

5.根据权利要求3所述的可隐藏备用钥匙接口的电子锁芯总成,其特征在于,所述保持弹簧套设在所述连接轴外,该连接轴端部设有用于支撑该保持弹簧的支撑端。

6.根据权利要求1所述的可隐藏备用钥匙接口的电子锁芯总成,其特征在于,所述信息采集模块为指纹传感器、蓝牙模块、射频模块、数据接口、密码键盘中的一种或几种。

7.根据权利要求1所述的可隐藏备用钥匙接口的电子锁芯总成,其特征在于,所述备用钥匙接口用于将锁具的电子钥匙与所述电路板电连接。

8.根据权利要求1所述的可隐藏备用钥匙接口的电子锁芯总成,其特征在于,所述旋转手柄内容纳有电池,该电池与所述电路板电连接。

9.根据权利要求1-8中任意一项所述的可隐藏备用钥匙接口的电子锁芯总成,其特征在于,所述离合器包括配合盖、活动块、推动部;所述解锁帽套装在所述配合盖外,所述配合盖套装在推动部外、所述配合盖与所述电机的定子连接固定,所述解锁帽内表面开设有与所述活动块位置对应的盲孔,所述配合盖开设有与所述活动块位置对应的通孔,所述推动部由所述电机驱动,所述电机工作时,所述推动部推动所述活动块,所述活动块的一部分容纳在所述盲孔内,所述活动块的另一部分容纳在所述通孔内;当所述电机不工作时,所述活动块完全位于所述配合盖外周面内,所述配合盖可在所述解锁帽内转动;所述电机具有与所述解锁帽内侧壁贴合的外表面。

10.一种可隐藏备用钥匙接口的智能锁具,其特征在于,包括如权利要求1-9中任意一项所述的可隐藏备用钥匙接口的电子锁芯总成。