欢迎来到知嘟嘟! 联系电话:13336804447 卖家免费入驻,海量在线求购! 卖家免费入驻,海量在线求购!
知嘟嘟
我要发布
联系电话:13336804447
知嘟嘟经纪人
收藏
专利号: 2018218647556
申请人: 浙江师范大学
专利类型:实用新型
专利状态:已下证
专利领域: 基本电气元件
更新日期:2023-08-24
缴费截止日期: 暂无
价格&联系人
年费信息
委托购买

摘要:

权利要求书:

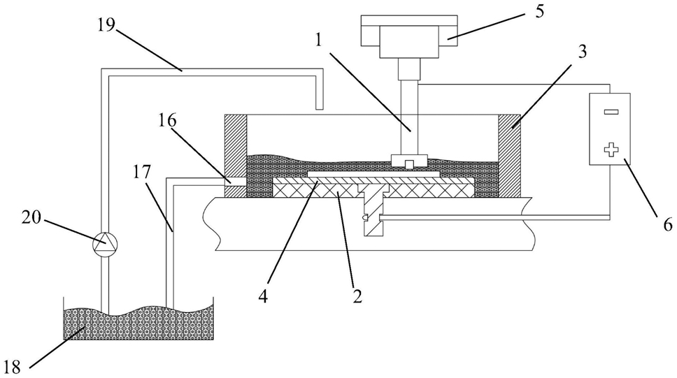
1.一种电化学机械复合抛光不锈钢衬底的设备,其特征在于,包括:复合阴极刀具(1)、绝缘板(2)和电解池(3),其中,所述复合阴极刀具(1)底端伸入所述电解池(3)的电解液内;

所述复合阴极刀具(1)底端设置有不锈钢衬底(4),所述绝缘板(2)安装在所述电解池(3)内,并置于所述不锈钢衬底(4)底端;所述电解池(3)外接有电解电源(6),所述电解电源(6)的正极与所述不锈钢衬底(4)电连,所述电解电源(6)的负极与所述复合阴极刀具(1)电连。

2.根据权利要求1所述的一种电化学机械复合抛光不锈钢衬底的设备,其特征在于,还包括机械三轴运动本体(5),所述复合阴极刀具(1)顶端与所述机械三轴运动本体(5)传动连接。

3.根据权利要求2所述的一种电化学机械复合抛光不锈钢衬底的设备,其特征在于,所述复合阴极刀具(1)包括阴极结构(7)和磨具结构(8),所述阴极结构(7)与所述机械三轴运动本体(5)相连,所述磨具结构(8)安装于所述阴极结构(7)底端。

4.根据权利要求3所述的一种电化学机械复合抛光不锈钢衬底的设备,其特征在于,所述磨具结构(8)包括外定位环(9)、内定位环(10)和多个磨块(11),多个所述磨块(11)均匀分布在所述内定位环(10)的外壁上,所述外定位环(9)套设在多个所述磨块(11)围成的圆环上。

5.根据权利要求4所述的一种电化学机械复合抛光不锈钢衬底的设备,其特征在于,所述阴极结构(7)包括连接杆(12)和固定卡头(13),所述固定卡头(13)与所述连接杆(12)相连,所述固定卡头(13)远离所述连接杆(12)的一端设置有卡槽(14),所述磨块(11)卡接在所述卡槽(14)内。

6.根据权利要求5所述的一种电化学机械复合抛光不锈钢衬底的设备,其特征在于,所述卡槽(14)内设置有压簧(15),所述压簧(15)一端抵住所述固定卡头(13),另一端抵住所述磨块(11)。

7.根据权利要求1所述的一种电化学机械复合抛光不锈钢衬底的设备,其特征在于,所述电解池(3)底端开设有出液口(16),所述出液口(16)通过出液管(17)连接有循环液箱(18),所述循环液箱(18)还连接有回液管(19),所述回液管(19)的另一端位于所述电解池(3)顶端的开口处,且所述回液管(19)上安装有循环水泵(20)。

8.根据权利要求2所述的一种电化学机械复合抛光不锈钢衬底的设备,其特征在于,所述机械三轴运动本体(5)电性连接有电机控制器。