欢迎来到知嘟嘟! 联系电话:13336804447 卖家免费入驻,海量在线求购! 卖家免费入驻,海量在线求购!
知嘟嘟
我要发布
联系电话:13336804447
知嘟嘟经纪人
收藏
专利号: 2018218050850
申请人: 国网浙江宁波市鄞州区供电有限公司
专利类型:实用新型
专利状态:已下证
专利领域: 发电、变电或配电
更新日期:2023-08-24
缴费截止日期: 暂无
价格&联系人
年费信息
委托购买

摘要:

权利要求书:

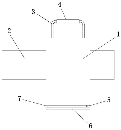
1.一种10kV配网带电作业绝缘罩,包括主绝缘盖板和辅绝缘盖板,所述主绝缘盖板和辅绝缘盖板均为倒U形结构,所述辅绝缘盖板均设于主绝缘盖板的两侧,所述主绝缘盖板上设有把手,其特征在于,所述主绝缘盖板的下端安装有转轴,所述转轴远离主绝缘盖板的一侧安装有旋转绝缘封板,所述主绝缘盖板的下端还安装有限位卡块,所述限位卡块上设有用于限位旋转绝缘封板的限位卡槽。

2.根据权利要求1所述的10kV配网带电作业绝缘罩,其特征在于,所述辅绝缘盖板的内顶壁安装有一对第一铰链,所述第一铰链相对于辅绝缘盖板的中心线对称分布,所述第一铰链上安装有第一活塞,所述第一活塞远离第一铰链的一侧安装有第一活塞轴,所述第一活塞轴远离第一活塞的一侧安装有第一限位板,所述第一限位板远离第一活塞轴的一侧安装有第一安装轴,所述第一安装轴远离第一限位板的一侧安装有安装板,所述第一安装轴通过第二铰链旋转安装在安装板上,所述安装板远离辅绝缘盖板的一侧安装有缓冲绝缘垫。

3.根据权利要求2所述的10kV配网带电作业绝缘罩,其特征在于,所述第一活塞和第一限位板之间设有第一弹簧,第一弹簧套接在第一活塞轴的外周。

4.根据权利要求1所述的10kV配网带电作业绝缘罩,其特征在于,所述辅绝缘盖板的内壁且位于第一铰链的下方设有第二活塞,所述第二活塞相对于辅绝缘盖板的中心线对称分布,所述第二活塞远离辅绝缘盖板的一侧安装有第二活塞轴,所述第二活塞轴远离第二活塞的一侧安装有第二限位板,所述第二限位板远离第二活塞轴的一侧安装有第二安装轴,所述第二安装轴上通过第二转轴安装有绝缘球。

5.根据权利要求4所述的10kV配网带电作业绝缘罩,其特征在于,所述第二活塞和第二限位板之间设有第二弹簧,第二弹簧套接在第二活塞轴的外周。

6.根据权利要求1所述的10kV配网带电作业绝缘罩,其特征在于,所述把手上设有防滑套。