欢迎来到知嘟嘟! 联系电话:13336804447 卖家免费入驻,海量在线求购! 卖家免费入驻,海量在线求购!
知嘟嘟
我要发布
联系电话:13336804447
知嘟嘟经纪人
收藏
专利号: 2018216467008
申请人: 宁波职业技术学院
专利类型:实用新型
专利状态:已下证
专利领域: 医学或兽医学;卫生学
更新日期:2023-08-24
缴费截止日期: 暂无
价格&联系人
年费信息
委托购买

摘要:

权利要求书:

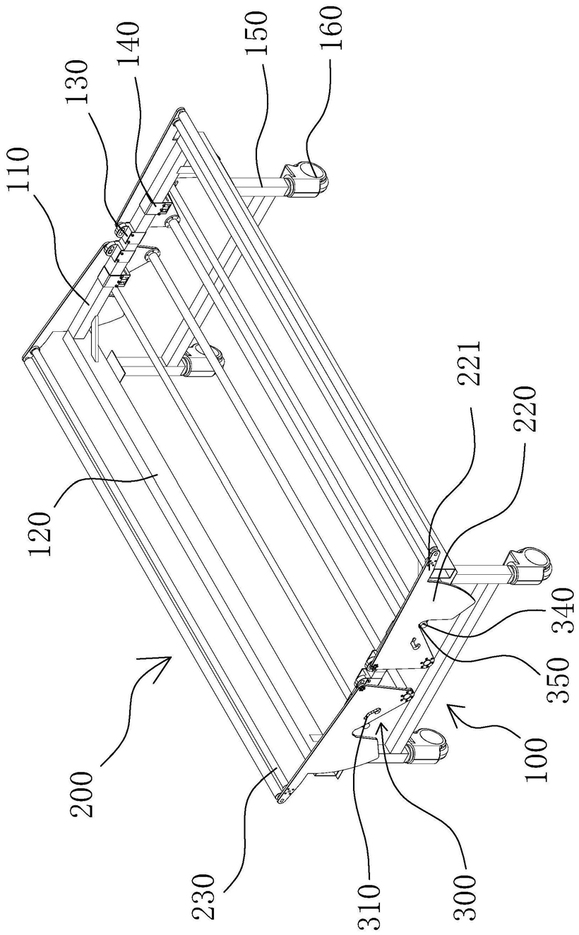
1.一种翻身床结构,其特征在于,包括:

床体,其上端由两个横向支架和两个纵向支架构成,所述横向支架上分别设置有一对轴座固定套和一对锁紧支架;

翻身机构,其套置于床体外且具有对称的左右对称的一对翻转组件,所述翻转组件分别具有设置于两个横向支架外侧的摆动板,所述摆动板一侧设置有延长片,所述延长片上设置有用于连接固定两片摆动板的连接杆,所述摆动板分别具有插入在轴座固定套内的耳轴;

定位机构,所述摆动板上设置有定位槽,所述定位槽内的上端设置平位且斜向下设置有滑动位,所述滑动位底部侧面设置有转折向上的卡合位,所述锁紧支架内设置有定位杆,所述定位杆套置于定位槽内且可沿着定位槽移动并卡合;

将其中一侧的翻转组件从床体向上翻转抬起,定位杆沿定位槽内移动并卡合定。

2.根据权利要求1所述的一种翻身床结构,其特征在于,所述轴座固定套对称设置于横向支架的中部,在所述轴座固定套两侧的横向支架上对称设置有锁紧支架。

3.根据权利要求1所述的一种翻身床结构,其特征在于,所述轴座固定套上端开设有用于容纳耳轴限位转动的耳轴槽口,所述耳轴槽口为长弧形。

4.根据权利要求1所述的一种翻身床结构,其特征在于,所述定位杆凸出于锁紧支架。

5.根据权利要求1所述的一种翻身床结构,其特征在于,所述床体中部设置有一对两端分别固定于两横向支架上的支撑杆,所述支撑杆可沿横向支架转动。

6.根据权利要求1所述的一种翻身床结构,其特征在于,所述摆动板下方中部设置有斜向的支撑口,所述翻转组件平放时的支撑口架设于支撑杆上。

7.根据权利要求1所述的一种翻身床结构,其特征在于,所述耳轴下方的摆动板上设置有连接两块摆动板的限位杆,所述限位杆设置穿过床体下方。

8.根据权利要求1所述的一种翻身床结构,其特征在于,所述连接杆一侧的延长片上设置有连接两块摆动板且可沿着摆动板转动的转动杆,所述连接杆和转动杆分别置于纵向支架的外侧。

9.根据权利要求1所述的一种翻身床结构,其特征在于,所述横向支架和纵向支架的连接处下方设置有立杆,所述立杆底部设置有万向轮。

我要求购
我不想找了,帮我找吧
您有专利需要变现?
我要出售
智能匹配需求,快速出售