欢迎来到知嘟嘟! 联系电话:13336804447 卖家免费入驻,海量在线求购! 卖家免费入驻,海量在线求购!
知嘟嘟
我要发布
联系电话:13336804447
知嘟嘟经纪人
收藏
专利号: 2018212352700
申请人: 绍兴职业技术学院
专利类型:实用新型
专利状态:已下证
专利领域: 建筑物
更新日期:2023-08-24
缴费截止日期: 暂无
价格&联系人
年费信息
委托购买

摘要:

权利要求书:

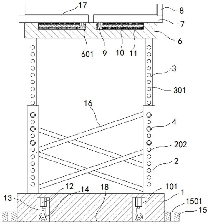
1.一种装配式建筑用支撑架,其特征在于,包括:

底板(1),所述底板(1)的下端面上成型有两个相对的矩形凹槽(101),所述底板(1)的上端面两侧分别成型有固定柱(2),所述固定柱(2)内成型有通孔(201),所述固定柱(2)的侧壁上成型有若干贯穿所述通孔(201)的第一定位孔(202);

升降柱(3),所述升降柱(3)的下端插接在所述通孔(201)内,所述升降柱(3)上成型有若干贯穿所述升降柱(3)的第二定位孔(301),锁紧螺栓(4)穿过所述第一定位孔(202)、所述第二定位孔(301)后螺接有锁紧螺母(5),所述升降柱(3)的上端固定连接支板(6)的下表面,所述支板(6)的上表面两侧分别成型有导向槽(601);

夹持机构,两个相对的夹持机构分别设置在所述支板(6)的上表面,所述夹持机构包括水平的支撑板(7),靠近所述支板(6)外侧壁的所述支撑板(7)的上表面成型有竖直的挡板(8),靠近所述支板(6)中心处的所述支撑板(7)的下表面成型有移动块(9),所述移动块(9)插接在所述导向槽(601)内,所述导向槽(601)内设置有水平的导向杆(10),所述移动块(9)插套在所述导向杆(10)上,所述导向杆(10)上还插套有压缩弹簧(11),所述压缩弹簧(11)的第一端固定连接所述导向槽(601)的侧壁,所述压缩弹簧(11)的第二端固定连接所述移动块(9)的侧壁;

滑动机构,所述滑动机构设置在所述矩形凹槽(101)内,所述滑动机构包括驱动电机(12),所述驱动电机(12)固定设置在所述矩形凹槽(101)的上底面,所述驱动电机(12)的输出轴连接有连接杆(13),所述连接杆(13)的下端固定设置有滚轮(14)。

2.根据权利要求1所述的一种装配式建筑用支撑架,其特征在于:所述底板(1)的两侧分别设置有安装凸块(15),所述安装凸块(15)上成型有安装孔(1501)。

3.根据权利要求1所述的一种装配式建筑用支撑架,其特征在于:所述底板(1)两侧的固定柱(2)之间设置有加强杆(16),所述加强杆(16)斜向设置。

4.根据权利要求1所述的一种装配式建筑用支撑架,其特征在于:所述支撑板(7)的上表面以及所述挡板(8)的内侧面上设置有L型的耐磨垫片(17)。

5.根据权利要求1所述的一种装配式建筑用支撑架,其特征在于:所述支撑板(7)的宽度大于所述导向槽(601)的宽度,所述支撑板(7)的长度大于所述导向槽(601)的长度。

6.根据权利要求1所述的一种装配式建筑用支撑架,其特征在于:所述底板(1)的下表面设置有橡胶垫(18)。