欢迎来到知嘟嘟! 联系电话:13336804447 卖家免费入驻,海量在线求购! 卖家免费入驻,海量在线求购!
知嘟嘟
我要发布
联系电话:13336804447
知嘟嘟经纪人
收藏
专利号: 2018203154448
申请人: 济南龙昌自动化有限公司
专利类型:实用新型
专利状态:已下证
专利领域: 测量;测试
更新日期:2025-08-12
缴费截止日期: 暂无
价格&联系人
年费信息
委托购买

摘要:

权利要求书:

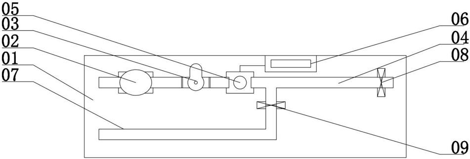
1.一种高效流量控制的流量计,包括支架(01),其特征在于:所述支架(01)上设有接水管路(04),由接水管路(04)进水端至接水管路(04)出水端依次设置有水泵(02)、流量调节设备(03)、流量传感器(05)、回流管(07),所述回流管(07)出水端与接水管路(04)的进水端接至同一源头;所述流量传感器(05)经微控单元接显示屏(06),所述的流量调节设备(03)与微控单元连接且受控于微控单元;所述接水管路(04)的出水端设置有第一开关阀(08),所述回流管(07)上设置有第二开关阀(09)。

2.根据权利要求1所述的高效流量控制的流量计,其特征在于:所述流量调节设备(03)包括外壳(10)、连接管(11)、小型直流电动机(12)、球形阀(13),所述连接管(11)为圆筒状且内径与接水管路(04)内径相同,连接管(11)的两端连接所述的接水管路(04),所述连接管(11)内设球形阀(13),所述球形阀(13)外径与连接管(11)内径相同,所述球形阀(13)上设置有贯穿的圆形开孔(14),对应圆形开孔(14)顶部位置球形阀(13)上设置有动力杆(15),所述动力杆(15)穿出连接管(11)进入外壳(10)内且动力杆(15)上端固定安装有减速齿轮(17),所述外壳(10)内安装有受控于微控单元的小型直流电动机(12),所述小型直流电动机(12)的转动轴上固定安装有转动齿轮(16)所述转动齿轮(16)与减速齿轮(17)相啮合。

3.根据权利要求2所述的高效流量控制的流量计,其特征在于:所述的连接管(11)与接水管路(04)通过螺纹连接。

4.根据权利要求2所述的高效流量控制的流量计,其特征在于:所述的连接管(11)与接水管路(04)的材质优选为不锈钢材料。

5.根据权利要求2所述的高效流量控制的流量计,其特征在于:所述减速齿轮(17)的齿数是所述转动齿轮(16)齿数的2-10倍。