欢迎来到知嘟嘟! 联系电话:13336804447 卖家免费入驻,海量在线求购! 卖家免费入驻,海量在线求购!
知嘟嘟
我要发布
联系电话:13336804447
知嘟嘟经纪人
收藏
专利号: 2018200640590
申请人: 宁波大学
专利类型:实用新型
专利状态:已下证
专利领域: 信号装置
更新日期:2023-08-24
缴费截止日期: 暂无
价格&联系人
年费信息
委托购买

摘要:

权利要求书:

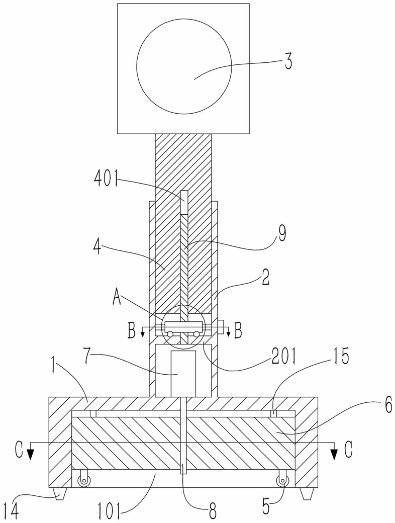
1.一种装有可升降式轮子的移动交通信号灯,其特征在于,包括底部设有容纳腔(101)的基座(1),所述基座(1)上沿竖直方向设有套管(2),所述套管(2)内插接有顶部设有交通信号灯(3)的撑杆(4),所述容纳腔(101)内滑动连接有底部设有万向轮(5)的活动基座(6);

所述基座(1)上设有电机(7),所述电机(7)的输出轴上沿竖直方向设有螺纹杆(8),所述活动基座(6)上设有与所述螺纹杆(8)相互配合的螺纹孔A(601)。

2.根据权利要求1所述的装有可升降式轮子的移动交通信号灯,其特征在于,所述套管(2)内设有水平板(201),所述水平板(201)上沿竖直方向转动连接有调节螺杆(9),所述撑杆(4)上设有与所述调节螺杆(9)相互配合的螺纹孔B(401);所述调节螺杆(9)上安装有蜗轮(10),所述套管(2)上设有与所述蜗轮(10)啮合的蜗杆(11)。

3.根据权利要求2所述的装有可升降式轮子的移动交通信号灯,其特征在于,所述水平板(201)上在其与所述蜗轮(10)之间设有承压滚珠(12),所述水平板(201)的上表面和所述蜗轮(10)的下端面均设有与所述承压滚珠(12)配合的环形凹槽(13)。

4.根据权利要求1所述的装有可升降式轮子的移动交通信号灯,其特征在于,所述基座(1)的底部设有防滑橡胶垫(14)。

5.根据权利要求1所述的装有可升降式轮子的移动交通信号灯,其特征在于,所述活动基座(6)的上表面设有缓冲橡胶垫(15)。

6.根据权利要求1所述的装有可升降式轮子的移动交通信号灯,其特征在于,所述电机(7)位于所述套管(2)内。

7.根据权利要求1所述的装有可升降式轮子的移动交通信号灯,其特征在于,所述套管(2)、撑杆(4)、活动基座(6)的截面均为方形。