欢迎来到知嘟嘟! 联系电话:13336804447 卖家免费入驻,海量在线求购! 卖家免费入驻,海量在线求购!
知嘟嘟
我要发布
联系电话:13336804447
知嘟嘟经纪人
收藏
专利号: 2018115567037
申请人: 天长市富信电子有限公司
专利类型:发明专利
专利状态:已下证
专利领域: 输送;包装;贮存;搬运薄的或细丝状材料
更新日期:2025-04-24
缴费截止日期: 暂无
价格&联系人
年费信息
委托购买

摘要:

权利要求书:

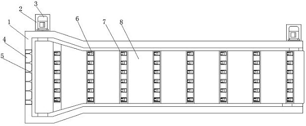
1.一种信号传输线收集设备,包括工作箱(1),其特征在于:所述工作箱(1)正面的左侧活动连接有放线板(4),所述工作箱(1)顶部的左右两侧均固定连接有固定箱(2),所述固定箱(2)的内腔固定连接有电机(3),所述工作箱(1)背部的四角均固定连接有支撑脚(10),所述工作箱(1)正面内腔的左右两侧均旋转连接有旋转轴(9),所述旋转轴(9)的轴身上固定套接有橡胶皮带(8),所述橡胶皮带(8)的正面沿水平横向等距离固定连接有固定板(7),所述固定板(7)的正面与背部沿垂直方向等距离活动连接有夹线器(6),所述夹线器(6)包括连接板(65),所述连接板(65)正面的顶部与底部均固定连接有橡胶板(61),所述橡胶板(61)板身的中央固定连接有连接轴(62),所述连接轴(62)的杆身上接有旋转套(63),所述旋转套(63)杆身的顶部与底部均固定连接有固定钩(64)。

2.根据权利要求1所述的一种信号传输线收集设备,其特征在于:所述固定箱(2)位于旋转轴(9)的正上方,所述电机(3)的输出轴向下延伸至工作箱(1)的内部且与旋转轴(9)传动连接。

3.根据权利要求1所述的一种信号传输线收集设备,其特征在于:所述放线板(4)上的每一个放线槽(5)都与固定板(7)上的每一个夹线器(6)处于同一水平面,所述夹线器(6)上的两个橡胶板(61)之间的距离与放线槽(5)正面的宽度相适配。

4.根据权利要求1所述的一种信号传输线收集设备,其特征在于:所述橡胶皮带(8)正面的左侧为梯形,所述工作箱(1)的正面开设有凹槽,该凹槽正面的形状与大小与橡胶皮带(8)正面的形状与大小相适配。

5.根据权利要求1所述的一种信号传输线收集设备,其特征在于:所述放线板(4)活动连接于工作箱(1)正面左侧的中央,所述放线板(4)的正面沿垂直方向等距离设有放线槽(5)。

6.根据权利要求1所述的一种信号传输线收集设备,其特征在于:所述放线板(4)与橡胶皮带(8)上的夹线器(6)位于同一水平高度,所述放线板(4)正面长度与固定板(7)正面的长度相同。

7.根据权利要求1所述的一种信号传输线收集设备,其特征在于:所述连接板(65)与固定板(7)均为橡胶结构。