欢迎来到知嘟嘟! 联系电话:13336804447 卖家免费入驻,海量在线求购! 卖家免费入驻,海量在线求购!
知嘟嘟
我要发布
联系电话:13336804447
知嘟嘟经纪人
收藏
专利号: 2018114779758
申请人: 燕山大学
专利类型:发明专利
专利状态:已下证
专利领域: 机床;其他类目中不包括的金属加工
更新日期:2024-12-10
缴费截止日期: 暂无
价格&联系人
年费信息
委托购买

摘要:

权利要求书:

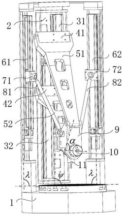
1.一种立式四分支五轴加工中心,主要包括机架、转动框、两组直线驱动单元、两组滑块、两组连杆、摆头平台、单摆头和电主轴,其特征在于,所述机架包括底平台、机架支撑杆和顶平台,所述机架支撑杆的两端分别与所述底平台、所述顶平台固连,所述底平台与所述顶平台平行设置;

所述转动框设于所述机架对称面的内侧,所述转动框通过转动副与所述机架连接;

所述两组直线驱动单元包括第一组直线驱动单元和第二组直线驱动单元,所述两组滑块包括第一组滑块和第二组滑块,所述两组连杆包括第一组连杆和第二组连杆;

所述转动框内设有所述第一组直线驱动单元,所述第一组直线驱动单元与所述第一组滑块通过移动副相连,所述第一组滑块与第一组连杆的第一端通过转动副相连,所述第一组连杆的第二端与摆头平台通过转动副相连,两组转动副的轴线互相平行且垂直于所述转动框的转动轴线;

所述第二组直线驱动单元固定于所述机架支撑杆上,所述第二组连杆的第一端通过第一组球铰或者万向铰与所述第二组滑块连接,所述第二组连杆的第二端通过第二组球铰与所述摆头平台连接,所述第二组球铰对称设于所述摆头平台的两个侧面,所述单摆头设于所述摆头平台上,所述单摆头的摆动轴线位于所述第一组连杆的中间对称平面内,且与所述摆头平台两转动副所在平面成0°60°的夹角α,所述单摆头上固定有~所述电主轴;

所述第一组直线驱动单元包括两个反向放置的直线驱动单元,所述第二组直线驱动单元包括两个平行放置的直线驱动单元;

所述机架支撑杆与所述机架对称面的夹角β为0°60°,所述机架支撑杆与所述底平台~加工面的夹角λ为60°90°;

~

所述转动框的转动轴线与所述底平台的加工面成的夹角ψ为60°90°;

~

所述第一组连杆包括两个连杆,所述第二组连杆包括两个长度相等的连杆。