欢迎来到知嘟嘟! 联系电话:13095918853 卖家免费入驻,海量在线求购! 卖家免费入驻,海量在线求购!
知嘟嘟
我要发布
联系电话:13095918853
知嘟嘟经纪人
收藏
专利号: 2018114458070
申请人: 蒋友明
专利类型:发明专利
专利状态:已下证
专利领域: 输送;包装;贮存;搬运薄的或细丝状材料
更新日期:2023-12-19
缴费截止日期: 暂无
价格&联系人
年费信息
委托购买

摘要:

权利要求书:

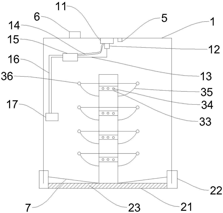
1.新鲜花卉运输箱,其特征在于,包括:

箱体,其为轴向竖直设置的圆柱形结构,所述箱体的底部敞开、侧壁上开设多个透气孔、内部设有浇水组件,所述浇水组件包括储水器、正反转电机、连杆、第一连管、第一喷头、第二连管、以及第二喷头,所述储水器设置在所述箱体的顶部中央处,所述正反转电机设置在所述储水器的下方,且输出轴竖直设置,所述连杆水平设置,其一端与所述正反转电机的输出轴固接、另一端固接在第一喷头上,所述第一连管为软管,其连通所述储水器和所述第一喷头,所述第二连管为L形管,其水平端部连通第一喷头、竖直端部连通第二喷头;

底座,其包括内部中空且水平设置的圆柱形底板、围绕底板竖直设置的锁紧套,所述底板内部水平铺设电热膜,所述锁紧套为上下贯通的圆柱形圆环,其下端部与所述底板密封固接、上端部向下凹陷形成环形槽;

固定架,其包括竖直固设在所述底板上的固定柱、以及固设在固定柱上的多对支撑件,所述固定柱的外围包裹吸水棉,所述吸水棉由上至下间隔固设多个定位条,所述吸水棉与多组定位条重合的部分间隔开设多个固定深孔,每一个固定深孔的底部的水平高度均低于其所在的定位条的水平高度,多对支撑件由上至下间隔设置,每一对支撑件包括两个弧形支撑条和两个固定球,两个弧形支撑条的一端固设在所述固定柱上,并关于所述固定柱对称设置,两个固定球分别固设在两个弧形支撑条另一端,一对支撑件位于一个定位条的下方,且该一对支撑件的两个固定球的高度高于该一个定位条;

多个固定带,一个固定带的两端分别套设在一对支撑件的两个固定球上,一对支撑件的两个固定球上同时套设两个固定带,两个固定带围成一个闭合的圆环结构;

其中,当所述箱体的下端插入所述环形槽时,所述第一喷头位于所述固定架的上方,所述第二喷头的高度为所述固定架高度的一半,所述固定柱位于所述正反转电机的正下方。

2.如权利要求1所述的新鲜花卉运输箱,其特征在于,所述固定球上沿竖直方向设有盲孔,所述固定带的两端分别设有固定帽,所述固定帽为半球形结构,其开口水平朝下,所述固定帽上设有通孔,所述通孔的中心与所述固定帽的球心的连线为竖直方向,一个固定帽套设在一个固定球上,通过穿透通孔后插入盲孔的插销固定。

3.如权利要求1所述的新鲜花卉运输箱,其特征在于,还包括:

温湿度检测仪,其靠近所述正反转电机设置在所述箱体的顶部;

保温套,其套设在所述箱体的外围;

报警器,其设置在所述箱体的顶部,位于所述箱体的外部;

其中,温湿度检测仪跟分别与正反转电机、第一喷头、第二喷头、报警器电连接。

4.如权利要求1所述的新鲜花卉运输箱,其特征在于,所述底板的上表面铺设导流件,所述导流件为上下贯通、上大下小的圆台体结构,其下端边缘密封套设在所述固定柱上、上端边缘与所述锁紧套的内壁固接。

5.如权利要求1所述的新鲜花卉运输箱,其特征在于,所述吸水棉为由海绵和酚醛树脂发泡间隔设置形成的环形层结构,其水平方向的厚度不低于10cm。

6.如权利要求1所述的新鲜花卉运输箱,其特征在于,所述透气孔为十字形孔。

7.如权利要求1所述的新鲜花卉运输箱,其特征在于,所述第一喷头和所述第二喷头均为喷雾喷头。