欢迎来到知嘟嘟! 联系电话:13336804447 卖家免费入驻,海量在线求购! 卖家免费入驻,海量在线求购!
知嘟嘟
我要发布
联系电话:13336804447
知嘟嘟经纪人
收藏
专利号: 2018114430484
申请人: 潘林军
专利类型:发明专利
专利状态:已下证
专利领域: 手动工具;轻便机动工具;手动器械的手柄;车间设备;机械手
更新日期:2025-04-21
缴费截止日期: 暂无
价格&联系人
年费信息
委托购买

摘要:

权利要求书:

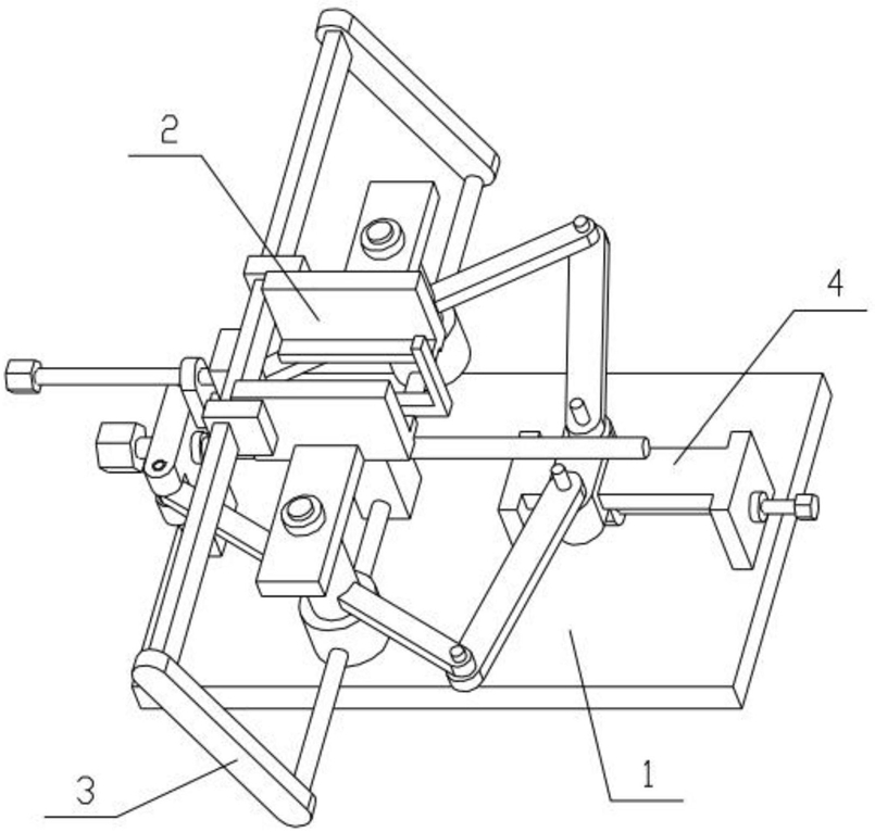
1.一种汽车配件固定夹具,包括底座(1)、前后夹架(2)、左右夹架(3)和速率调节器(4),其特征在于:所述前后夹架(2)的前后两端均与底座(1)滑动连接,前后夹架(2)的中间与底座(1)通过螺纹相配合,左右夹架(3)的前后两端分别固定连接在前后夹架(2)的前后两端,左右夹架(3)的中端与前后夹架(2)滑动连接,速率调节器(4)固定连接在底座(1)上,速率调节器(4)的前后两端分别与底座(1)的前后两端铰接连接。

2.根据权利要求1所述的一种汽车配件固定夹具,其特征在于:所述底座(1)包括底板(1-1)、固定座板(1-2)、限位环I(1-3)、等臂杆(1-4)和手旋螺杆(1-5),底板(1-1)的上端左侧固定连接有固定座板(1-2),手旋螺杆(1-5)的左端间隙配合插在固定座板(1-2)的上端,手旋螺杆(1-5)上固定连接有两个限位环I(1-3),两个限位环I(1-3)分别与固定座板(1-2)的左右两侧相贴合,固定座板(1-2)的前后两端均铰接连接有等臂杆(1-4)。

3.根据权利要求2所述的一种汽车配件固定夹具,其特征在于:所述前后夹架(2)包括螺纹孔块(2-1)、底圆柱座(2-2)、圆柱导杆(2-3)、圆转柱(2-4)、平转板(2-5)、限位环II(2-

6)、凸轴(2-7)、前后夹板(2-8)、矩形孔板(2-9)、底托棱(2-10)、等臂杆滑槽(2-11)和转动圆孔(2-12),螺纹孔块(2-1)通过螺纹与手旋螺杆(1-5)相配合,螺纹孔块(2-1)的前后两端均固定连接有圆柱导杆(2-3),两个圆柱导杆(2-3)上均滑动连接有底圆柱座(2-2),两个底圆柱座(2-2)的上端均设置有转动圆孔(2-12),两个圆转柱(2-4)的下端分别间隙配合插在两个转动圆孔(2-12)上,两个圆转柱(2-4)的下端均设置有等臂杆滑槽(2-11),两个等臂杆(1-4)分别滑动连接在两个等臂杆滑槽(2-11)上,两个圆转柱(2-4)的上端均固定连接有凸轴(2-7),两个平转板(2-5)分别转动连接在两个凸轴(2-7)上,两个凸轴(2-7)上均固定连接有限位环II(2-6),限位环II(2-6)位于平转板(2-5)的上方,两个平转板(2-5)的内侧均固定连接有前后夹板(2-8),两个前后夹板(2-8)的内侧下端均固定连接有底托棱(2-10),两个前后夹板(2-8)的左端均固定连接有矩形孔板(2-9)。

4.根据权利要求3所述的一种汽车配件固定夹具,其特征在于:所述左右夹架(3)包括左挡杆(3-1)、中位板(3-2)、右挡柱(3-3)、支撑杆(3-4)、底连杆(3-5)、顶螺钉座(3-6)和顶螺钉(3-7),两个支撑杆(3-4)的下端分别固定连接在两个圆柱导杆(2-3)的外端,两个支撑杆(3-4)的上端之间固定连接有左挡杆(3-1),左挡杆(3-1)滑动连接在两个矩形孔板(2-9)上,左挡杆(3-1)的左侧中间位置固定连接有中位板(3-2),中位板(3-2)的下端滑动连接有底连杆(3-5),右挡柱(3-3)的下端固定连接在底连杆(3-5)的右端,底连杆(3-5)的左端固定连接有顶螺钉座(3-6),顶螺钉座(3-6)位于中位板(3-2)的左侧,顶螺钉座(3-6)的上端通过螺纹连接有顶螺钉(3-7),顶螺钉(3-7)的右端顶在中位板(3-2)的左端。

5.根据权利要求4所述的一种汽车配件固定夹具,其特征在于:所述速率调节器(4)包括轨道板(4-1)、滑块(4-2)、短臂杆(4-3)、侧板(4-4)、限位环III(4-5)、调节螺钉(4-6)和底部突出块(4-7),轨道板(4-1)的左右两端均固定连接有侧板(4-4),两个侧板(4-4)均固定连接在底板(1-1)的右端位置,轨道板(4-1)上滑动连接有滑块(4-2),滑块(4-2)的前后两端均铰接连接有短臂杆(4-3),两个短臂杆(4-3)的另一端分别铰接在两个等臂杆(1-4)的右端,滑块(4-2)的下端固定连接有底部突出块(4-7),调节螺钉(4-6)的左右两端分别转动连接在两个侧板(4-4)上,调节螺钉(4-6)上固定连接有两个限位环III(4-5),两个限位环III(4-5)分别与两个侧板(4-4)的外侧面贴合,调节螺钉(4-6)的中端通过螺纹与底部突出块(4-7)相配合。

6.根据权利要求4所述的一种汽车配件固定夹具,其特征在于:所述左挡杆(3-1)的右端面与两个前后夹板(2-8)的左端面相贴合。

7.根据权利要求5所述的一种汽车配件固定夹具,其特征在于:所述底连杆(3-5)均位于两个前后夹板(2-8)的下方。