欢迎来到知嘟嘟! 联系电话:13336804447 卖家免费入驻,海量在线求购! 卖家免费入驻,海量在线求购!
知嘟嘟
我要发布
联系电话:13336804447
知嘟嘟经纪人
收藏
专利号: 201811438472X
申请人: 西安工业大学
专利类型:发明专利
专利状态:已下证
专利领域: 测量;测试
更新日期:2024-01-05
缴费截止日期: 暂无
价格&联系人
年费信息
委托购买

摘要:

权利要求书:

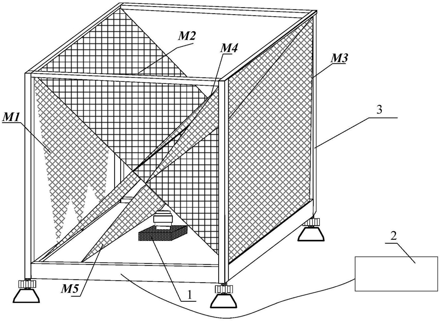
1.一种一体式多目标立靶测试装置,其包括高速面阵CCD靶、探测框架和上位机,所述探测框架内部设置有第一探测光幕、第二探测光幕、第三探测光幕、第四探测光幕和第五探测光幕,所述高速面阵CCD靶安装在所述探测框架的底部,所述上位机通过线缆与所述高速面阵CCD靶相连接,所述高速面阵CCD靶的视场中心位于所述第二探测光幕和所述第四探测光幕的中间,并且其视场与所述第二探测光幕和所述第四探测光幕相交汇。

2.根据权利要求1所述的测试装置,其特征在于,所述探测框架包括相互平行且与水平面垂直的第一框架和第二框架,所述第一框架和所述第二框架通过框架连接杆连接,所述第一框架包括依次首尾相接的第一柱体、第二柱体、第三柱体和第四柱体,在所述第四柱体上设置至少一个线激光器和光电探测单元,所述线激光器配置为发射扇形激光束并形成所述第一探测光幕,在所述第二柱体上设置第一反射镜,所述第一反射镜配置为将所述第一探测光幕进行反射并形成所述第二探测光幕。

3.根据权利要求2所述的测试装置,其特征在于,所述线激光器发射激光的波长为

650nm,所述线激光器发射扇形激光束的发射角度为90°。

4.根据权利要求2所述的测试装置,其特征在于,所述光电探测单元包括在所述第四柱体上由外向内依次布置的自适应调节电路板、多元阵列光电探测器、狭缝和光学透镜,所述多元阵列光电探测器设置在所述探测框架内部并安装在所述自适应调节电路板上,所述光学透镜配置为吸收线激光能量并汇聚到所述多元阵列光电探测器的光敏面上。

5.根据权利要求2所述的测试装置,其特征在于,所述第二框架包括依次首尾相接的第五柱体、第六柱体、第七柱体和第八柱体,在所述第八柱体上设有第二反射镜,所述第二反射镜配置为将所述第二探测光幕进行反射并形成第三探测光幕,在所述第六柱体上设有第三反射镜和分光镜,所述第三反射镜配置为将所述第三探测光幕进行反射并通过所述分光镜形成第四探测光幕和第五探测光幕,所述第四探测光幕和所述第一探测光幕相互平行并且与飞行目标的弹道线垂直。

6.根据权利要求5所述的测试装置,其特征在于,所述高速面阵CCD靶通过连接杆、固定块和螺钉固定在所述探测框架的底部中心位置,其中,所述连接杆布置在所述第一框架和所述第二框架之间并且连接所述第四柱体和第八柱体,所述固定块通过所述螺钉固定在所述连接杆上,所述高速面阵CCD靶通过所述固定块安装在所述连接杆上。

7.根据权利要求2所述的测试装置,其特征在于,在所述探测框架的底部外侧的四个角处设有四个底角,所述底角通过螺柱与所述第一框架或者所述第二框架相连接,在所述螺柱上设有旋钮,所述旋钮配置为通过调节所述螺柱与所述底角之间的位置,从而调节所述探测框架的高低。

8.根据权利要求1-7中任选一项所述的测试装置,其特征在于,所述高速面阵CCD靶包括壳体,在所述壳体的上表面外侧设有光学镜头,其配置为吸收并获取外界射入的激光束,在所述壳体的上表面内侧设有电气盒,在所述电气盒内设有面阵CCD相机,其位于所述光学镜头的垂直下方,其配置为采集飞行目标的图像序列,所述在面阵CCD相机朝向所述光学镜头的一侧设有调焦平面。

9.根据权利要求8所述的测试装置,其特征在于,在所述电气盒中还设有自变焦模块,所述自变焦模块包括电机,所述电机与所述面阵CCD相机相连接,在所述壳体的内部还设有供电模块、信号采集单元和图像处理单元,所述信号采集单元包括模拟信号采集卡和信号处理模块,其配置为分别采集飞行目标经过所述第一探测光幕和所述第三探测光幕输出的信号波形,并传输给所述上位机,所述图像处理单元配置为对所述光学镜头采集并由所述面阵CCD相机获取的图像序列信息进行预处理。

10.一种一体式多目标立靶测试方法,其采用权利要求9所述的测试装置,所述方法包括以下步骤,

(1)当多目标依次穿过每个探测光幕,读取信号采集单元的多目标输出信号波形与信号幅值V(j);读取高速面阵CCD相机采集到的图像序列以及对应的时刻值tc1~tcl,将图像序列出现亮目标的图像的时刻值与信号采集单元输出每个信号的时刻值对应,结合目标经过第一探测光幕和第三探测光幕的先后一致性,获取对应的时刻值,且时刻值为每个目标穿过第二探测光幕和第四探测光幕的时刻值t21~t2k、t41~t4k,剩余信号的时刻值为每个目标穿过第一探测光幕和第三探测光幕的时刻值t11~t1k、t31~t3k,其中,j=1,2Λ,k,l=1,2Λ;

(2)根据信号采集单元采集信号幅值V(j),判断有无多目标同时到达同一探测光幕,若所有输出信号幅值相似,则每一个目标信号上升沿时刻顺序为多目标经过探测区的先后顺序;若出现某时刻光电探测单元输出信号的幅值比单一目标探测输出信号的幅值大,则确认该时刻出现多个目标重合的情况,需要对重合目标进行匹配识别;

(3)列出所采集图像中亮目标坐标(ui,vi),其中,i=1,2,Λ,图像坐标系uov是以采集图像的像素中心点为原点,经过第二探测光幕的亮目标坐标为(u2i,v2i),经过第四探测光幕的亮目标坐标为(u4i,v4i),剩余的亮目标为目标经过第五探测光幕时的坐标(u5i,v5i)与时刻值t51~t5k;根据第二探测光幕与第四探测光幕的距离S以及多目标在经过第一探测光幕与第四探测光幕的时刻值t11~t1k与t41~t4k,计算每一目标相应的速度值Va,其中,Va=S/t1i-t4i,i=1,2,Λ;其中,S=(v4i-v2i)·D/r,目标实际尺寸为D,所占图像像素数为r,高速面阵CCD像面的总像素数为N×N;

(4)按照理论速度Va以及亮目标经过第一、二、三、四探测光幕的时刻值t11~t1k、t21~t2k、t31~t3k、t41~t4k,估算多个目标从第一探测光幕到第二探测光幕的飞行距离d1i=(t2i-t1i)·Va,估算多个目标经过第二探测光幕与第四探测光幕的飞行距离d2i=(t4i-t2i)·Va,估算多个目标经过第一探测光幕与第四探测光幕的飞行距离d3i=(t4i-t1i)·Va,其中,i=

1,2Λ;计算所有目标经过第一探测光幕到第二探测光幕的飞行距离为((D/r)·N-(D/r)·v1i);计算所有目标经过第二探测光幕到第四探测光幕的飞行距离为((D/r)·N-(D/r)·v2i);计算所有目标经过第一探测光幕到第四探测光幕的飞行距离为((D/r)·2·N-(D/r)·v2i),对比估算飞行距离与所有目标到达各探测光幕的实际飞行距离,按照接近原则匹配出每一目标所对应的信号;

(5)假设第二探测光幕与第一探测光幕的夹角为α,第三探测光幕与第四探测光幕的夹角为β,第四探测光幕与第五探测光幕的夹角为ε,所匹配对应的信号通过高速面阵CCD相机采集的图像可以得到每个目标的方位角γ1i与俯仰角γ2i,并得到匹配出的每一对应目标在预定靶面的空间位置坐标(xi,yi,zi),其中,i=1,2Λ,第一探测光幕与预定靶面的距离为L,目标经过第一探测光幕时的高度为h1,目标经过第二探测光幕的时刻值为t21~t2k,目标经过第三探测光幕的时刻值为t31~t3k,且目标在所求空间位置坐标系xyz是以面阵CCD相机视场中心点为原点建立,飞行目标的飞行参数的计算方式如下:γ1=arctan[[S/[(t4k-t1k)·(t2k-t1k)·tanα]-S/[(t3k-t1k)·(t3k-t4k)·tanβ]]/S]γ2=arctan((u2i-u1i)/(v2i-v1i))xi=(D/r)·u1i·L/(h1·tanα)

yi=(D/r)·v1i+L-S/(t3k-t1k)·(t2k-t1k)

zi=S/[(t3k-t1k)·(t2k-t1k)·tanα]+tanγ1i·L

(6)若某个目标经过第二探测光幕与第四探测光幕时在图像序列中只出现一次,说明该目标经过了第二探测光幕与第四探测光幕的交汇处,需要通过理论速度Va结合目标经过第五探测光幕的时刻值估算该目标经过第一探测光幕到第五探测光幕的飞行距离d4i=(t5i-t1i)·Va,计算目标经过第二探测光幕到第五探测光幕的飞行距离为((D/r)·v5i-(D/r)·v2i),同样按照接近原则匹配出该目标所对应的信号,利用步骤(5)的方法解算该目标的参数。