欢迎来到知嘟嘟! 联系电话:13336804447 卖家免费入驻,海量在线求购! 卖家免费入驻,海量在线求购!
知嘟嘟
我要发布
联系电话:13336804447
知嘟嘟经纪人
收藏
专利号: 2018114002509
申请人: 李盛善
专利类型:发明专利
专利状态:已下证
专利领域: 医学或兽医学;卫生学
更新日期:2025-02-08
缴费截止日期: 暂无
价格&联系人
年费信息
委托购买

摘要:

权利要求书:

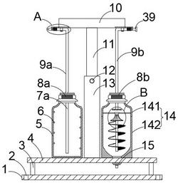
1.一种神经外科手术用防积血冲洗装置,包括底座(1),其特征在于,所述底座(1)的上端通过对称的支杆(3)连接有支撑板(4),所述支撑板(4)的正中央侧壁上设有竖直设置的套管(13),所述套管(13)中滑动连接有移动杆(11),所述套管(13)的一侧侧壁上贯穿设有螺纹孔,且螺纹孔中螺纹连接有螺钉(12),所述螺钉(12)与移动杆(11)的侧壁相抵设置,所述移动杆(11)远离套管(13)的一端设有横向设置的固定板(10),所述支撑板(4)的上端侧壁上分别设有清洗瓶(5)和收集瓶(14),所述清洗瓶(5)和收集瓶(14)的瓶口处设有瓶塞,且两个瓶塞的上端分别设有第一高压水泵(8a)和第二高压水泵(8b),所述第一高压水泵(8a)的第一进水管(7a)贯穿瓶塞的侧壁置于清洗瓶(5)中,且第二高压水泵(8b)的第一出水管(7b)贯穿瓶塞的侧壁并置于收集瓶(14)中,所述第一高压水泵(8a)的第二出水管(9a)以及第二高压水泵(8b)的第二进水管(9b)均通过固定装置固定连接在固定板(10)上,所述收集瓶(14)的底部设有出水口(15),所述第二出水管(9a)和第二进水管(9b)的一端通过波纹管(19)分别连接有喷头(23)以及吸盘(39),所述固定板(10)的两侧侧壁上对称设有滑腔(18),且滑腔(18)中滑动连接有伸缩板(20),所述伸缩板(20)的下侧侧壁通过调节装置分别与喷头(23)以及吸盘(39)相连接。

2.根据权利要求1所述的一种神经外科手术用防积血冲洗装置,其特征在于,所述清洗瓶(5)的内壁上设有螺旋电阻丝(6)。

3.根据权利要求1所述的一种神经外科手术用防积血冲洗装置,其特征在于,所述收集瓶(14)包括上收集瓶(141)和下收集瓶(142),且上收集瓶(141)与下收集瓶(142)之间通过可拆卸的螺纹连接,所述第二进水管(9b)的一端设有花洒喷头(22),所述上收集瓶(141)的内壁对称设有两个连接杆(33),且两个连接杆(33)相对的一端固定连接有轴承(32),所述轴承(32)的内圈插设有第一转轴(34),所述第一转轴(34)的下侧固定连接有锥形块(35),所述锥形块(35)的外侧侧壁上环绕设有多个分水槽(36),且多个分水槽(36)呈弧形状并旋向一致排列,所述锥形块(35)的下端侧壁上设有竖直设置的第二转轴(38),且第二转轴(38)的外侧侧壁上设有螺旋式搅拌扇叶(37)。

4.根据权利要求1所述的一种神经外科手术用防积血冲洗装置,其特征在于,所述固定装置包括两个转动连接在固定板(10)下侧侧壁上的弧形卡箍(17),且弧形卡箍(17)套设在第二出水管(9a)和第二进水管(9b)的侧壁上并通过螺栓(16)紧固。

5.根据权利要求1所述的一种神经外科手术用防积血冲洗装置,其特征在于,所述底座(1)的侧壁上对称设有两对贯穿设置的螺栓孔(2)。

6.根据权利要求1所述的一种神经外科手术用防积血冲洗装置,其特征在于,所述调节装置包括两个对称设置在伸缩板(20)侧壁上的固定杆(21),且两个固定杆(21)相对的侧壁贯穿设有两个安装孔(27),所述安装孔(27)中插设有伸缩杆(26),且伸缩杆(26)通过阻尼转轴(29)转动连接有转动杆(28),且转动杆(28)远离伸缩杆(26)的一侧设有矩形卡块(30),所述喷头(23)以及吸盘(39)的两侧侧壁对称设有与矩形卡块(30)相匹配的矩形卡槽(31),所述伸缩杆(26)的外侧侧壁套设有弹簧(25),且弹簧(25)的两端分别与安装孔(27)以及伸缩杆(26)的侧壁固定连接,所述伸缩杆(26)远离转动杆(28)的一端贯穿安装孔(27)的侧壁并连接有拉头(24)。