欢迎来到知嘟嘟! 联系电话:13336804447 卖家免费入驻,海量在线求购! 卖家免费入驻,海量在线求购!
知嘟嘟
我要发布
联系电话:13336804447
知嘟嘟经纪人
收藏
专利号: 2018113942023
申请人: 湖州达立智能设备制造有限公司
专利类型:发明专利
专利状态:已下证
专利领域: 一般车辆
更新日期:2026-02-06
缴费截止日期: 暂无
价格&联系人
年费信息
委托购买

摘要:

权利要求书:

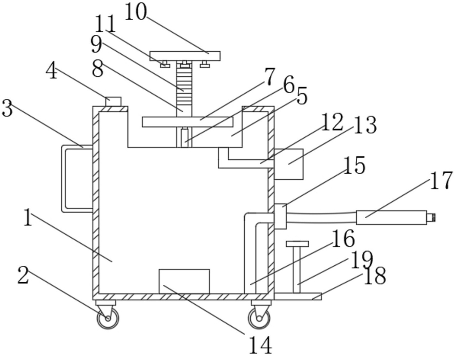
1.一种新能源汽车清洗设备,包括清洁箱(1),其特征在于:所述清洁箱(1)的底部四角连接有滚轮(2),所述清洁箱(1)外壁的一侧焊接有推手(3),所述清洁箱(1)顶部的一侧边缘处设置有注水口(4),且清洁箱(1)的顶部中心处开设有凹槽(5),所述凹槽(5)的内底壁垂直固定连接有支撑杆(6),所述支撑杆(6)的顶部焊接有置物板(7),所述清洁箱(1)的顶部靠近凹槽(5)的一侧连通有喷水管(8),所述喷水管(8)的顶部套接有伸缩软管(9),所述伸缩软管(9)远离喷水管(8)的一端连通有储水仓(10),且储水仓(10)的底部连通有多个喷头(11),所述清洁箱(1)的内部设置有排污管(12),且清洁箱(1)外壁与排污管(12)对应的位置固定连接有污水箱(13),所述排污管(12)的一端贯穿清洁箱(1)与污水箱(13)连通,所述清洁箱(1)的内部设置有出液泵(14),所述清洁箱(1)外壁的一侧靠近污水箱(13)处连接有水泵(15),且水泵(15)位于污水箱(13)的下方,所述水泵(15)的进水口与出水口均连通有第一出水管(16),所述第一出水管(16)远离清洁箱(1)的一端连通有第一手持手柄(17),所述第一出水管(16)上连通有第二出水管(21),所述第二出水管(21)远离第一出水管(16)的一端连通有第二手持手柄(22),所述第二手持手柄(22)的两侧均对称连接有固定板(23),两个所述固定板(23)之间通过转轴转动连接有摩擦滚筒(24)。

2.根据权利要求1所述的一种新能源汽车清洗设备,其特征在于:所述清洁箱(1)外壁的一侧垂直连接有承重板(18),所述承重板(18)的顶部中心处垂直固定连接有绕线柱(19)。

3.根据权利要求2所述的一种新能源汽车清洗设备,其特征在于:所述绕线柱(19)的顶端焊接有限位板,所述第一手持手柄(17)远离第一出水管(16)的一端连通有清洗头(20)。

4.根据权利要求1所述的一种新能源汽车清洗设备,其特征在于:所述固定板(23)外壁的一侧与摩擦滚筒(24)对应的位置连接有箱体,箱体的内部设置有电机,并且电机的驱动端与摩擦滚筒(24)的一端相连。

5.根据权利要求1所述的一种新能源汽车清洗设备,其特征在于:所述置物板(7)上均匀的开设有若干个漏水孔(25),所述喷水管(8)远离伸缩软管(9)的一端贯穿清洁箱(1)与出液泵(14)连通。

6.根据权利要求1所述的一种新能源汽车清洗设备,其特征在于:所述排污管(12)远离污水箱(13)的一端贯穿凹槽(5),且排污管(12)进水口与凹槽(5)的内底壁齐平。

7.根据权利要求1所述的一种新能源汽车清洗设备,其特征在于:所述储水仓(10)位于置物板(7)的正上方,所述第一手持手柄(17)与第二手持手柄(22)上均包裹有橡胶垫。

8.根据权利要求1所述的一种新能源汽车清洗设备,其特征在于:所述污水箱(13)上开设有排污口。