欢迎来到知嘟嘟! 联系电话:13336804447 卖家免费入驻,海量在线求购! 卖家免费入驻,海量在线求购!
知嘟嘟
我要发布
联系电话:13336804447
知嘟嘟经纪人
收藏
专利号: 2018113920931
申请人: 刘兴海
专利类型:发明专利
专利状态:已下证
专利领域: 一般的物理或化学的方法或装置
更新日期:2023-12-19
缴费截止日期: 暂无
价格&联系人
年费信息
委托购买

摘要:

权利要求书:

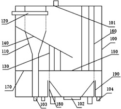
1.去除水中污染物的装置,其特征在于,包括:

壳体,其为内部中空的长方体形,所述壳体的顶部设置有絮凝剂入口,底部设置有排泥口、排渣口和至少一个出水口;

过滤装置,其设置在所述壳体内,并靠近壳体上沿其长度方向间隔设置的两个侧壁中的一个侧壁,所述过滤装置沿竖直方向设置,过滤装置的上部为圆柱体形,中部为倒圆台形,下部为圆柱体形,过滤装置的上部的侧壁上间隔设置有多个第一滤孔,过滤装置的底部与所述壳体的底部固定,且无缝连接,并与所述排渣口连通;

进水管,其与所述过滤装置的上部的连接部分呈蜗壳结构并从所述过滤装置的上部的一侧接入所述过滤装置的上部内;

混合装置,其沿竖直方向设置在所述壳体内,并靠近壳体上沿其长度方向间隔设置的两个侧壁中的另一个侧壁,混合装置的上部为圆柱体形,下部为倒圆台形,混合装置的底部与所述壳体的底部固定,且无缝连接,并与所述排泥口连通,出水口与混合装置的下部,以及过滤装置的下部均不连通;

导向板,其设置在所述壳体内,导向板为长方体形,所述过滤装置的中部穿过所述导向板,导向板上沿壳体的长度方向间隔设置的一端和壳体上沿其长度方向间隔设置的两个侧壁中的一个侧壁固定,且无缝连接,另一端向着壳体上沿其长度方向间隔设置的两个侧壁中的另一个侧壁逐渐向下倾斜,且位于混合装置的内部,并与混合装置的内侧壁相隔一定距离,导向板上沿壳体的宽度方向间隔设置的两侧分别与壳体上沿其宽度方向间隔设置的两个侧壁相隔一定距离,混合装置上未与导向板相对的部分与壳体的顶部接触,与导向板相对的部分位于导向板的下方,絮凝剂入口与导向板相对;

两块挡板,所述导向板上沿壳体的宽度方向间隔设置的两侧上分别设置有一块挡板,挡板与导向板垂直,且位于导向板的上方,挡板的顶部与壳体的顶部接触。

2.如权利要求1所述的去除水中污染物的装置,其特征在于,所述混合装置的上部的侧壁上间隔设置有多个第二滤孔;

所述去除水中污染物的装置还包括:

支撑板,其为圆形,支撑板的直径与混合装置的上部的内径相等,支撑板沿水平方向设置在混合装置的上部中,并与混合装置固定连接,支撑板上设置有一个开口,第二滤孔位于支撑板的下方;

隔板,其沿竖直方向设置在所述混合装置内,且位于所述支撑板的上方,隔板的竖直投影为螺旋形,所述隔板的底部与所述支撑板固定,且无缝连接,隔板上位于外部的自由端与混合装置的内侧壁固定,且无缝连接,其他部分均与混合装置相隔一定距离;导向板的另一端位于隔板的最内部的圈内,且与隔板的最内部的圈的内壁不接触,隔板上未与导向板相对的部分与壳体的顶部接触,与导向板相对的部分位于导向板的下方,所述开口位于所述混合装置的上部的内侧壁和所述隔板的外圈之间,且靠近隔板上位于外部的自由端。

3.如权利要求2所述的去除水中污染物的装置,其特征在于,过滤装置的顶部与壳体的顶部接触,壳体的顶部与其侧壁可拆卸地连接。

4.如权利要求3所述的去除水中污染物的装置,其特征在于,所述混合装置的上部从上到下由第一部分和第二部分组成,所述第二滤孔位于第二部分上,第一部分搁置在第二部分上,所述壳体的底部设置有一个圆形的缝隙,圆形的缝隙将壳体的底部分成位于缝隙内的第三部分和位于缝隙外的第四部分,出水口设置在第四部分上;

所述去除水中污染物的装置还包括:

固定板,其为方形,且其尺寸与壳体的内部的横截面的尺寸相同,固定板沿水平方向设置在壳体内,并与壳体固定,且无缝连接,所述过滤装置的下部、所述混合装置的上部均穿过所述固定板,并与固定板固定,且无缝连接,第二滤孔位于固定板的下方;

第一筒体,其为圆筒体形,第一筒体的内侧壁与混合装置的上部的外侧壁固定,且无缝连接,第二滤孔位于第一筒体的上方,第一筒体的底部与第三部分固定,且无缝连接,第一筒体的竖直投影与第三部分的竖直投影重合;

第二筒体,其套设在所述第一筒体的外部,第二筒体的内径与第一筒体的外径相等,且第二筒体的高度不高于第一筒体的高度,第二筒体固定在第四部分上。

5.如权利要求4所述的去除水中污染物的装置,其特征在于,所述第二筒体的高度与所述第一筒体的高度相等。

6.如权利要求4所述的去除水中污染物的装置,其特征在于,所述第三部分和第四部分的底部均间隔设置有多个支撑腿,支撑腿为伸缩杆。