欢迎来到知嘟嘟! 联系电话:13095918853 卖家免费入驻,海量在线求购! 卖家免费入驻,海量在线求购!
知嘟嘟
我要发布
联系电话:13095918853
知嘟嘟经纪人
收藏
专利号: 2018113510316
申请人: 江苏泰宇交通设施有限公司
专利类型:发明专利
专利状态:授权未缴费
专利领域: 道路、铁路或桥梁的建筑
更新日期:2024-11-06
缴费截止日期: 暂无
价格&联系人
年费信息
委托购买

摘要:

权利要求书:

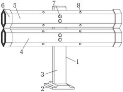
1.一种高速公路防护栏缓冲装置,包括护栏主体(1),其特征在于:所述护栏主体(1)包括立式护栏(3),所述立式护栏(3)下端设有安装底座(2),所述安装底座(2)通过膨胀螺丝固定连接在地面,在所述立式护栏(3)外侧设有一层铁皮(14),在所述铁皮(14)内设有一层蜂巢板(15),在所述蜂巢板(15)内部固定连接一根塑料支柱(17),在所述立式护栏(3)的上端设有两组螺丝孔(11),在所述螺丝孔(11)外侧通过四根护栏固定螺栓(7)将下横护栏(4)和上横护栏(5)规定连接在立式护栏(3)上,所述下横护栏(4)和上横护栏(5)外侧包裹一层铁皮(14),铁皮(14)内固定连接蜂巢板(15),在所述蜂巢板(15)内部为塑料支柱(17),在所述下横护栏(4)和上横护栏(5)中间塑料支柱(17)的两端设有插孔(16),在所述下横护栏(4)和上横护栏(5)两端外侧还套设有连接套(6),所述插孔(16)中插接内芯(9),所述内芯(9)两端设有内芯固定座(10),所述内芯固定座(10)插接在插孔(16)中,在内芯固定座(10)上设有两组螺丝孔(11),从下横护栏(4)和上横护栏(5)外侧,通过内芯固定螺栓(8)将内芯(9)固定在下横护栏(4)和上横护栏(5)两端的插孔(16)中,所述内芯(9)另一端固定连接在另一组下横护栏(4)和上横护栏(5)中,另一组所述下横护栏(4)和上横护栏(5)的一端插接在所述连接套(6)中固定连接,所述内芯(9)两端设有内芯固定座(10),两端所述内芯固定座(10)中间固定连接三组弹簧(12)和两组撑杆(13),所述弹簧(12)为压缩弹簧,所述弹簧(12)的最小长度等于两端内芯固定座(10)之间的间距,所述撑杆(13)为方形柱状塑性材料制成,

所述下横护栏(4)和上横护栏(5)横截面呈六边形,所述铁皮(14)和蜂巢板(15)分前后为两块,两块铁皮(14)和蜂巢板(15)合并呈六边形并通过焊接连接固定,在下横护栏(4)和上横护栏(5)中间设有实心的塑料支柱(17),塑料支柱(17)长度小于铁皮(14)和蜂巢板(15)的长度,在下横护栏(4)和上横护栏(5)两侧中间形成插孔(16)。