欢迎来到知嘟嘟! 联系电话:13336804447 卖家免费入驻,海量在线求购! 卖家免费入驻,海量在线求购!
知嘟嘟
我要发布
联系电话:13336804447
知嘟嘟经纪人
收藏
专利号: 2018113326587
申请人: 嵊州市法帝电器有限公司
专利类型:发明专利
专利状态:已下证
专利领域: 输送;包装;贮存;搬运薄的或细丝状材料
更新日期:2025-11-12
缴费截止日期: 暂无
价格&联系人
年费信息
委托购买

摘要:

权利要求书:

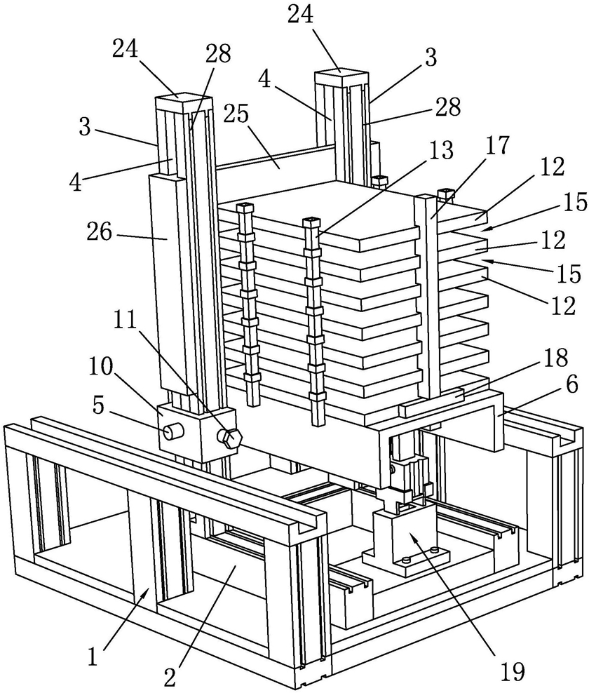
1.一种油烟机钢化玻璃原料的存放装置,其特征在于:包括防护支架,所述防护支架的顶面焊接有存放底座,所述存放底座的顶面设有高度调整架,所述高度调整架设有调整间隙,所述调整间隙中设有控制调整杆,所述高度调整架之间设有存放平台,所述存放平台设有第一通孔,所述控制调整杆穿过所述第一通孔,所述控制调整杆设有两个螺纹段,所述螺纹段设有锁紧螺母,所述锁紧螺母将所述存放平台锁紧在所述高度调整架处,所述高度调整架设有固定钢板,所述固定钢板设有顶紧螺栓,所述顶紧螺栓顶住所述高度调整架的侧面,所述固定钢板设于所述控制调整杆上,所述存放平台的顶面设有至少三块分隔板,所述分隔板上下相互连接,单块所述分隔板的两侧均设有插入条,所述插入条顺着分隔板的底面伸出,所述插入条的顶部设有嵌入槽,所述插入条的底部与所述嵌入槽相匹配,上下相邻两块所述分隔板之间形成存放空间,所述存放平台设有限位孔,所述限位孔设有挡板,所述挡板与所述分隔板连接,所述挡板设有限位条,所述限位条限位于所述存放平台的顶面上,所述存放底座设有升降装置,所述升降装置支撑所述存放平台的底面。

2.根据权利要求1所述的一种油烟机钢化玻璃原料的存放装置,其特征在于:所述防护支架包括底部连接杆、顶部连接杆和支撑杆,所述底部连接杆上设有工作平台,所述工作平台与所述支撑杆焊接固定。

3.根据权利要求1所述的一种油烟机钢化玻璃原料的存放装置,其特征在于:所述高度调整架的顶部嵌入有限位端头。

4.根据权利要求3所述的一种油烟机钢化玻璃原料的存放装置,其特征在于:所述调整间隙中设有侧板,所述分隔板的侧面抵住所述侧板的侧面,所述侧板的侧面设有限位凸起,所述限位凸起抵住所述高度调整架的侧面。

5.根据权利要求1所述的一种油烟机钢化玻璃原料的存放装置,其特征在于:所述固定钢板的内侧设有凸起部,所述高度调整架的侧面设有凹槽,所述凸起部设于所述凹槽中。

6.根据权利要求1所述的一种油烟机钢化玻璃原料的存放装置,其特征在于:所述存放平台的底部设有支撑板,所述支撑板的底部设有第二通孔,所述第二通孔与所述第一通孔平行设置,所述控制调整杆穿过所述第二通孔。

7.根据权利要求1所述的一种油烟机钢化玻璃原料的存放装置,其特征在于:所述分隔板的侧面设有槽口,所述槽口的宽度与所述挡板的宽度相同,所述挡板限位于所述槽口中。

8.根据权利要求1所述的一种油烟机钢化玻璃原料的存放装置,其特征在于:所述升降装置包括升降底座和升降杆,所述升降底座设有缓冲孔,所述升降杆与所述缓冲孔相对应设置,所述升降底座的顶部设有两个相互对称设置的卡块,两个所述卡块之间设有固定座,所述固定座设有锁紧螺栓,所述锁紧螺栓固定所述升降杆。

9.根据权利要求8所述的一种油烟机钢化玻璃原料的存放装置,其特征在于:所述升降杆的顶面为圆弧面。