欢迎来到知嘟嘟! 联系电话:13336804447 卖家免费入驻,海量在线求购! 卖家免费入驻,海量在线求购!
知嘟嘟
我要发布
联系电话:13336804447
知嘟嘟经纪人
收藏
专利号: 2018112606805
申请人: 磐安县宸熙工艺品有限公司
专利类型:发明专利
专利状态:已下证
专利领域: 织物等的处理;洗涤;其他类不包括的柔性材料
更新日期:2024-11-12
缴费截止日期: 暂无
价格&联系人
年费信息
委托购买

摘要:

权利要求书:

1.一种用于蓝印花布均匀染色的设备,其特征在于:包括

染池(1),其内具有染液;

可转动的设于染池内的染布辊(2);

用于驱动染布辊转动的驱动件(3);

浓度补充装置,用于在染布过程中向染池(1)内间歇的补充补充液;

搅拌装置,用于在补充液补充至染池(1)内后,将补充液与染液混合。

2.根据权利要求1所述的用于蓝印花布均匀染色的设备,其特征在于:当染布辊(2)转动15-25圈时,所述浓度补充装置将向染池(1)内补充一次补充液。

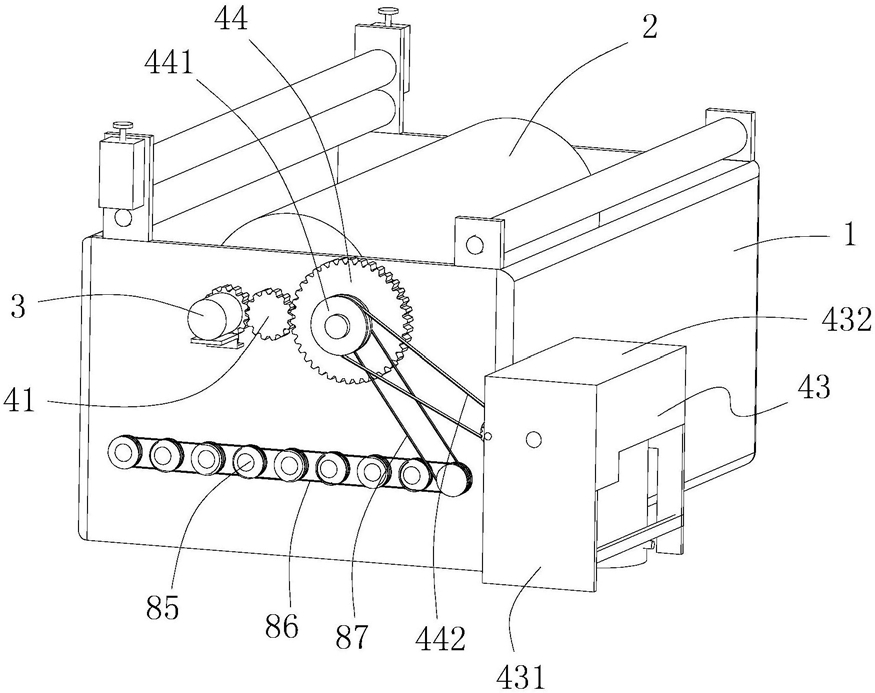
3.根据权利要求2所述的用于蓝印花布均匀染色的设备,其特征在于:所述浓度补充装置包括与所述染布辊相连的齿轮件(41)、与该齿轮件相连的变速部件、储料箱(42)、与该储料箱相连的出料部件、与所述变速部件相配合的出料驱动部件及与所述出料驱动部件相配合的撑架(43)。

4.根据权利要求3所述的用于蓝印花布均匀染色的设备,其特征在于:所述变速部件包括与所述齿轮件传动配合的第一变速齿轮(44)、与该第一变速齿轮通过传动部件相连的驱动齿轮(45)及与该驱动齿轮传动连接的第二变速齿轮(46);所述第一变速齿轮(44)的半径为齿轮件(41)的3-5倍,所述第二变速齿轮(46)的半径为驱动齿轮(45)的3-5倍;所述撑架(43)包括撑脚(431)和设于该撑脚上的箱体(432),该箱体内设有定位板(433),所述驱动齿轮(45)上设有定位轴(451),所述第二变速齿轮(46)上设有限位轴(461),该定位轴和限位轴均为一端可转动的穿设于箱体(432)内壁上,另一端穿过所述定位板(433)。

5.根据权利要求4所述的用于蓝印花布均匀染色的设备,其特征在于:所述出料驱动部件包括可上下动作的设于所述储料箱内的活塞件(51)、与该活塞件相连的推杆(52)、于所述第二变速齿轮转动的过程中驱动该推杆进行上下往复移动的推杆驱动组件、设于所述储料箱下部的进料管(422)和进气管(53),该进气管上设有单向进气件;所述推杆(52)带动活塞件上移的过程中,外部空气由进气管进入至储料箱(42)内。

6.根据权利要求5所述的用于蓝印花布均匀染色的设备,其特征在于:所述储料箱(42)上部设有排气管(421),该排气管(421)上设有第一阀门,所述进料管(422)上设有第二阀门;所述出料部件包括与该储料箱下部相连的出料管(61)、设于染池内的多个分管(62)、间隔分布于分管上的出料头(63)及分别与多个分管相连的主管(64),所述出料管(62)与该主管(64)相连,该出料头(63)上设有单向出料件。

7.根据权利要求5所述的用于蓝印花布均匀染色的设备,其特征在于:所述推杆驱动组件包括与所述限位轴固连的中心齿轮(71)、与该中心齿轮啮合的第一侧齿轮(72)和第二侧齿轮(73)、与该第一侧齿轮同轴设置的第一驱动件、与该第二侧齿轮相配合的第二驱动件及设于推杆上的齿轨(74),所述第一驱动件包括第一圆盘(751)和与该第一圆盘固连的第一扇齿(752),所述第二驱动件包括第二圆盘(761)和与该第二圆盘固连的第二扇齿(762),该第一 、第二扇齿可分别与所述齿轨(74)啮合;所述第一扇齿(752)和第二扇齿(762)的朝向一致,转动方向相同。

8.根据权利要求7所述的用于蓝印花布均匀染色的设备,其特征在于:所述中心齿轮(71)上设有导向柱(711),所述推杆(52)上设有与该导向柱相配合的导向槽(521);所述箱体(432)上设有与该推杆(52)相连的弹性连接部件。

9.根据权利要求8所述的用于蓝印花布均匀染色的设备,其特征在于:所述弹性连接部件包括与箱体内壁固连的连接块(76)和设于该连接块与推杆上部之间的弹簧(77),该弹簧一端与连接块(76)固连,另一端与推杆(52)固连。

10.根据权利要求1所述的用于蓝印花布均匀染色的设备,其特征在于:所述搅拌装置设于所述分管(62)上方,该搅拌装置包括沿染池宽度方向上分布的多个第一搅拌轴(81)和第二搅拌轴(82)、设于第一搅拌轴上的第一搅拌板(83)、设于第二搅拌轴上的第二搅拌板(84)、分别设于第一、第二搅拌轴端部上的皮带轮(85)、实现皮带轮之间的传动连接的第一皮带(86)及实现其中一皮带轮与第一变速齿轮(44)之间的传动连接的第二皮带(87)。