欢迎来到知嘟嘟! 联系电话:13336804447 卖家免费入驻,海量在线求购! 卖家免费入驻,海量在线求购!
知嘟嘟
我要发布
联系电话:13336804447
知嘟嘟经纪人
收藏
专利号: 201811256133X
申请人: 嵊州市甘霖镇缘艺工具厂
专利类型:发明专利
专利状态:已下证
专利领域: 装订;图册;文件夹;特种印刷品
更新日期:2026-03-02
缴费截止日期: 暂无
价格&联系人
年费信息
委托购买

摘要:

权利要求书:

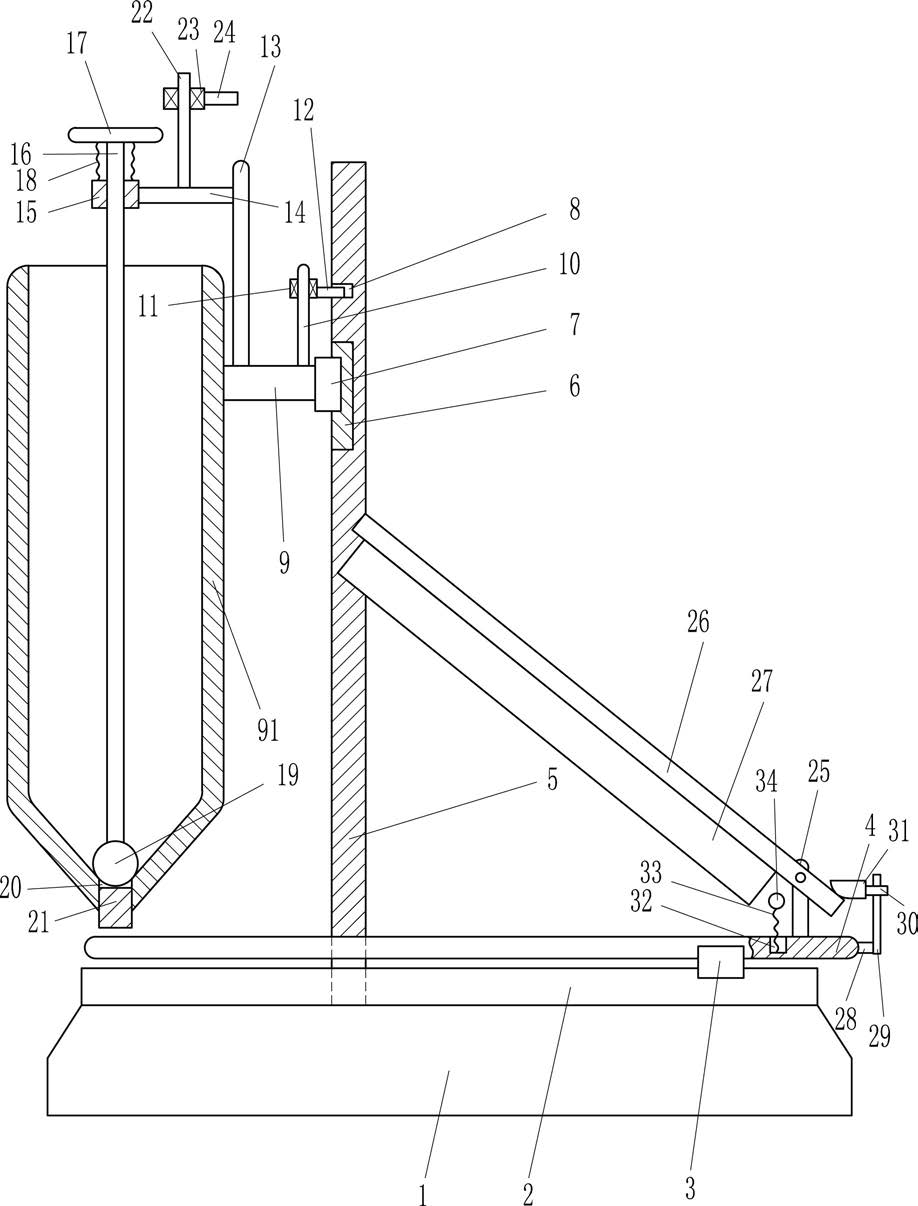
1.一种会计凭证粘胶机,包括有底座(1)、第一滑轨(2)、第一滑块(3)、放置板(4)、连接板(5)、第二滑轨(6)、第二滑块(7)、第一连接杆(9)和储胶筒(91),底座(1)的顶部设有第一滑轨(2),第一滑轨(2)上滑动式设有第一滑块(3),第一滑块(3)上设有放置板(4),底座(1)的顶部连接有连接板(5),连接板(5)位于第一滑块(3)的后侧,连接板(5)的左侧面上部嵌入式设有第二滑轨(6),连接板(5)的左侧面上部开有卡槽(8),卡槽(8)位于第二滑轨(6)的上方,第二滑轨(6)上滑动式设有第二滑块(7),第二滑块(7)的左侧面连接有第一连接杆(9),第一连接杆(9)的左端连接有储胶筒(91),其特征在于,还包括有第一转轴(10)、第一轴承座(11)、卡杆(12)、第一支杆(13)、第二连接杆(14)、导套(15)、导杆(16)、拉杆(17)、第一弹簧(18)、卡球(19)和海绵(21),第一连接杆(9)的顶部右侧设有第一转轴(10),第一转轴(10)的上部过盈连接有第一轴承座(11),第一轴承座(11)的右侧连接有卡杆(12),卡杆(12)的右部卡在卡槽(8)内,第一连接杆(9)的顶部左侧连接有第一支杆(13),第一支杆(13)的左侧面上部连接有第二连接杆(14),第二连接杆(14)的左端连接有导套(15),导套(15)内滑动式设有导杆(16),导杆(16)的顶部连接有拉杆(17),拉杆(17)的底部与导套(15)的顶部之间左右对称连接有第一弹簧(18),导杆(16)的底端设有卡球(19),储胶筒(91)的底部开有通孔(20),卡球(19)卡住通孔(20),通孔(20)内设有海绵(21)。

2.根据权利要求1所述的一种会计凭证粘胶机,其特征在于,还包括有第二转轴(22)、第二轴承座(23)和挡块(24),第二连接杆(14)的顶部设有第二转轴(22),第二转轴(22)的上部过盈连接有第二轴承座(23),第二轴承座(23)的右侧设有挡块(24)。

3.根据权利要求2所述的一种会计凭证粘胶机,其特征在于,还包括有第二支杆(25)、第三连接杆(26)、橡胶压块(27)、连接块(28)、螺栓(29)、螺母(30)和卡块(31),放置板(4)的顶部右侧连接有第二支杆(25),第二支杆(25)的上部转动式连接有第三连接杆(26),第三连接杆(26)的左侧面连接有橡胶压块(27),放置板(4)的右侧面连接有连接块(28),连接块(28)的右侧设有螺栓(29),螺栓(29)上设有螺母(30),螺母(30)上设有卡块(31),卡块(31)与第三连接杆(26)的右部接触。

4.根据权利要求3所述的一种会计凭证粘胶机,其特征在于,还包括有第二弹簧(33)和塑料球(34),放置板(4)的顶部右侧开有凹槽(32),凹槽(32)位于第二支杆(25)的左侧,凹槽(32)的内底部连接有第二弹簧(33),第二弹簧(33)的上端连接有塑料球(34),塑料球(34)位于第三连接杆(26)的下方。