欢迎来到知嘟嘟! 联系电话:13336804447 卖家免费入驻,海量在线求购! 卖家免费入驻,海量在线求购!
知嘟嘟
我要发布
联系电话:13336804447
知嘟嘟经纪人
收藏
专利号: 2018112133214
申请人: 重庆文理学院
专利类型:发明专利
专利状态:已下证
专利领域: 测量;测试
更新日期:2024-01-05
缴费截止日期: 暂无
价格&联系人
年费信息
委托购买

摘要:

权利要求书:

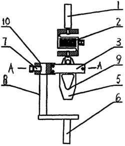
1.一种农作物茎秆剪切应力测量装置,其特征在于:在角状刀架(8)的底部上固装固定杆(6),在所述角状刀架(8)的上部上通过调整定位顶丝(7)可上下移动调整的套装外刀片座体(10),在所述外刀片座体(10)侧部上相互对称平行的安装板式剪切外刀片A(3)和板式剪切外刀片B(4),孔式剪切内刀片(5)可上下抽拉移动的配置安装在所述的板式剪切外刀片A(3)与所述板式剪切外刀片B(4)之间部位处,且所述的孔式剪切内刀片(5)的两侧面分别与所述板式剪切外刀片A(3)和所述板式剪切外刀片B(4)相对的内侧面呈紧密接触配合,所述孔式剪切内刀片(5)的内刀片剪切部位刃口(9)为平刃,拉杆(1)通过拉力传感器(2)与所述孔式剪切内刀片(5)的上侧部铰连接,所述拉杆(1)的轴向中心线与所述固定杆(6)轴向中心线重合;

通过所述拉杆(1)和所述固定杆(6)将本装置配装在万能实验机上。