欢迎来到知嘟嘟! 联系电话:13336804447 卖家免费入驻,海量在线求购! 卖家免费入驻,海量在线求购!
知嘟嘟
我要发布
联系电话:13336804447
知嘟嘟经纪人
收藏
专利号: 2018111997341
申请人: 安徽星鹏林业调查规划设计有限公司
专利类型:发明专利
专利状态:已下证
专利领域: 测量;测试
更新日期:2026-03-04
缴费截止日期: 暂无
价格&联系人
年费信息
委托购买

摘要:

权利要求书:

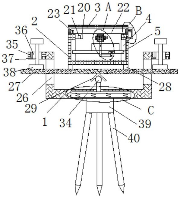
1.一种用于森林资源防护的勘查仪,包括安装盒(1),其特征在于,所述安装盒(1)内活动安装有仪器盒(2),仪器盒(2)的顶侧延伸至安装盒(1)外并滑动安装有滑盖(3),仪器盒(2)的两侧内壁上均开设有滑槽(4),两个滑槽(4)内滑动安装有同一个滑板(5),滑板(5)的顶侧活动安装有勘查仪,仪器盒(2)的一侧内壁上固定安装有固定轴(6),固定轴(6)的一端转动安装有L型杆(7),L型杆(7)的一侧转动安装有拉杆(8),拉杆(8)的顶端转动安装在滑板(5)的底侧上,所述滑盖(3)的底侧固定安装有竖杆(11),竖杆(11)的底端沿竖直方向开设有竖槽(12),竖槽(12)的两侧内壁上均开设有滑动槽(13),两个滑动槽(13)内滑动安装有同一个滑动块(14),滑动块(14)的底侧固定安装有推杆(15),推杆(15)的底端转动安装在L型杆(7)的顶端上,所述竖杆(11)上套接有转块(16),转块(16)靠近拉杆(8)的一侧固定安装有L型定位杆,转块(16)的顶侧开设有转孔(17),竖杆(11)的底端贯穿转孔(17),转孔(17)的内壁上环形开设有转槽(18),转槽(18)内活动安装有两个转杆(19),两个转杆(19)相互靠近的一端分别固定安装在竖杆(11)的两侧上,竖杆(11)远离拉杆(8)的一侧设有固定安装在仪器盒(2)一侧内壁上的固定块(20),固定块(20)的一侧弧形开设有凹槽(21),凹槽(21)与L型定位杆相适配。

2.根据权利要求1所述的一种用于森林资源防护的勘查仪,其特征在于,所述安装盒(1)的两侧内壁上均开设有拉孔(26),两个拉孔(26)内活动安装有同一个位于仪器盒(2)下方的顶杆(27),顶杆(27)的一侧转动安装在安装盒(1)的一侧内壁上,顶杆(27)的顶侧固定安装有两个位于安装盒(1)内的连接杆(28),两个连接杆(28)的顶端均固定安装在仪器盒(2)的底侧上。

3.根据权利要求2所述的一种用于森林资源防护的勘查仪,其特征在于,所述拉孔(26)的上方设有固定安装在安装盒(1)两侧的定位块(35),两个定位块(35)的顶侧均开设有螺纹孔(36),两个螺纹孔(36)均螺纹安装有螺纹杆(37),螺纹杆(37)的两端均延伸至螺纹孔(36)外,两个螺纹杆(37)的底端均固定安装有压板(38),两个压板(38)的底侧均与顶杆(27)的顶侧相接触。

4.根据权利要求2所述的一种用于森林资源防护的勘查仪,其特征在于,所述顶杆(27)的底侧固定安装有V型杆(29),V型杆(29)的下方设有开设在安装盒(1)底侧内壁上的伸缩槽(30),伸缩槽(30)内活动安装有伸缩杆(31),伸缩杆(31)的顶端延伸至安装盒(1)内并转动安装有转轮(34),转轮(34)与V型杆(29)的底侧相接触。

5.根据权利要求4所述的一种用于森林资源防护的勘查仪,其特征在于,所述伸缩槽(30)的两侧内壁上均开设有活动槽(32),两个活动槽(32)内活动安装有同一个横杆(33),伸缩杆(31)的底端固定安装在横杆(33)的顶侧上,横杆(33)的底侧固定安装有多个第一弹簧的一端,多个第一弹簧的底端均固定安装在伸缩槽(30)的底侧内壁上。

6.根据权利要求1所述的一种用于森林资源防护的勘查仪,其特征在于,所述仪器盒(2)的顶侧固定安装有限位杆(23),竖杆(11)的一侧设有开设在滑盖(3)底侧上的限位槽(22),限位杆(23)的顶端延伸至限位槽(22)内。

7.根据权利要求1所述的一种用于森林资源防护的勘查仪,其特征在于,所述竖杆(11)远离固定块(20)的一侧设有转动安装在滑盖(3)一侧的U型杆(24),U型杆(24)的下方设有开设在仪器盒(2)一侧的定位槽(25),U型杆(24)的底端延伸至定位槽(25)内,U型杆(24)与滑盖(3)相互靠近的一侧固定安装有同一个第二弹簧。

8.根据权利要求1所述的一种用于森林资源防护的勘查仪,其特征在于,所述推杆(15)上套接有第三弹簧,第三弹簧的顶端固定安装在滑动块(14)的底侧上,第三弹簧的底端固定安装在滑动槽(13)的底侧内壁上。

9.根据权利要求1所述的一种用于森林资源防护的勘查仪,其特征在于,所述安装盒(1)的底侧活动安装有支块(39),支块(39)的底侧转动安装有三个支架(40)。

10.根据权利要求1所述的一种用于森林资源防护的勘查仪,其特征在于,所述滑板(5)的底侧开设有移槽(9),移槽(9)内活动安装有移块(10),拉杆(8)的顶端转动安装在移块(10)的底侧上。