欢迎来到知嘟嘟! 联系电话:13336804447 卖家免费入驻,海量在线求购! 卖家免费入驻,海量在线求购!
知嘟嘟
我要发布
联系电话:13336804447
知嘟嘟经纪人
收藏
专利号: 2018111429288
申请人: 天津职业技术师范大学
专利类型:发明专利
专利状态:已下证
专利领域: 电通信技术
更新日期:2025-02-08
缴费截止日期: 暂无
价格&联系人
年费信息
委托购买

摘要:

权利要求书:

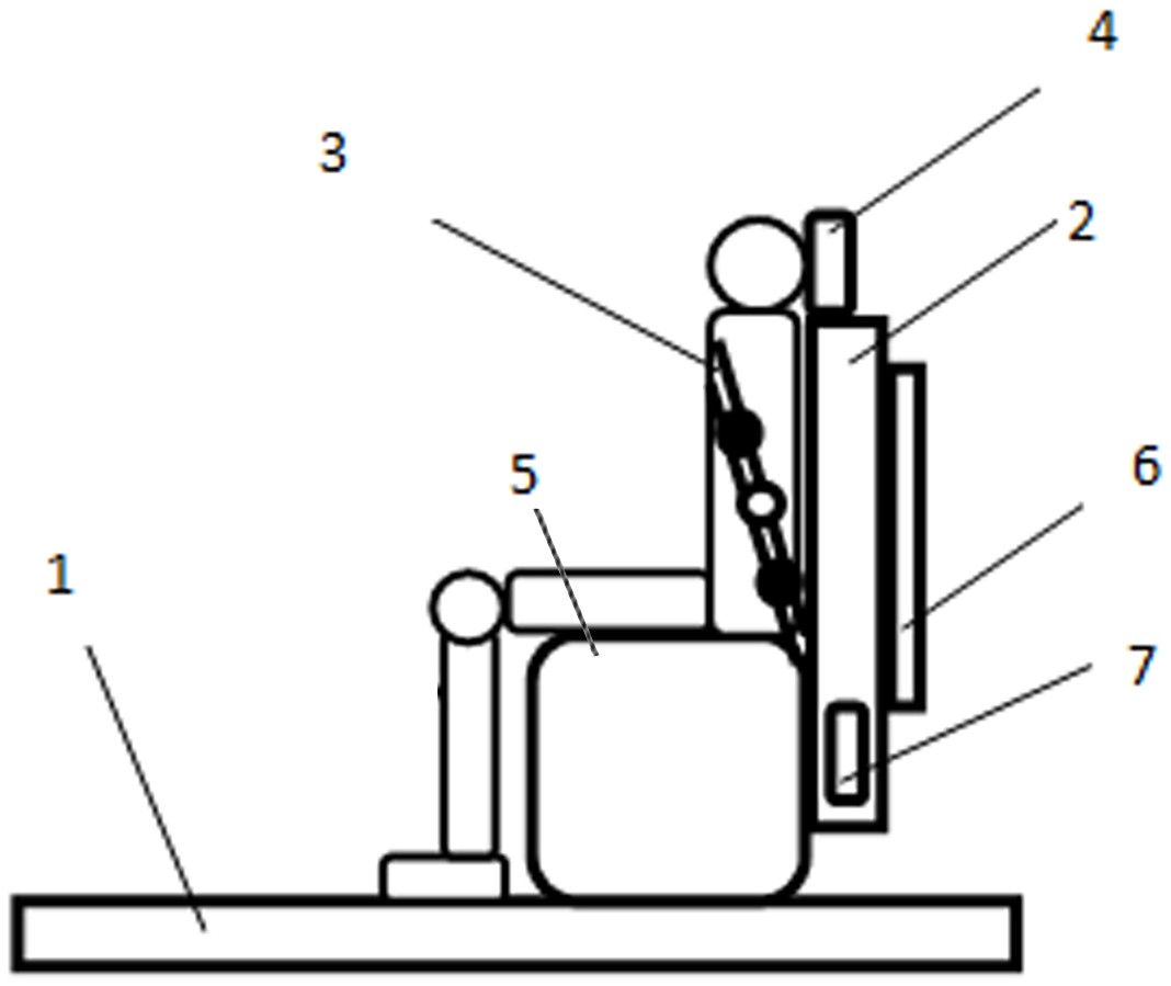
1.一种乘车用座椅声品质主动控制系统,所述的座椅安装在乘用车的地板(1)上且该座椅包括座椅本体(5)、靠背(2)和头枕(4),靠背(2)的前端设置有安全带(3),该主动控制系统用于对座椅周围的声品质进行调节,其特征在于:所述安全带(3)上依次设置有安全带初级声源传声器(8)、安全带扬声器(9)和安全带误差传声器(10),所述头枕(4)的前端顶部对称设置有头枕初级声源传声器(12)和头枕误差传声器(13),头枕(4)的前端中间位置处对称设置有头枕左扬声器(11)和头枕右扬声器(14),所述靠背(2)的后端或座椅本体(5)的底部设置有声品质座椅控制器(6);

所述声品质座椅控制器(6)包括初级源传声器接口(22)、次级源扬声器接口(23)、次级源放大器(24)、次级源低通滤波器(25)、总控制中心(26)、声品质数据库(27)、误差传声器控制接口(28)、误差传声器放大器(29)和误差传声器低通滤波器(30),初级源传声器接口(22)用于连接安全带初级声源传声器(8)和头枕初级声源传声器(12),初级源传声器接口(22)与总控制中心(26)的输入端电连接,次级源扬声器接口(23)用于连接安全带扬声器(9)、头枕左扬声器(11)和头枕右扬声器(14),次级源扬声器接口(23)依次与次级源放大器(24)和次级源低通滤波器(25)相连后与总控制中心(26)的输出端电连接,误差传声器控制接口(28)用于连接安全带误差传声器(10)和头枕误差传声器(13),误差传声器控制接口(28)依次与误差传声器放大器(29)和误差传声器低通滤波器(30)相连后与总控制中心(26)的输入端电连接。

2.根据权利要求1所述的一种乘车用座椅声品质主动控制系统,其特征在于:所述总控制中心(26)与声品质数据库(27)双向连接,所述总控制中心(26)的输入端与设置在靠背(2)其中一侧的声品质选择按钮(7)相连。

3.根据权利要求1所述的一种乘车用座椅声品质主动控制系统,其特征在于:所述的声品质座椅控制器(6)设置在所述靠背(2)的后端。

4.根据权利要求1所述的一种乘车用座椅声品质主动控制系统,其特征在于:所述的安全带扬声器(9)设置有至少一个。

5.根据权利要求1所述的一种乘车用座椅声品质主动控制系统,其特征在于:所述的安全带初级声源传声器(8)设置有至少一个。

6.根据权利要求1所述的一种乘车用座椅声品质主动控制系统,其特征在于:所述的安全带误差传声器(10)设置有至少一个。

7.根据权利要求1所述的一种乘车用座椅声品质主动控制系统,其特征在于:所述的头枕左扬声器(11)设置有至少一个。

8.根据权利要求1所述的一种乘车用座椅声品质主动控制系统,其特征在于:所述的头枕初级声源传声器(12)设置有至少一个。

9.根据权利要求1所述的一种乘车用座椅声品质主动控制系统,其特征在于:所述的头枕误差传声器(13)设置有至少一个。

10.根据权利要求1所述的一种乘车用座椅声品质主动控制系统,其特征在于:所述的头枕右扬声器(14)设置有至少一个。