欢迎来到知嘟嘟! 联系电话:13336804447 卖家免费入驻,海量在线求购! 卖家免费入驻,海量在线求购!
知嘟嘟
我要发布
联系电话:13336804447
知嘟嘟经纪人
收藏
专利号: 2018110420750
申请人: 苏州涵轩信息科技有限公司
专利类型:发明专利
专利状态:已下证
专利领域: 铁的冶金
更新日期:2024-03-11
缴费截止日期: 暂无
价格&联系人
年费信息
委托购买

摘要:

权利要求书:

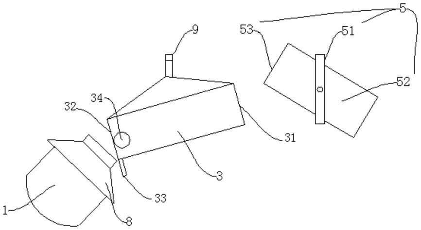
1.一种炼钢过程中减少钢水消耗的系统,其特征在于,包括转炉(1)、第一填料装置(2)、第二填料装置(3)、废钢合金加料装置(4)以及发热剂加料装置(5),当所述第一填料装置(2)和第二填料装置(3)在上料位置(6)时可向转炉(1)中填料,所述第一填料装置(2)可在第一装料位置和所述上料位置(6)来回移动,所述第二填料装置(3)可在第二装料位置和所述上料位置(6)来回移动,所述废钢合金加料装置(4)用于向第一填料装置(2)中加料,所述发热剂加料装置(5)用于向第二填料装置(3)中加料,所述第一填料装置(2)和第二填料装置(3)均设置有重量传感器(7),

所述废钢合金加料装置(4)用于装载废钢以及合金,所述发热剂加料装置(5)装载有发热剂,

所述转炉(1)上还设置有挡渣板(8),所述挡渣板(8)朝向转炉的一侧设置有若干加强筋(81),所述挡渣板(8)表面还设置有若干凸出的台阶(82),所述台阶(82)远离转炉的一面面向下倾斜。

2.如权利要求1所述的一种炼钢过程中减少钢水消耗的系统,其特征在于,所述发热剂为硅碳发热剂。

3.如权利要求1所述的一种炼钢过程中减少钢水消耗的系统,其特征在于,所述第一填料装置(2)包括第一进料口和第一出料口,所述第一填料装置(2)的第一出料口一端设置有第一出料挡板,所述出料挡板与第一挡板电机连接,所述第一出料口用于与转炉对接,所述第一填料装置整体向第一进料口(31)的一侧倾斜,所述第一填料装置(2)顶端与滑轨(9)连接。

4.如权利要求1所述的一种炼钢过程中减少钢水消耗的系统,其特征在于,所述第二填料装置(3)包括第二进料口(31)和第二出料口(32),所述第二出料口(32)一端设置有第二出料挡板(33),所述第二出料挡板(33)与第二挡板电机连接(34),所述第二出料口(32)用于与转炉对接,所述第二进料口(31)低于所述第一出料口(32),所述第二填料装置(3)顶端与滑轨(9)连接。

5.如权利要求1所述的一种炼钢过程中减少钢水消耗的系统,其特征在于,所述发热剂加料装置(5)包括支架(51)和支架(51)连接的料筒(52),所述料筒(52)与支架(51)转动配合,所述料筒(52)上设置有上料口(53),所述上料口(53)用于与所述第一填料装置(2)中的进料口(31)对接。