欢迎来到知嘟嘟! 联系电话:13095918853 卖家免费入驻,海量在线求购! 卖家免费入驻,海量在线求购!
知嘟嘟
我要发布
联系电话:13095918853
知嘟嘟经纪人
收藏
专利号: 201811019355X
申请人: 合肥凯石投资咨询有限公司
专利类型:发明专利
专利状态:已下证
专利领域: 建筑物
更新日期:2025-05-13
缴费截止日期: 暂无
价格&联系人
年费信息
委托购买

摘要:

权利要求书:

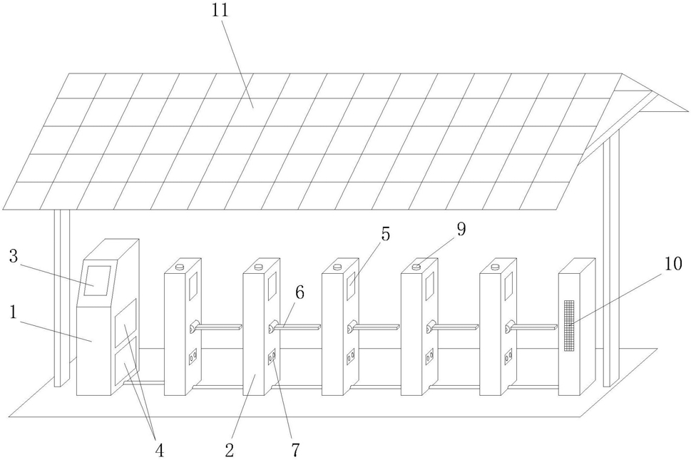
1.一种共享单车存放站,其特征在于:包括主车桩(1)和若干个并排设置的存车桩(2),所述主车桩(1)上设有控制屏(3)和可更换电池(4),所述存车桩(2)上设有钥匙盒(5)、桩位锁(6)和充电接口(7),所述可更换电池(4)的输出端口通过线路分别与各个存车桩(2)上充电接口(7)连接;

所述主车桩(1)内设有控制器(8),所述控制器(8)与控制屏(3)双向通信,控制器(8)与钥匙盒(5)和桩位锁(6)双向通信,控制器(8)被配置为接收控制屏(3)的触控信号,并根据触控信号控制钥匙盒(5)和桩位锁(6)的开闭,以及接收钥匙盒(5)和桩位锁(6)的开闭状况信息,并由控制屏(3)显示。

2.根据权利要求1所述的一种共享单车存放站,其特征在于:所述钥匙盒(5)内嵌于存车桩(2)的侧壁上,且在钥匙盒(5)的内侧设有电动推杆;所述桩位锁(6)由旋转档杆和电动转轴组成,所述电动转轴设在存车桩(2)的侧壁上,所述旋转档杆与电动转轴连接;

所述电动推杆和电动转轴受控制器(8)控制。

3.根据权利要求2所述的一种共享单车存放站,其特征在于:所述存车桩(2)上设有控制按键(9),所述控制按键(9)用于手动控制电动推杆和电动转轴的关闭。

4.根据权利要求1所述的一种共享单车存放站,其特征在于:所述控制器(8)内设有充电管理模块和负载充电状态检测模块,所述充电管理模块分别与所述可更换电池(4)的输入端口、可更换电池(4)、可更换电池(4)的输出端口、负载充电状态检测模块连接,所述负载充电状态检测模块一端与充电管理模块连接,另一端与可更换电池(4)的输出端口连接。

5.根据权利要求1所述的一种共享单车存放站,其特征在于:所述主车桩(1)设有报警模块(10),所述报警模块(10)与控制器(8)单向通信。

6.根据权利要求1所述的一种共享单车存放站,其特征在于:所述共享单车存放站还包括太阳能屋顶(11),所述太阳能屋顶(11)与主车桩(1)上的可更换电池(4)的输入端口连接。

7.一种共享单车管理系统,其特征在于:包括权利要求1-6任一项所述的共享单车存放站,还包括共享单车(12)、客户端(13)和服务器(14);

所述共享单车(12)停放在共享单车存放站中的存车桩(2)内,共享单车(12)上设有钥匙锁(15)和电源(16),所述电源(16)设有外接电线盒,用于连接存车桩(2)上充电接口(7);

所述服务器(14)设有存储模块和通讯模块,所述存储模块内存储有共享单车(12)的编号信息、型号信息、电源电量信息和骑行记录信息,以及共享单车存放站的位置信息,所述通讯模块用于建立服务器(14)与客户端(13)和共享单车存放站控制器(8)之间的相互通信;

所述客户端(13)用于登录至服务器(14),其包括个人信息模块、查询模块、地图模块、取车模块、还车模块。

8.一种共享单车管理方法,其特征在于:步骤包括

(1)查询:用户通过客户端查询模块查询共享单车存放站位置信息以及可提供车型信息,并通过地图模块导航到达指定地点;

(2)取车:通过取车模块扫描主车桩控制屏上的二维码,完成身份验证,并选择车型和车号,控制器控制打开该车号对应存车桩的桩位锁和钥匙盒,用户取出钥匙,开锁并取出共享单车,2min后自动控制桩位锁和钥匙盒关闭;

(3)还车:用户回到取车的共享单车存放站,并通过还车模块扫描主车桩控制屏上的二维码,完成身份验证,并选择对应还车车号,控制器控制打开该车号对应存车桩的桩位锁和钥匙盒,用户将车放入存车桩并锁上钥匙锁,将钥匙放入钥匙盒后,按下存车桩上的控制按键,桩位锁和钥匙盒关闭。