欢迎来到知嘟嘟! 联系电话:13336804447 卖家免费入驻,海量在线求购! 卖家免费入驻,海量在线求购!
知嘟嘟
我要发布
联系电话:13336804447
知嘟嘟经纪人
收藏
专利号: 2018109795835
申请人: 王和
专利类型:发明专利
专利状态:已下证
专利领域: 农业;林业;畜牧业;狩猎;诱捕;捕鱼
更新日期:2024-04-23
缴费截止日期: 暂无
价格&联系人
年费信息
委托购买

摘要:

权利要求书:

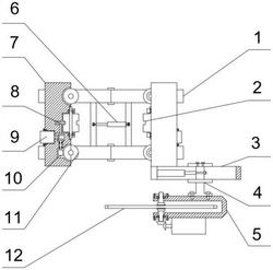
1.一种多功能树木除枝砍伐工具,包括连接架(1)、横向修剪轮(2)、滑槽(3)、滑动轴(4)、锯齿套(5)、液压缸(6)、除枝架(7)、齿轮(8)、电机(9)、蜗杆(10)、纵向修剪轮(11)、锯齿(12),其特征在于:连接架(1)由外接口(1-1)、连接销(1-2)、右连接架(1-3)、连接环(1-

4)、左连接架(1-5)组成;外接口(1-1)位于连接架(1)的上部,外接口(1-1)位于连接架(1)的中间位置,外接口(1-1)由两个方形块构成,外接口(1-1)焊接在左连接架(1-5)上,外接口(1-1)中部加工有圆孔;连接销(1-2)位于连接架(1)的中部,连接销(1-2)一部分和左连接架(1-5)接触;连接销(1-2)一部分和右连接架(1-3)接触;右连接架(1-3)上部通过销与左连接架(1-5)连接在一起,右连接架(1-3)下部与除枝架(7)焊接在一起;连接环(1-4)设有两个,一个连接环(1-4)位于左连接架(1-5)的中部,连接环(1-4)一个位于右连接架(1-

3)的中部,连接环(1-4)连接液压缸(6);左连接架(1-5)上部与销接触,左连接架(1-5)下部与除枝架(7)焊接在一起;

横向修剪轮(2)由转轴(2-1)、中间齿(2-2)、铰刀(2-3)、轴承(2-4)组成;转轴(2-1)两端与轴承(2-4)相接处,转轴(2-1)中部与中间齿(2-2)固定在一起,转轴(2-1)中部与铰刀(2-3)固定在一起;中间齿(2-2)位于转轴(2-1)上,中间齿(2-2)位于铰刀(2-3)的中部,中间齿(2-2)与齿轮(8-1)啮合;铰刀(2-3)位于转轴(2-1)上,铰刀(2-3)位于中间齿(2-2)两侧;轴承(2-4)位于横向修剪轮轴承座(7-2)内,轴承(2-4)套在转轴(2-1)两端;

滑槽(3)由液压缸固定螺丝(3-1)、滑槽套(3-2)、滑槽(3-3)组成;液压缸固定螺丝(3-

1)位于滑槽套(3-2)的左侧,液压缸固定螺丝(3-1)通过螺丝与液压缸固定在一起;滑槽套(3-2)为长方形,滑槽套(3-2)左侧焊接在除枝架(7)下部,滑槽套(3-2)内部加工有长方形槽;滑槽(3-3)位于滑槽套(3-2)的内部,滑槽(3-3)为长方形,滑槽(3-3)内部与滑动轴(4)接触;

滑动轴(4)由活动限位板(4-1)、固定孔(4-2)、限位板(4-3)、滑动轴(4-4)、连接板(4-

5)组成;活动限位板(4-1)位于滑动轴(4-4)的上部,活动限位板(4-1)通过螺丝固定在滑动轴(4-4)上,活动限位板(4-1)位于滑槽(3)的一侧;固定孔(4-2)位于滑动轴(4-4)上,固定孔(4-2)中穿过液压缸活塞杆;限位板(4-3)焊接在滑动轴(4-4)的中部,限位板(4-3)位于滑槽(3)的另一侧;滑动轴(4-4)为长方形,滑动轴(4-4)上部位于滑槽(3)内,滑动轴(4-4)下部与连接板(4-5)焊接在一起;连接板(4-5)位于滑动轴(4-4)的下部,连接板(4-5)下部通过螺丝与锯齿套(5)固定在一起;

锯齿套(5)由轴承盖(5-1)、轴承座(5-2)、电机固定孔(5-3)、U形套(5-4)、滑动轴连接孔(5-5)组成;轴承盖(5-1)为圆环状,轴承盖(5-1)中部加工有圆孔,轴承盖(5-1)圆环上均匀加工有四个圆孔,轴承盖(5-1)通过螺丝固定在U形套(5-4)上,轴承盖(5-1)设有两个;轴承座(5-2)位于U形套(5-4)的左端,轴承座(5-2)位于轴承盖(5-1)的内部;电机固定孔(5-

3)位于U形套(5-4)的下部,电机固定孔(5-3)通过螺丝与电机固定在一起;U形套(5-4)左侧与锯齿轴(12-2)接触,U形套(5-4)下部与电机固定在一起,U形套(5-4)上部与滑动轴(4)固定在一起;滑动轴连接孔(5-5)位于U形套(5-4)的上部;

液压缸(6)由端盖(6-1)、缸套(6-2)、进油孔(6-3)、连接杆(6-4)、活塞杆(6-5)、出油口(6-6)、活塞(6-7)、活塞环(6-8)组合;端盖(6-1)位于缸套(6-2)的左侧,端盖(6-1)中部加工有圆孔,端盖(6-1)圆孔中部加工有密封槽;缸套(6-2)左侧开口,缸套(6-2)左侧与端盖(6-1)螺纹配合,缸套(6-2)右侧与连接杆(6-4)焊接在一起;进油孔(6-3)位于缸套(6-2)的右上部,进油孔(6-3)与液压油管相连接;连接杆(6-4)位于缸套(6-2)的右侧,连接杆(6-4)右侧加工有圆孔;活塞杆(6-5)左侧加工有圆孔,活塞杆(6-5)右侧与活塞(6-7)固定在一起;出油口(6-6)位于缸套(6-2)的左下部,出油口(6-6)与液压油管相连接;活塞(6-7)位于缸套(6-2)的内部,活塞(6-7)上加工有两道圆环,活塞(6-7)左侧与活塞杆固定在一起;活塞环(6-8)为圆环状,活塞环(6-8)设有两道,活塞环(6-8)位于活塞(6-7)的环槽中,活塞环(6-8)与缸套(6-2)接触;

除枝架(7)由纵向修剪轮轴承盖(7-1)、横向修剪轮轴承座(7-2)、横向轮槽(7-3)、斜齿轮槽(7-4)、纵向轮槽(7-5)、齿轮槽(7-6)、电机槽(7-7)组成;纵向修剪轮轴承盖(7-1)位于除枝架(7)的右侧,纵向修剪轮轴承盖(7-1)设有两个,纵向修剪轮轴承盖(7-1)通过螺丝谷固定在除枝架(7)的右侧;横向修剪轮轴承座(7-2)位于除枝架(7)的中部,横向修剪轮轴承座(7-2)内部与轴承(2-4)接触;横向轮槽(7-3)位于除枝架(7)的中部,横向轮槽(7-3)内部安装有横向修剪轮(2);斜齿轮槽(7-4)位于除枝架(7)的内部,斜齿轮槽(7-4)内部安装有斜齿轮;纵向轮槽(7-5)设有两个,纵向轮槽(7-5)内部安装有纵向修剪轮(11);齿轮槽(7-

6)位于除枝架(7)的中部,齿轮槽(7-6)内部安装有齿轮(8);电机槽(7-7)位于除枝架(7)的左侧,电机槽(7-7)内部安装有电机(9-3);

齿轮(8)由齿轮(8-1)、杆(8-2)、斜齿轮Ⅰ(8-3)组成;齿轮(8-1)位于杆(8-2)的上部,齿轮(8-1)右侧与中间齿(2-2)相啮合;杆(8-2)为圆柱体,杆(8-2)下部与斜齿轮Ⅰ(8-3)焊接在一起;斜齿轮Ⅰ(8-3)位于杆(8-2)的下部,斜齿轮Ⅰ(8-3)左侧与斜齿轮Ⅱ(9-2)相啮合;

电机(9)由固定环(9-1)、斜齿轮Ⅱ(9-2)、电机(9-3)组成;固定环(9-1)为长方形,固定环(9-1)中部加工有圆孔,固定环(9-1)焊接在电机(9-3)上;斜齿轮Ⅱ(9-2)上不与斜齿轮Ⅰ(8-3)相啮合,斜齿轮Ⅱ(9-2)下部与斜齿轮Ⅲ(10-1)相啮合;电机(9-3)位于电机槽(7-7)内部,电机(9-3)通过螺丝固定在除枝架(7)上;

蜗杆(10)由斜齿轮Ⅲ(10-1)、蜗杆轴(10-2)、蜗杆轴承(10-3)、蜗杆(10-4)组成;斜齿轮Ⅲ(10-1)位于蜗杆轴(10-2)的上部,斜齿轮Ⅲ(10-1)左侧与斜齿轮Ⅱ(9-2)啮合;蜗杆轴(10-2)位于蜗杆(10-4)的上部,蜗杆轴(10-2)上安装有蜗杆轴承(10-3);蜗杆轴承(10-3)套在蜗杆轴(10-2)的中部,蜗杆轴承(10-3)设有两个;蜗杆(10-4)套在蜗杆轴(10-2)的下部,蜗杆(10-4)与齿环(11-1)相啮合;

纵向修剪轮(11)由齿环(11-1)、切割轮(11-2)、纵向转轴(11-3)组成;齿环(11-1)位于纵向修剪轮(11)的中部,齿环(11-1)与蜗杆(10-4)啮合;切割轮(11-2)位于齿环(11-1)的两侧,切割轮(11-2)为锯齿状,切割轮(11-2)设有两个;纵向转轴(11-3)穿过切割轮(11-2)中部,纵向转轴(11-3)穿过齿环(11-1)中部,纵向转轴(11-3)位于纵向修剪轮轴承盖(7-1)内部;

锯齿(12)由锯齿轴承(12-1)、锯齿轴(12-2)、垫片(12-3)、锯片(12-4)、螺帽(12-5)、斜齿轮Ⅳ(12-6)组成;锯齿轴承(12-1)设有两个,锯齿轴承(12-1)位于轴承座(5-2)内部;锯齿轴(12-2)中部与锯片(12-4)固定在一起,锯齿轴(12-2)下部与斜齿轮Ⅳ(12-6)固定在一起;垫片(12-3)设有两个,垫片(12-3)位于锯片(12-4)的两侧,垫片(12-3)套在锯齿轴(12-

2)上;锯片(12-4)为圆形,锯片(12-4)外圈加工有锯齿;螺帽(12-5)位于垫片(12-3)的两侧,螺帽(12-5)设有两个,螺帽(12-5)与锯齿轴(12-2)螺纹配合;斜齿轮Ⅳ(12-6)位于锯齿轴(12-2)的下部,斜齿轮Ⅳ(12-6)右侧与电机斜齿轮啮合;

连接架(1)上部与外界设备安装在一起,连接架(1)下部与除枝架(7)焊接在一起;横向修剪轮(2)位于除枝架(7)的右侧,横向修剪轮(2)位于除枝架(7)的中部;滑槽(3)为长方形,滑槽(3)左侧上部固定在除枝架(7)的下部,滑槽(3)内部安装有液压缸(6);滑动轴(4)位于滑槽(3)内部,滑动轴(4)与液压缸(6)相连接,滑动轴(4)下部与锯齿套(5)固定在一起;锯齿套(5)位于滑动轴(4)的下部,锯齿套(5)下部与电机固定在一起;液压缸(6)设有两个,液压缸(6)一个位于滑槽(3)内部,液压缸(6)一个位于连接架(1)上;除枝架(7)设有两个,除枝架(7)与连接架(1)焊接在一起;齿轮(8)位于除枝架(7)的内部,齿轮(8)与横向修剪轮(2)相啮合,齿轮(8)下部与电机(9)的斜齿轮Ⅱ(9-2)相啮合;电机(9)设有三个,电机(9)两个位于除枝架(7)内部,电机(9)一个位于锯齿套(5)的下部;蜗杆(10)上部与电机(9)啮合,蜗杆(10)下部与纵向修剪轮(11)啮合;纵向修剪轮(11)设有四个,纵向修剪轮(11)位于除枝架(7)的右侧;锯齿(12)圆盘状,锯齿(12)安装于锯齿套(5)的左侧。

2.根据权利要求1所述的一种多功能树木除枝砍伐工具,其特征在于:所述中间齿(2-

2)位于铰刀(2-3)的中部,中间齿(2-2)与齿轮(8-1)啮合。

3.根据权利要求1所述的一种多功能树木除枝砍伐工具,其特征在于:所述斜齿轮槽(7-4)位于除枝架(7)的内部,斜齿轮槽(7-4)内部安装有斜齿轮。

4.根据权利要求1所述的一种多功能树木除枝砍伐工具,其特征在于:所述齿环(11-1)位于纵向修剪轮(11)的中部,齿环(11-1)与蜗杆(10-4)啮合。