欢迎来到知嘟嘟! 联系电话:13336804447 卖家免费入驻,海量在线求购! 卖家免费入驻,海量在线求购!
知嘟嘟
我要发布
联系电话:13336804447
知嘟嘟经纪人
收藏
专利号: 2018109555579
申请人: 淮北雷德机电科技有限公司
专利类型:发明专利
专利状态:已下证
专利领域: 石油、煤气及炼焦工业;含一氧化碳的工业气体;燃料;润滑剂;泥煤
更新日期:2025-04-28
缴费截止日期: 暂无
价格&联系人
年费信息
委托购买

摘要:

权利要求书:

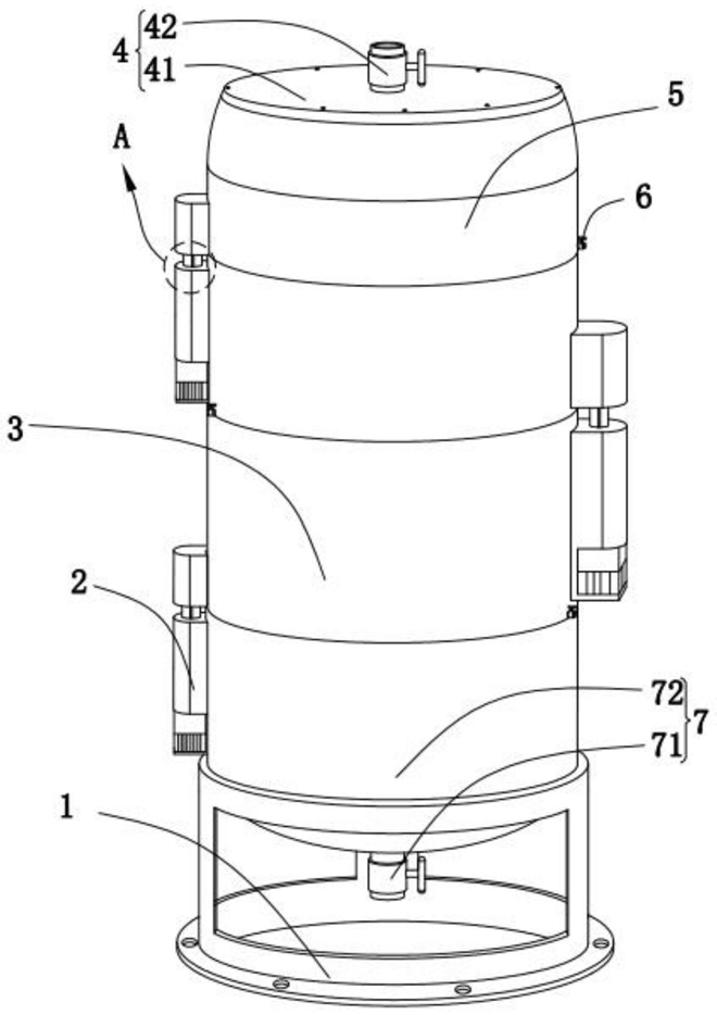
1.一种煤化工分离塔,其特征在于:包括固定架(1)、三个驱动结构(2)、两个第一套筒(3)、分流结构(4)、第二套筒(5)、水阀(6)、导流结构(7)、固定圈(8)和三个密封结构(9);用于收纳处理液态煤的所述导流结构(7)固定于所述固定架(1)的顶端,所述导流结构(7)的顶端设有两个的圆环形的所述第一套筒(3),且背离所述导流结构(7)的最端部的一个所述第一套筒(3)的顶端连接有所述第二套筒(5);所述第二套筒(5)与相邻的一个所述第一套筒(3)之间通过一个所述驱动结构(2)连接,所述导流结构(7)与相邻的一个所述第一套筒(3)之间通过所述驱动结构(2)连接;且两个所述第一套筒(3)之间通过另一个所述驱动结构(2)连接;相邻的两个所述第一套筒(3)、所述第一套筒(3)与所述第二套筒(5)及其所述第一套筒(3)与所述导流结构(7)之间通过所述密封结构(9)进行密封,且所述第二套筒(5)和两个所述第一套筒(3)的侧壁上一一对应设有连通于所述密封结构(9)的所述水阀(6);

三个圆环形的用于固定塔板的所述固定圈(8)分别设于两个所述第一套筒(3)和所述导流结构(7)的内部;所述第二套筒(5)的顶端设有用于对液化的煤进行分流的所述分流结构(4)。

2.根据权利要求1所述的一种煤化工分离塔,其特征在于:所述分流结构(4)包括盖板(41)、进料阀(42)、分流凸起(43)、导流通道(44)、多个喷孔(45)和第一密封圈(46),所述第二套筒(5)背离所述第一套筒(3)的一端设有可拆卸连接的所述盖板(41),所述盖板(41)的圆周方向上卡合有用于密封的横截面为三角形的所述第一密封圈(46),所述第一密封圈(46)与所述第二套筒(5)之间抵触,所述盖板(41)的内部设有导流通道(44),均匀分布的所述喷孔(45)与所述导流通道(44)导通,所述导流通道(44)的中轴线处设有半球形结构的所述分流凸起(43),所述进料阀(42)固定于所述盖板(41)延伸至所述分流凸起(43)。

3.根据权利要求1所述的一种煤化工分离塔,其特征在于:所述导流结构(7)包括排料阀(71)和导流套(72),底端为半球形结构的所述导流套(72)固定于所述固定架(1),所述排料阀(71)连接于所述导流套(72)。

4.根据权利要求3所述的一种煤化工分离塔,其特征在于:三个所述驱动结构(2)均包括导向套(21)、滑杆(22)、两个限位杆(23)、固定块(24)、电机(25)和丝杆(26),一个所述固定块(24)固定于所述第二套筒(5),另外两个所述固定块(24)固定于所述第一套筒(3),一个所述导向套(21)固定于所述第一套筒(3)与所述第二套筒(5)上的所述固定块(24)一一对应,一个所述导向套(21)固定靠近所述导流套(72)的所述第一套筒(3),另外一个所述导向套(21)固定于所述导流套(72),横截面为椭圆形的所述滑杆(22)固定于所述固定块(24)与一一对应的所述导向套(21)之间滑动连接,所述滑杆(22)的侧壁设有对称分布的半圆柱体结构的所述限位杆(23),所述限位杆(23)与所述导向套(21)之间滑动连接,所述电机(25)固定于所述导向套(21),所述丝杆(26)固定于所述电机(25),所述丝杆(26)贯穿于所述导向套(21)延伸至所述滑杆(22)的内部,所述丝杆(26)与所述导向套(21)之间转动连接,所述丝杆(26)与所述滑杆(22)之间螺纹连接。

5.根据权利要求4所述的一种煤化工分离塔,其特征在于:三个所述密封结构(9)均包括密封槽(91)、第二密封圈(92)和限位框(93),三个横截面为梯形结构的所述限位框(93)分别设于所述第二套筒(5)和两个所述第一套筒(3)的底端,横截面为“几”字形的所述第二密封圈(92)嵌入所述限位框(93)的内部,三个所述第二密封圈(92)分别与所述第一套筒(3)和所述导流套(72)抵触,三个所述限位框(93)分别与所述第一套筒(3)和所述导流套(72)抵触,且所述限位框(93)的内部设有横截面为倒纺锤形的用于水封的所述密封槽(91),三个所述水阀(6)分别贯穿于两个所述第一套筒(3)和一个所述第二套筒(5)与三个所述密封槽(91)导通。