欢迎来到知嘟嘟! 联系电话:13336804447 卖家免费入驻,海量在线求购! 卖家免费入驻,海量在线求购!
知嘟嘟
我要发布
联系电话:13336804447
知嘟嘟经纪人
收藏
专利号: 2018109090571
申请人: 遵义仁科信息技术有限公司
专利类型:发明专利
专利状态:已下证
专利领域: 道路、铁路或桥梁的建筑
更新日期:2026-03-02
缴费截止日期: 暂无
价格&联系人
年费信息
委托购买

摘要:

权利要求书:

1.防止车位锁损坏的方法,其特征在于:包括下述步骤

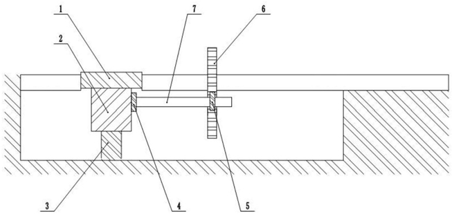
S1,第一次能量获取步骤:碾压板与车位滑动连接,滑动方向为上下,碾压板宽度大于车轮宽度,碾压板底部固接有倒放设置的液压柱,车辆后轮碾压车位碾压板,碾压板向下移动压缩碾压板下方的液压柱;

S2,传动步骤:液压柱通过大柱塞外表面的齿纹,液压柱与第一齿轮啮合,第一齿轮和第二齿轮固定连接在转动轴上,第二齿轮与第三齿轮啮合,第二齿轮与第三齿轮的齿数比值小于1;

S3,从动步骤:第三齿轮与竖直设置的伸缩齿条啮合,伸缩齿条滑动连接在车位地面上,滑动方向为竖直方向,伸缩齿条位于碾压板后方;

S4,感光步骤:第一感光元件和第二感光元件分别固定安装于车位内和车位外,第一感光元件和第二感光元件正上方均设置有LED灯,LED灯、蓄电池、光敏电阻构成一个回路,光敏电阻阻值随照射的光强度增大而增大,第一感光元件被车身遮挡时,接收不到其正上方的LED灯发出的光或太阳发出的光,第二感光元件能接收到其正上方LED灯发出的光或太阳发出的光;

S5,比较步骤:微控制器比较第一感光元件和第二感光元件各自接收到的光强度;

S6,发送执行信号步骤:第一感光元件接收到的光强度比第二感光元件接收到的光强度大,微控制器发送第一执行信号;

S7,执行步骤:第三齿轮固接在电动伸缩杆上,电动伸缩杆接收到第一执行信号,并带动第三齿轮脱离伸缩齿条。

2.根据权利要求1所述的防止车位锁损坏的方法,其特征在于:还包括下述步骤S8,第二次能量获取步骤:感应板与车位地面滑动连接,滑动方向为上下,感应板宽度大于车轮宽度,感应板位于倒车垫前方,且感应板紧靠倒车垫,车辆碾压感应板下方的支撑柱受向下的作用力,支撑柱的上半柱压缩下半柱,上半柱和下半柱之间的弹簧被压缩;

S9,联动步骤:上半柱通过杠杆机构把运动传递给伸缩挡板;伸缩挡板向上运动,伸出车位表面;

S10,固定上半柱步骤:上半柱压缩下半柱,上半柱的气体进入下半柱的弹性气囊,弹性气囊膨胀并推动下半柱内侧壁上的卡扣,卡扣伸出下半柱表面,卡扣与上半柱中的卡槽卡和;

S11,电动阀门遥控步骤:下半柱内侧壁设有出气口,出气口与弹性气囊连通,出气口上设有电动阀门,遥控器控制电动阀门的开启与闭合。

3.根据权利要求2所述的防止车位锁损坏的方法,其特征在于:S9步骤中伸缩挡板到杠杆机构支点的水平距离与上半柱到所述支点的水平距离比为3。

4.根据权利要求1所述的防止车位锁损坏的方法,其特征在于:S3步骤中伸缩齿条顶端外套有安全层。

5.根据权利要求1所述的防止车位锁损坏的方法,其特征在于:S2步骤中第二齿轮和第三齿轮齿数比为3。

6.根据权利要求2所述的防止车位锁损坏的方法,其特征在于:在步骤在S10中,上半柱开设有进气口,进气口上设有进气单向阀,进气单向阀允许进气反向为外界至上半柱内。

7.根据权利要求1所述的防止车位锁损坏的方法,其特征在于:S5步骤中微控制器为STM8单片机。