欢迎来到知嘟嘟! 联系电话:13336804447 卖家免费入驻,海量在线求购! 卖家免费入驻,海量在线求购!
知嘟嘟
我要发布
联系电话:13336804447
知嘟嘟经纪人
收藏
专利号: 2018108689218
申请人: 淮阴师范学院
专利类型:发明专利
专利状态:已下证
专利领域: 测量;测试
更新日期:2024-02-23
缴费截止日期: 暂无
价格&联系人
年费信息
委托购买

摘要:

权利要求书:

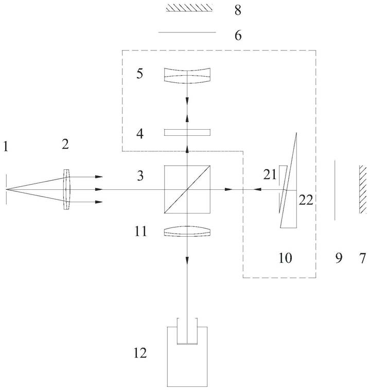
1.一种多镜面透镜组镜面间距的低相干光干涉测量装置,其特征在于,包括:

第一、第二低相干光,由分束立方棱镜将准直后的平行的低相干光分束而成,第一、第二低相干光分别由第一、第二平面反射镜反射沿原路返回,在CCD相机的接收面上会合重叠产生干涉条纹,第一、第二低相干光的透射和反射光路形成第一光路和第二光路;

第一、第二挡光板,用于打开或遮挡住所述第一、第二平面反射镜;

楔形棱镜组,由楔角相同的第一楔形棱镜和第二楔形棱镜组成,所述第一楔形棱镜和第二楔形棱镜互补放置,内部相对着的两个棱面是各自楔角相邻的棱面,所述第一楔形棱镜固定在所述第一光路中,其楔角相邻的朝外的棱面与所述分束立方棱镜相对,光束垂直入射所述楔角相邻的朝外的棱面;所述第二楔形棱镜可沿所述的楔形棱镜组内部相对着的平行的棱面内且垂直于棱的方向移动,用所述第一挡光板遮住所述第一平面反射镜后,使所述第一低相干光穿过所述第一楔形棱镜后,再入射至所述第二楔形棱镜内且仅被自身的楔角相邻的朝外的棱面反射,并沿原路返回到所述CCD相机的接收面上;

光学平行板,设置在所述第二光路中,通过所述第二挡光板遮住所述第二平面反射镜,使所述第二低相干光垂直穿过所述光学平行板后,仅被被测多镜面透镜组中各镜面反射,中心轴上光线沿原路返回到所述CCD相机的接收面上;

调整好被测多镜面透镜组至适当位置后,通过沿所述的内部相对着的平行的棱面内且垂直于棱的方向连续移动所述第二楔形棱镜,使得被测多镜面透镜组的不同镜面的反射光依次与所述第二楔形棱镜的自身的楔角相邻的朝外的棱面反射光,在CCD相机的接收面上先后产生干涉条纹,根据所述第二楔形棱镜的移动距离,计算得到被测多镜面透镜组中各对相邻镜面的间距。

2.根据权利要求1所述的装置,其特征在于,根据以下公式计算得到被测多镜面透镜组的中心轴线上各相邻镜面的间距ti,其中,ni为被测多镜面透镜组中相邻镜面间材质的折射率,np为楔形棱镜组的材质的折射率,α为楔形棱镜组的棱镜的楔角,xi,xi+1分别为所述楔形棱镜组中第二楔形棱镜沿所述楔形棱镜组内部的相对着的平行棱面内且垂直于棱的方向移动过程中,先后产生的相邻两次干涉条纹的位置读数。

3.根据权利要求1所述的装置,其特征在于,所述光学平行板与所述楔形棱镜组由相同材料制成。

4.根据权利要求1所述的装置,其特征在于,所述楔形棱镜组设置在所述第一光路中,且在远离所述分束立方棱镜的一侧放置。

5.根据权利要求1所述的装置,其特征在于,在测量起初时,所述第二光路中的被测多镜面透镜组前端镜面到所述分束立方棱镜的距离,大于所述第一光路中的楔形棱镜组的第二楔形棱镜的楔角相邻的朝外的棱面至所述分束立方棱镜的距离。

6.一种多镜面透镜组镜面间距的低相干光干涉测量方法,其特征在于,包括以下步骤:

产生第一、第二低相干光,由第一、第二平面反射镜反射并沿原路返回,在CCD相机的接收面上产生等光程干涉条纹,第一、第二低相干光的透射和反射光路形成第一光路和第二光路;

在所述的第一光路中,置入楔形棱镜组,所述楔形棱镜组由楔角相同的第一楔形棱镜和第二楔形棱镜组成,所述第一楔形棱镜和第二楔形棱镜互补放置,内部相对着的两个棱面是各自楔角相邻的棱面,所述第一楔形棱镜固定在所述第一光路中,其楔角相邻的朝外的棱面与所述分束立方棱镜相对,光束垂直入射朝外的楔角相邻的的棱面;所述第二楔形棱镜可沿所述的楔形棱镜组内部的相对着的平行的棱面内且垂直棱的方向移动;

在所述的第二光路中,靠近分束立方棱镜一侧置入补偿光程用的光学平行板,让光束垂直于光学平行板通过;

在所述的第一光路中,通过沿所述的楔形棱镜组内部相对着的平行的棱面内且垂直棱的方向移动第二楔形棱镜,仍使所述第一平面反射镜的反射光与所述第二光路中由所述第二平面反射镜反射光沿各的原路返回,在所述CCD相机接收面上会合重叠产生低相干光的等光程干涉条纹;

用所述第一挡光板遮住所述第一平面反射镜后,使所述第一路光穿过所述第一楔形棱镜后,再入射至所述第二楔形棱镜内且仅被自身的楔角相邻的朝外的棱面反射,并沿原路返回到所述CCD相机的接收面上;

在所述第二光路上放置待测多镜面透镜组,通过所述第二挡光板遮住所述第二平面反射镜,使所述第二路光穿过所述光学平行板后,仅由被测多镜面透镜组中的各镜面反射,中心轴线上的反射光沿原路返回到所述CCD相机的接收面上;

移动被测多面透镜组至适当位置后,再通过沿所述的楔形棱镜组内部相对着的平行的棱面内且垂直棱的方向移动第二楔形棱镜,使得被测多镜面透镜组的不同镜面的反射光依次与所述第二楔形棱镜的楔角相邻的朝外的棱面的反射光,在CCD相机的接收面上先后产生干涉条纹,并记录下所述第二楔形棱镜移动过程中,产生各相邻两次条纹的位置读数xi,xi+1;

根据以下公式计算得到被测多镜面透镜组的中心轴线上相邻镜面的间距ti,其中,ni为被测多镜面透镜组中相邻镜面间材质的折射率,np为楔形棱镜组的材料的折射率,α为楔形棱镜组的棱镜的楔角,xi,xi+1分别为所述第二楔形棱镜移动过程中,依次产生的相邻两次干涉条纹的位置读数。

7.根据权利要求6所述的方法,其特征在于,测量前,通过调整第一平面反射镜和第二平面反射镜的位置,使得CCD相机的接收面上能够观察到低相干光的等光程干涉条纹,通过沿所述的楔形棱镜组内部的相对着的平行的楔角相邻的棱面内且垂直于棱的方向移动第二楔形棱镜,在CCD相机接收面上观察到低相干光的等光程干涉条纹。

8.根据权利要求6所述的方法,其特征在于,在测量起初时,所述第二光路中的被测多镜面透镜组的对着分束立方棱镜的那个镜面到所述分束立方棱镜的距离,大于所述第一光路中的楔形棱镜组的第二楔形棱镜的朝外的楔角相邻的的棱面至所述分束立方棱镜的距离。

9.根据权利要求6所述的方法,其特征在于,测量过程中,所述的干涉条纹是被测多面透镜组的第一镜面、第二镜面及后续的各镜面的反射光,先后与所述第二楔形棱镜的楔角相邻的朝外的棱面的反射光,在CCD相机的接收面上重叠会合后产生的等光程干涉条纹。

10.根据权利要求6所述的方法,其特征在于,通过减小所述第一楔形棱镜和第二楔形棱镜的楔角α,提高测量精度。