欢迎来到知嘟嘟! 联系电话:13336804447 卖家免费入驻,海量在线求购! 卖家免费入驻,海量在线求购!
知嘟嘟
我要发布
联系电话:13336804447
知嘟嘟经纪人
收藏
专利号: 2018108602515
申请人: 福州智闽科技有限公司
专利类型:发明专利
专利状态:授权未缴费
专利领域: 印刷;排版机;打字机;模印机〔4〕
更新日期:2024-05-12
缴费截止日期: 暂无
价格&联系人
年费信息
委托购买

摘要:

权利要求书:

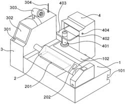
1.一种本地扫描云端审批的物联网装置,其特征在于,包括扫描台(1)、扫描装置单元(2)、控制箱(3)及印章柜(4),所述扫描台(1)设有导轨槽(101),所述印章柜(4)通过所述导轨槽(101)与所述扫描台(1)连接,并且可以沿着所述导轨槽(101)滑动;所述扫描装置单元(2)固定在所述扫描台(1)上;所述印章柜(4)内至少放置有印章(401),并通过锁止机构单元(404)限制所述印章(401)的存取或者使用;

所述控制箱(3)内设有智能控制板,所述智能控制板至少包括有主控单元(300)、身份识别装置,以及用于与云平台(501)通讯连接的通讯单元(305);

所述锁止机构单元(404)、所述通讯单元(305)与所述主控单元(300)连接;

所述扫描装置单元(2)内置有用于卡纸的滚轮,并且所述物联网装置布置有印戳记喷码装置;所述控制箱(3)上还设摄像单元(303),所述摄像单元(303)与所述主控单元(300)连接。

2.根据权利要求1所述的一种本地扫描云端审批的物联网装置,其特征在于,所述身份识别装置包括指纹识别单元(301),所述指纹识别单元(301)与所述主控单元(300)连接。

3.根据权利要求1所述的一种本地扫描云端审批的物联网装置,其特征在于,所述智能控制板还设有时钟单元(306)及存储单元(307),所述时钟单元(306)和时钟存储单元(307)与所述主控单元(300)连接。

4.根据权利要求1所述的一种本地扫描云端审批的物联网装置,其特征在于,所述控制箱(3)上设有触控屏单元(302),所述触控屏单元(302)与所述主控单元(300)连接。

5.根据权利要求1所述的一种本地扫描云端审批的物联网装置,其特征在于,所述扫描装置单元(2)至少设有入纸口(201)和控制盘(202)。

6.根据权利要求1所述的一种本地扫描云端审批的物联网装置,其特征在于,所述扫描台(1)设有盖章区(102),所述盖章区(102)设有压力检测单元(103),所述压力检测单元(103)与所述主控单元(300)连接。

7.根据权利要求1所述的一种本地扫描云端审批的物联网装置,其特征在于,所述印章(401)设有夹持套并固定于支板(403),所述支板(403)与可伸长或缩短且具有弹性的伸缩支杆(402)连接,所述伸缩支杆(402)连接设于所述印章柜(4)内壁的固定栓(405)。

8.根据权利要求7所述的一种本地扫描云端审批的物联网装置,其特征在于,所述固定栓(405)内设有弹性片组件(4050),所述弹性片组件(4050)与所述伸缩支杆(402)连接。

9.根据权利要求1所述的一种本地扫描云端审批的物联网装置,其特征在于,所述控制箱(3)设有网络接口,通过所述网络接口或者通过所述通讯单元(305)连接的天线(304)与云平台(501)连接,所述云平台(501)还连接有手机APP应用(502)。