欢迎来到知嘟嘟! 联系电话:13336804447 卖家免费入驻,海量在线求购! 卖家免费入驻,海量在线求购!
知嘟嘟
我要发布
联系电话:13336804447
知嘟嘟经纪人
收藏
专利号: 2018107950145
申请人: 浙江工业大学
专利类型:发明专利
专利状态:已下证
专利领域: 手动工具;轻便机动工具;手动器械的手柄;车间设备;机械手
更新日期:2023-08-24
缴费截止日期: 暂无
价格&联系人
年费信息
委托购买

摘要:

权利要求书:

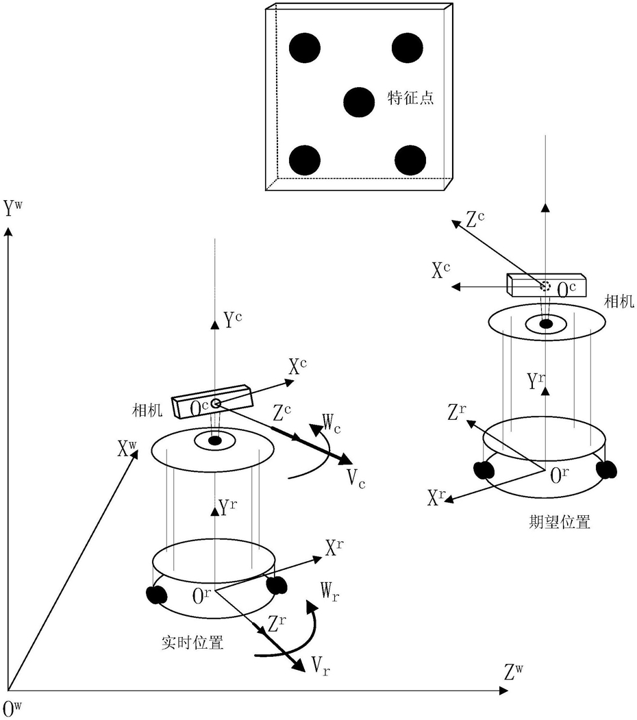
1.一种移动机器人视觉伺服跟踪预测控制方法,其特征在于,所述方法包括以下步骤:

1)建立基于视觉的移动机器人模型,定义x和y为归一化后的相机横纵坐标,zc为相机的z轴坐标,相机在相机坐标系下的速度矢量为 vc和ωc分别为移动机器人的在z轴线速度和x-z平面角速度,机器人在自身坐标系下的速度矢量为vr和ωr分别为移动机器人的参考在z轴线速度和x-z平面角速度,则基于视觉的移动机器人运动学模型为:

2)建立基于视觉的移动机器人跟踪误差模型,定义ρ1和ρ2代表特征点在像素坐标系下的实时位置定义yc是摄像机的原点到特征点的高度,对(2)式进行求导得定义(u* ,v*)是特征点在像素坐标系的期望坐标,则特征点的期望值为*定义机器人的实时角度为θ,目标角度值为θ,定义e1为对应ρ1的像素误差和e2为对应ρ2的像素误差,eθ为角度误差,误差信号表示为eθ=θ-θ*                       (4)把式(3)代入(5)中得

将式(6)进行利用采样周期T的一阶泰勒级数展开法离散化,得到模型:e(k+1)=A(ω(k))e(k)+Bu(k)                (7)其中k表示第k个采样周期, 系统矩阵 和u(k)=vc(k)是系统的输入;

定义角速度更新规则为

ωc(k+1)=0.8ωc(k)+0.06e-0.01kT              (8)由于ωc(k)是有界时变参数,将系统转化为参数不确定模型处理有界时变参数:其中 e0表示初始误差,ΔA为不确定矩阵,用以表示系统中的参数不确定性;上述系统的不确定性具有范数有界性质,能将ΔA表示为:ΔA=DF(t)E

其中

是一个时变参数矩阵,用来表示系统中的不确定信息且满足

3)定义预测性能指标函数

其中,m为控制时域,p为优化时域,Q>0和R>0表示权重矩阵,e(k+i|k)表示基于跟踪误差模型的k+i时刻的状态预测值,u(k+1|k)表示k时刻使滚动指标(10)优化的受控序列{u(k|k),u(k+1|k),......,u(k+m|k)}在k+1时刻的值,根据预测控制的特点,只有输入u(k|k)施加到系统控制中,然后到下一时刻,重新计算优化问题得到不同的受控输入序列;

定义李雅普诺夫函数V(e(k|k))=eT(k|k)Pe(k|k),则其中P是2维对称正定矩阵,即

T T

e(k+i|k) Qe(k+i|k)+u(k+i|k) Ru(k+i|k)≤-ΔV(k)    (12)根据李雅普诺夫渐近稳定性理论可知,最小化V(e(k|k))=e(k|k)TPe(k|k),P>0等价于令Q=γP-1>0,则根据Schur补定理可知,又可等价于

4)定义输入约束

||u(k)||2≤umax                     (15)其中umax表示输入的最大值,利用线性矩阵不等式方法得式(13)等价于

5)设计预测跟踪控制器

利用李雅普诺夫稳定性理论及线性矩阵不等式方法得到保证移动机器人移动到期望位置的充分条件:通过Matlab中的LMI工具箱求解得W,X,进一步得移动机器人跟踪问题反馈控制器的解为u(k)=K(k)e(k),其中,K(k)=WX-1。